TOP
|
特許
|
意匠
|
商標
特許ウォッチ
Twitter
他の特許を見る
10個以上の画像は省略されています。
公開番号
2025149872
公報種別
公開特許公報(A)
公開日
2025-10-08
出願番号
2025003309
出願日
2025-01-09
発明の名称
端末及び無線通信方法
出願人
株式会社NTTドコモ
代理人
インフォート弁理士法人
主分類
H04W
64/00 20090101AFI20251001BHJP(電気通信技術)
要約
【課題】ポジショニングの精度を向上すること。
【解決手段】本開示の一態様に係る端末は、端末測位のためのサンプルベースメジャメントに関する上位レイヤシグナリングを受信する受信部と、前記上位レイヤシグナリングに含まれる特定のパラメータの推奨値に基づいて、報告対象の値を決定する制御部と、を有し、前記制御部は、位置管理機能(LMF)が処理可能な前記特定のパラメータの推奨値を前記LMFから通知されることを想定する。
【選択図】図6
特許請求の範囲
【請求項1】
端末測位のためのサンプルベースメジャメントに関する上位レイヤシグナリングを受信する受信部と、
前記上位レイヤシグナリングに含まれる特定のパラメータの推奨値に基づいて、報告対象の値を決定する制御部と、を有し、
前記制御部は、位置管理機能(LMF)が処理可能な前記特定のパラメータの推奨値を前記LMFから通知されることを想定する端末。
続きを表示(約 650 文字)
【請求項2】
前記制御部は、タイミング報告粒度ファクタの推奨値及び特定の制限に基づいて、報告対象のタイミング報告粒度ファクタを選択する、請求項1に記載の端末。
【請求項3】
前記受信部は、前記LMFが処理可能であるか否かを示すインディケータを特定のタイミングで受信する、請求項1に記載の端末。
【請求項4】
前記受信部は、前記LMFが処理可能であるか否かを示すインディケータを受信し、
前記インディケータを受信した後、前記制御部は、前記LMFが処理可能なパラメータを適用して測定可能または測定不可能である旨の応答を送信するように制御する、請求項1に記載の端末。
【請求項5】
前記受信部は、前記LMFが処理可能であるか否かを示すインディケータを受信し、
前記制御部は、前記インディケータに基づいて前記LMFが処理可能なパラメータを適用して測定した測定値を報告できない場合、フォールバック動作を実行または要求する、請求項1に記載の端末。
【請求項6】
端末測位のためのサンプルベースメジャメントに関する上位レイヤシグナリングを受信するステップと、
前記上位レイヤシグナリングに含まれる特定のパラメータの推奨値に基づいて、報告対象の値を決定するステップと、を有し、
端末は、位置管理機能(LMF)が処理可能な前記特定のパラメータの推奨値を前記LMFから通知されることを想定する端末の無線通信方法。
発明の詳細な説明
【技術分野】
【0001】
本開示は、次世代移動通信システムにおける端末及び無線通信方法に関する。
続きを表示(約 1,900 文字)
【背景技術】
【0002】
Universal Mobile Telecommunications System(UMTS)ネットワークにおいて、更なる高速データレート、低遅延などを目的としてLong Term Evolution(LTE)が仕様化された(非特許文献1)。また、LTE(Third Generation Partnership Project(3GPP(登録商標)) Release(Rel.)8、9)の更なる大容量、高度化などを目的として、LTE-Advanced(3GPP Rel.10-14)が仕様化された。
【0003】
LTEの後継システム(例えば、5th generation mobile communication system(5G)、5G+(plus)、6th generation mobile communication system(6G)、New Radio(NR)、3GPP Rel.15以降などともいう)も検討されている。
【先行技術文献】
【非特許文献】
【0004】
3GPP TS 36.300 V8.12.0 “Evolved Universal Terrestrial Radio Access (E-UTRA) and Evolved Universal Terrestrial Radio Access Network (E-UTRAN); Overall description; Stage 2 (Release 8)”、2010年4月
【発明の概要】
【発明が解決しようとする課題】
【0005】
無線通信システムにおいて、Artificial Intelligence/Machine Learning(AI/ML)技術を利用した端末の測位(ポジショニング)が検討されている。
【0006】
ところで、AI技術を利用したポジショニング(AIベースドポジショニングと呼ばれてもよい)向けの規定について、検討が十分でないケースが存在し得る。これらが明確でないと、AIベースドポジショニングの手順が適切に実行されず、測位精度に影響を与えるおそれがある。その結果、通信のスループット/品質に影響を与えるおそれがある。
【0007】
そこで、本開示は、ポジショニングの精度を向上することができる端末及び無線通信方法を提供することを目的の1つとする。
【課題を解決するための手段】
【0008】
本開示の一態様に係る端末は、端末測位のためのサンプルベースメジャメントに関する上位レイヤシグナリングを受信する受信部と、前記上位レイヤシグナリングに含まれる特定のパラメータの推奨値に基づいて、報告対象の値を決定する制御部と、を有し、前記制御部は、位置管理機能(LMF)が処理可能な前記特定のパラメータの推奨値を前記LMFから通知されることを想定する。
【発明の効果】
【0009】
本開示の一態様によれば、ポジショニングの精度を向上することができる。
【図面の簡単な説明】
【0010】
図1は、AIモデルを用いた処理の例を示す図である。
図2は、AIモデル(AI/MLモデル)の一例を示す図である。
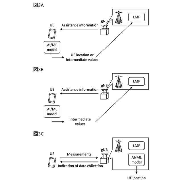
図3Aから図3Cは、DL信号を利用したポジショニングのバリエーションを示す図である。
図4A及び図4Bは、UL信号を利用したポジショニングのバリエーションを示す図である。
図5は、ポジショニングのサンプルベースメジャメントの一例を示す図である。
図6Aから図6Dは、報告対象のk(タイミング報告粒度ファクタ)の選択方法のバリエーションを示す図である。
図7は、本開示の上位レイヤパラメータ(LPP)に含まれる情報要素の一例を示す図である。
図8は、一実施形態に係る無線通信システムの概略構成の一例を示す図である。
図9は、一実施形態に係る基地局の構成の一例を示す図である。
図10は、一実施形態に係るユーザ端末の構成の一例を示す図である。
図11は、一実施形態に係る基地局及びユーザ端末のハードウェア構成の一例を示す図である。
図12は、一実施形態に係る車両の一例を示す図である。
【発明を実施するための形態】
(【0011】以降は省略されています)
この特許をJ-PlatPat(特許庁公式サイト)で参照する
関連特許
サクサ株式会社
中継装置
6日前
サクサ株式会社
中継装置
5日前
アイホン株式会社
電気機器
27日前
サクサ株式会社
無線通信装置
5日前
サクサ株式会社
無線通信装置
5日前
個人
ワイヤレスイヤホン対応耳掛け
25日前
サクサ株式会社
無線システム
4日前
キヤノン株式会社
撮像システム
27日前
個人
発信機及び発信方法
4日前
沖電気工業株式会社
画像形成装置
7日前
有限会社フィデリックス
マイクロフォン
11日前
沖電気工業株式会社
画像形成装置
15日前
株式会社JVCケンウッド
通信システム
11日前
大日本印刷株式会社
写真撮影装置
26日前
日本無線株式会社
無線通信システム
19日前
ダイハツ工業株式会社
人流取得装置
5日前
個人
回動アームを構築する関節モジュール
7日前
日本信号株式会社
可視光通信システム
15日前
株式会社村田製作所
高周波回路
5日前
株式会社デンソー
車載システム
5日前
日本放送協会
広視野角撮像装置
15日前
日本放送協会
広視野角撮像装置
15日前
洋也株式会社
電子機器
7日前
株式会社デンソー
車載システム
5日前
株式会社国際電気
カメラシステム
7日前
アイホン株式会社
インターホンシステム
5日前
キヤノン株式会社
電子機器
19日前
キヤノン株式会社
電子機器
19日前
アイホン株式会社
インターホンシステム
5日前
キヤノン株式会社
電子機器
15日前
株式会社JVCケンウッド
運転支援装置
11日前
株式会社国際電気
カメラシステム
27日前
株式会社東芝
放送バンクシステム
15日前
株式会社デンソー
無線通信システム
5日前
ソフトバンク株式会社
通信システム
6日前
日本電気株式会社
通信装置および通信方法
11日前
続きを見る
他の特許を見る