TOP
|
特許
|
意匠
|
商標
特許ウォッチ
Twitter
他の特許を見る
10個以上の画像は省略されています。
公開番号
2025149760
公報種別
公開特許公報(A)
公開日
2025-10-08
出願番号
2024050587
出願日
2024-03-26
発明の名称
放射線撮影装置
出願人
キヤノン株式会社
代理人
個人
,
個人
,
個人
,
個人
,
個人
主分類
G01T
7/00 20060101AFI20251001BHJP(測定;試験)
要約
【課題】 持ち易い放射線撮影装置を提供する。
【解決手段】 放射線撮影装置は、放射線を検出する放射線検出パネルと、前記放射線検出パネルを収容する筐体であって、前記放射線検出パネルに前記放射線を入射させるための前面部と、前記前面部とは反対側に位置する背面部と、を備える筐体と、を有し、前記背面部は、前記前面部の側に向かって窪んだ把持部を備え、前記把持部は、前記背面部の外周を四辺形状としてみたときの第1の辺に沿って延びる第1の把持領域および第2の把持領域を備え、前記第1の把持領域は前記第1の辺の中央位置と隣接する領域であり、前記第2の把持領域は前記第1の辺の中央位置と隣接しない領域であり、前記第1の把持領域の窪みの深さは前記第2の把持領域の窪みの深さよりも深い。
【選択図】 図7
特許請求の範囲
【請求項1】
放射線を検出する放射線検出パネルと、
前記放射線検出パネルを収容する筐体であって、前記放射線検出パネルに前記放射線を入射させるための前面部と、前記前面部とは反対側に位置する背面部と、を備える筐体と、を有し、
前記背面部は、前記前面部の側に向かって窪んだ把持部を備え、
前記把持部は、前記背面部の外周を四辺形状としてみたときの第1の辺に沿って延びる第1の把持領域および第2の把持領域を備え、
前記第1の把持領域は前記第1の辺の中央位置と隣接する領域であり、前記第2の把持領域は前記第1の辺の中央位置と隣接しない領域であり、
前記第1の把持領域の窪みの深さは前記第2の把持領域の窪みの深さよりも深いことを特徴とする放射線撮影装置。
続きを表示(約 1,000 文字)
【請求項2】
前記第1の辺に隣接する第2の辺に沿って延びる第3の把持領域および第4の把持領域を備え、
前記第3の把持領域は前記第2の辺の中央位置と隣接する領域であり、前記第4の把持領域は前記第2の辺の中央位置と隣接しない領域であり、
前記第3の把持領域の窪みの深さは前記第4の把持領域の窪みの深さよりも深いことを特徴とする請求項1に記載の放射線撮影装置。
【請求項3】
前記第1の辺に対向する第2の辺に沿って延びる第3の把持領域および第4把持領域を備え、
前記第3の把持領域は前記第2の辺の中央位置と隣接する領域であり、前記第4の把持領域は前記第2の辺の中央位置と隣接しない領域であり、
前記第3の把持領域の窪みの深さは前記第4の把持領域の窪みの深さよりも深いことを特徴とする請求項1に記載の放射線撮影装置。
【請求項4】
前記把持部は、前記四辺形状のうちの第2の辺に沿って延びる把持領域と、前記四辺形状のうちの第3の辺に沿って延びる把持領域と、前記四辺形状のうちの第4の辺に沿って延びる把持領域と、を備えることを特徴とする請求項1に記載の放射線撮影装置。
【請求項5】
前記第2の把持領域は、前記第1の辺に隣接する第2の辺に沿って延びる領域を更に備えることを特徴とする請求項1に記載の放射線撮影装置。
【請求項6】
前記第1の辺に沿って延びる第3の把持領域であって、前記第1の把持領域を間に挟んで前記第2の把持領域の反対側に位置する第3の把持領域を備えることを特徴とする請求項1に記載の放射線撮影装置。
【請求項7】
前記第1の把持領域の深さは5mm以上であり、前記第2の把持領域の深さは5mm以下であることを特徴とする請求項1乃至6のいずれか1項に記載の放射線撮影装置。
【請求項8】
前記第1の把持領域の前記第1の辺に対する最寄りの端部と前記背面部の主要面とが成す角度は90°から120°の間であることを特徴とする請求項1乃至7のいずれか1項に記載の放射線撮影装置。
【請求項9】
前記第1の把持領域と前記第2の把持領域は連結した領域であることを特徴とする請求項1乃至8のいずれか1項に記載の放射線撮影装置。
【請求項10】
前記第1の把持領域と前記第2の把持領域は独立した領域であることを特徴とする請求項1乃至9のいずれか1項に記載の放射線撮影装置。
(【請求項11】以降は省略されています)
発明の詳細な説明
【技術分野】
【0001】
本発明は放射線撮影装置に関する。放射線撮影装置(放射線撮像装置、放射線検出装置、医療機器)は、工業用の非破壊検査や医療診断の場で用いられ得る。放射線撮影装置は、例えば平面検出器(Flat Panel Detector:FPD)である。
続きを表示(約 1,500 文字)
【背景技術】
【0002】
従来より、被検体を透過した放射線の強度分布を検出して対象物の放射線画像を放射線撮影装置が知られている。
【0003】
このような放射線撮影装置の一形態として、迅速かつ広範囲な部位の撮影を可能にするため、薄型で軽量な可搬型の装置、いわゆる電子カセッテが開発されている。特に近年では、可搬性を向上させるために、ケーブル接続のいらないワイヤレスタイプの放射線撮影装置が開発されている。
【0004】
特許文献1に記載の放射線撮影装置は、筐体の背面に窪み形状の把持部を設けることで指をかけることを可能にし、放射線撮影装置の持ち易さを向上させている。
【先行技術文献】
【特許文献】
【0005】
特開2022-121107号公報
【発明の概要】
【発明が解決しようとする課題】
【0006】
ところで、特許文献1に記載の放射線撮影装置は、持ち易さの観点で改善の余地がある。放射線撮影装置は、様々な環境において様々な被写体の撮影に用いられるため、様々な持ち方で使用され得る。そのため、様々な持ち方における指の届く位置を考慮して把持部を形成することで、装置を持ち易くすることが望ましい。
【0007】
本発明の目的は、持ち易い放射線撮影装置を提供することである。
【課題を解決するための手段】
【0008】
上記目的を達成するために、本発明に係る放射線撮影装置は、放射線を検出する放射線検出パネルと、前記放射線検出パネルを収容する筐体であって、前記放射線検出パネルに前記放射線を入射させるための前面部と、前記前面部とは反対側に位置する背面部と、を備える筐体と、を有し、前記背面部は、前記前面部の側に向かって窪んだ把持部を備え、
前記把持部は、前記背面部の外周を四辺形状としてみたときの第1の辺に沿って延びる第1の把持領域および第2の把持領域を備え、前記第1の把持領域は前記第1の辺の中央位置と隣接する領域であり、前記第2の把持領域は前記第1の辺の中央位置と隣接しない領域であり、前記第1の把持領域の窪みの深さは前記第2の把持領域の窪みの深さよりも深いことを特徴とする。
【発明の効果】
【0009】
本発明によれば、持ちやすい放射線撮影装置を提供できる。
【図面の簡単な説明】
【0010】
図1(a)は、放射線撮影装置を入射面側から見た様子を示す図である。図1(b)は放射線撮影装置を背面側から見た様子を示す図である。
放射線撮影装置の構成をA-A断面で示す図である。
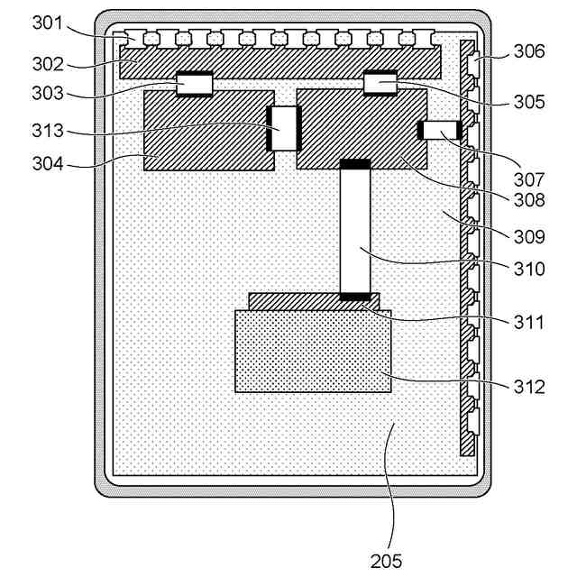
放射線撮影装置の内部構成を背面側から示す図である。
放射線撮影装置の構成をB-B断面で示す図である。
図5(a)は深い凹部に指をかけた様子を示す図である。図5(b)は浅い凹部に指をかけた様子を示す図である。
放射線撮影装置を背面側から見た様子を示す図である。
放射線撮影装置を背面側から見た様子を示す図である。
放射線撮影装置の構成をC-C断面で示す図である。
放射線撮影装置を背面側から見た様子を示す図である。
放射線撮影装置を背面側から見た様子を示す図である。
放射線撮影装置の構成をD-D断面で示す図である。
図12(a)は把持部の断面形状の一例を示す図である。図12(b)は把持部の断面形状の一例を示す図である。図12(c)は把持部の断面形状の一例を示す図である。
放射線撮像システムの構成を示す図である。
【発明を実施するための形態】
(【0011】以降は省略されています)
この特許をJ-PlatPat(特許庁公式サイト)で参照する
関連特許
キヤノン株式会社
トナー
今日
キヤノン株式会社
トナー
今日
キヤノン株式会社
トナー
5日前
キヤノン株式会社
トナー
今日
キヤノン株式会社
光学装置
1か月前
キヤノン株式会社
定着装置
19日前
キヤノン株式会社
撮像装置
5日前
キヤノン株式会社
記録装置
5日前
キヤノン株式会社
電子機器
7日前
キヤノン株式会社
電子機器
9日前
キヤノン株式会社
発光装置
12日前
キヤノン株式会社
表示装置
12日前
キヤノン株式会社
定着装置
13日前
キヤノン株式会社
電子機器
13日前
キヤノン株式会社
電子機器
13日前
キヤノン株式会社
撮像装置
13日前
キヤノン株式会社
撮像装置
19日前
キヤノン株式会社
電子機器
1か月前
キヤノン株式会社
記録装置
20日前
キヤノン株式会社
撮像装置
1日前
キヤノン株式会社
記録装置
21日前
キヤノン株式会社
電子機器
21日前
キヤノン株式会社
撮像装置
21日前
キヤノン株式会社
定着装置
28日前
キヤノン株式会社
定着装置
28日前
キヤノン株式会社
定着装置
28日前
キヤノン株式会社
電子機器
28日前
キヤノン株式会社
撮像装置
1か月前
キヤノン株式会社
電子機器
1か月前
キヤノン株式会社
撮像装置
1か月前
キヤノン株式会社
撮像装置
20日前
キヤノン株式会社
収容装置
13日前
キヤノン株式会社
現像剤容器
6日前
キヤノン株式会社
光学センサ
今日
キヤノン株式会社
モジュール
今日
キヤノン株式会社
半導体装置
7日前
続きを見る
他の特許を見る