TOP
|
特許
|
意匠
|
商標
特許ウォッチ
Twitter
他の特許を見る
10個以上の画像は省略されています。
公開番号
2025147475
公報種別
公開特許公報(A)
公開日
2025-10-07
出願番号
2024047735
出願日
2024-03-25
発明の名称
パラレルリンク機構およびリンク作動装置
出願人
NTN株式会社
代理人
弁理士法人深見特許事務所
主分類
F16H
21/48 20060101AFI20250930BHJP(機械要素または単位;機械または装置の効果的機能を生じ維持するための一般的手段)
要約
【課題】調整作業が容易なパラレルリンク機構およびリンク作動装置を提供する。
【解決手段】パラレルリンク機構は、基端側リンクハブ、軸部材、3つ以上の回転体、3つ以上のリンク機構、先端側リンクハブとを備える。回転体は回転中心軸が一致するように並んで配置された状態で、軸部材によって回転中心軸周りに基端側リンクハブに連結されている。リンク機構の第1リンク部材は回転体のうちの1つに固定されている。第1リンク部材は第1回転対偶部において第2リンク部材に回転可能に連結されており、第2リンク部材は第2回転対偶部において先端側リンクハブに回転可能に連結されている。第1回転対偶部の第1回転軸及び第2回転対偶部の第2回転軸と、回転体の回転中心軸とは、球面リンク中心点で交わっている。先端側リンクハブの取付部は、作業体の作用点が球面リンク中心点と一致するように作業体の位置を調整可能である。
【選択図】図1
特許請求の範囲
【請求項1】
作業体が搭載されるパラレルリンク機構であって、
基端側リンクハブと、
軸部材と、
3つ以上の回転体と、
3つ以上のリンク機構と、
先端側リンクハブとを備え、
前記3つ以上の回転体は、それぞれの回転中心軸が一致するように並んで配置された状態で、前記軸部材によって、前記回転中心軸周りに回転可能に前記基端側リンクハブに連結されており、
前記3つ以上のリンク機構の各々は、第1リンク部材と、第2リンク部材とを含み、
前記3つ以上のリンク機構の各々の前記第1リンク部材は、前記3つ以上の回転体のうちの1つに固定されており、
前記3つ以上のリンク機構の各々において、前記第2リンク部材は、第1回転対偶部において前記第1リンク部材に回転可能に連結されているとともに、第2回転対偶部において前記先端側リンクハブに回転可能に連結されており、
前記3つ以上のリンク機構の各々の前記第1回転対偶部の第1回転軸及び前記第2回転対偶部の第2回転軸と、前記3つ以上の回転体の前記回転中心軸とは、球面リンク中心点で交わっており、
前記先端側リンクハブは、前記作業体が取り付けられる取付部を含み、
前記取付部は、前記作業体の作用点が前記球面リンク中心点と一致するように前記作業体の位置を調整可能である、パラレルリンク機構。
続きを表示(約 1,800 文字)
【請求項2】
前記取付部に取り付けられている前記作業体をさらに備え、
前記作業体の作用点が前記球面リンク中心点と一致している、請求項1に記載のパラレルリンク機構。
【請求項3】
前記先端側リンクハブは、前記球面リンク中心点側を向いている第1面を有しており、
前記先端側リンクハブには、前記第1面に開口する貫通孔あるいは凹部が形成されており、
前記取付部は、少なくとも一部が前記貫通孔に通される前記作業体を保持するように設けられている、請求項1に記載のパラレルリンク機構。
【請求項4】
基端側リンクハブと、
軸部材と、
3つ以上の回転体と、
3つ以上のリンク機構と、
先端側リンクハブと、
前記先端側リンクハブに取り付けられている作業体とを備え、
前記3つ以上の回転体は、それぞれの回転中心軸が一致するように並んで配置された状態で、前記軸部材によって、前記回転中心軸周りに回転可能に前記基端側リンクハブに連結されており、
前記3つ以上のリンク機構の各々は、第1リンク部材と、第2リンク部材とを含み、
前記3つ以上のリンク機構の各々の前記第1リンク部材は、前記3つ以上の回転体のうちの1つに固定されており、
前記3つ以上のリンク機構の各々において、前記第2リンク部材は、第1回転対偶部において前記第1リンク部材に回転可能に連結されているとともに、第2回転対偶部において前記先端側リンクハブに回転可能に連結されており、
前記3つ以上のリンク機構の各々の前記第1回転対偶部の第1回転軸及び前記第2回転対偶部の第2回転軸と、前記3つ以上の回転体の前記回転中心軸とは、球面リンク中心点で交わっており、
前記作業体の作用点が前記球面リンク中心点と一致している、パラレルリンク機構。
【請求項5】
前記先端側リンクハブは、前記球面リンク中心点側を向いている第1面を有しており、
前記先端側リンクハブには、前記第1面に開口する貫通孔あるいは凹部が形成されており、
前記作業体の少なくとも一部は、前記貫通孔に通されている、請求項4に記載のパラレルリンク機構。
【請求項6】
前記3つ以上のリンク機構の各々の前記第2回転対偶部の少なくとも一部は、前記第1面と直交する方向において、前記第1面よりも前記球面リンク中心点側に配置されている、請求項3または5に記載のパラレルリンク機構。
【請求項7】
前記作業体は、光学センサであり、
前記作用点としての前記光学センサの焦点が前記球面リンク中心点と一致可能である、請求項1又は4に記載のパラレルリンク機構。
【請求項8】
前記3つ以上の回転体は、第1回転体と、第2回転体とを有し、
前記回転中心軸に沿った方向において前記第1回転体と前記基端側リンクハブとの間に配置されている第1回転伝達部材と、
前記第1回転体と前記第1回転伝達部材とを連結する第1連結部材と、
前記回転中心軸に沿った方向において前記第2回転体と前記基端側リンクハブとの間に配置されている第2回転伝達部材と、
前記第2回転体と前記第2回転伝達部材とを連結する第2連結部材とをさらに備え、
前記第1回転体、前記第2回転体、前記第2回転伝達部材、及び前記第1回転伝達部材は、前記回転中心軸に沿った方向において順に並んで配置されており、
前記軸部材、前記第1連結部材、及び前記第2連結部材は、前記回転中心軸に対する径方向において順に並んで配置されている、請求項1又は4に記載のパラレルリンク機構。
【請求項9】
請求項1又は4に記載のパラレルリンク機構と、
前記3つ以上の回転体中の第1回転体を前記回転中心軸周りに回転させる第1駆動源と、
前記3つ以上の回転体中の第2回転体を前記回転中心軸周りに回転させる第2駆動源とを備える、リンク作動装置。
【請求項10】
請求項8に記載のパラレルリンク機構と、
前記第1回転伝達部材を介して前記第1回転体を前記回転中心軸周りに回転させる第1駆動源と、
前記第2回転伝達部材を介して前記第2回転体を前記回転中心軸周りに回転させる第2駆動源とを備える、リンク作動装置。
発明の詳細な説明
【技術分野】
【0001】
本開示は、パラレルリンク機構およびリンク作動装置に関する。
続きを表示(約 1,800 文字)
【背景技術】
【0002】
従来、各種装置に用いられるパラレルリンク機構が知られている。例えば特開2020-153494号公報(特許文献1)に記載のパラレルリンク機構は、基端側リンクハブと、先端側リンクハブと、複数のリンク機構とを備えている。
【先行技術文献】
【特許文献】
【0003】
特開2020-153494号公報
【発明の概要】
【発明が解決しようとする課題】
【0004】
各種装置において、作業を行う作業体は、パラレルリンク機構の先端側リンクハブに取り付けられる。従来のパラレルリンク機構では、作業体の動作の調整作業の容易性という観点において改善の余地がある。本開示では、パラレルリンク機構及びリンク作動装置に関し調整作業を容易とするための技術が提案される。
【課題を解決するための手段】
【0005】
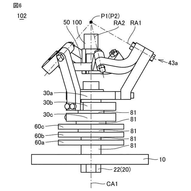
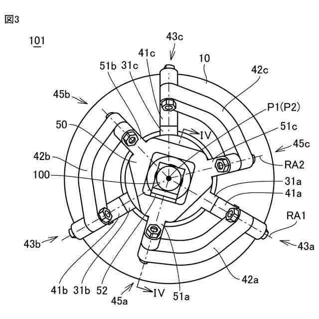
本開示の一実施の形態に係るパラレルリンク機構は、作業体が搭載されるパラレルリンク機構である。パラレルリンク機構は、基端側リンクハブと、軸部材と、3つ以上の回転体と、3つ以上のリンク機構と、先端側リンクハブとを備える。3つ以上の回転体は、それぞれの回転中心軸が一致するように並んで配置された状態で、軸部材によって、回転中心軸周りに回転可能に基端側リンクハブに連結されている。3つ以上のリンク機構の各々は、第1リンク部材と、第2リンク部材とを含む。3つ以上のリンク機構の各々の第1リンク部材は、3つ以上の回転体のうちの1つに固定されている。3つ以上のリンク機構の各々において、第1リンク部材は、第1回転対偶部において第2リンク部材に回転可能に連結されており、第2リンク部材は、第2回転対偶部において先端側リンクハブに回転可能に連結されている。3つ以上のリンク機構の各々の第1回転対偶部の第1回転軸及び第2回転対偶部の第2回転軸と、3つ以上の回転体の回転中心軸とは、球面リンク中心点で交わっている。先端側リンクハブは、作業体が取り付けられる取付部を含む。取付部は、作業体の作用点が球面リンク中心点と一致するように作業体の位置を調整可能である。
【0006】
上記パラレルリンク機構は、取付部に取り付けられている作業体をさらに備えていてもよい。作業体の作用点は、球面リンク中心点と一致している。
【0007】
上記パラレルリンク機構において、先端側リンクハブは、球面リンク中心点側を向いている第1面を有していてもよい。先端側リンクハブには、第1面に開口する貫通孔が形成されていてもよい。取付部は、少なくとも一部が貫通孔に通される作業体を保持するように設けられていてもよい。
【0008】
本開示の他の一実施の形態に係るパラレルリンク機構は、基端側リンクハブと、軸部材と、3つ以上の回転体と、3つ以上のリンク機構と、先端側リンクハブと、先端側リンクハブに取り付けられている作業体とを備える。3つ以上の回転体は、それぞれの回転中心軸が一致するように並んで配置された状態で、軸部材によって、回転中心軸周りに回転可能に基端側リンクハブに連結されている。3つ以上のリンク機構の各々は、第1リンク部材と、第2リンク部材とを含む。3つ以上のリンク機構の各々の第1リンク部材は、3つ以上の回転体のうちの1つに固定されている。3つ以上のリンク機構の各々において、第1リンク部材は、第1回転対偶部において第2リンク部材に回転可能に連結されており、第2リンク部材は、第2回転対偶部において先端側リンクハブに回転可能に連結されている。3つ以上のリンク機構の各々の第1回転対偶部の第1回転軸及び第2回転対偶部の第2回転軸と、3つ以上の回転体の回転中心軸とは、球面リンク中心点で交わっている。作業体の作用点が球面リンク中心点と一致している。
【0009】
上記パラレルリンク機構において、先端側リンクハブは、球面リンク中心点側を向いている第1面を有していてもよい。先端側リンクハブには、第1面に開口する貫通孔が形成されていてもよい。作業体の少なくとも一部は、貫通孔に通されていてもよい。
【0010】
上記パラレルリンク機構において、3つ以上のリンク機構の各々の第2回転対偶部の少なくとも一部は、第1面と直交する方向において、第1面よりも球面リンク中心点側に配置されていてもよい。
(【0011】以降は省略されています)
この特許をJ-PlatPat(特許庁公式サイト)で参照する
関連特許
NTN株式会社
焼成軸受
16日前
NTN株式会社
焼成軸受
16日前
NTN株式会社
焼入れ方法
3日前
NTN株式会社
ボールねじ
4日前
NTN株式会社
円すいころ軸受
4日前
NTN株式会社
ボールねじ装置
4日前
NTN株式会社
ボールねじ装置
4日前
NTN株式会社
密封装置付き軸受
1日前
NTN株式会社
転がり軸受の設計方法
9日前
NTN株式会社
ブーツ付等速自在継手
29日前
NTN株式会社
環状部品の抜け止め構造
4日前
NTN株式会社
等速自在継手の外側継手部材
29日前
NTN株式会社
転がり軸受の耐電食性能評価方法
9日前
NTN株式会社
転がり軸受の耐電食性能評価方法
9日前
NTN株式会社
損傷状態診断システムおよび損傷状態診断方法
11日前
NTN株式会社
車輪用軸受装置
9日前
個人
留め具
25日前
個人
鍋虫ねじ
2か月前
個人
紛体用仕切弁
2か月前
個人
回転伝達機構
3か月前
個人
差動歯車用歯形
4か月前
個人
給排気装置
1か月前
個人
ジョイント
1か月前
個人
ナット
1か月前
株式会社不二工機
電磁弁
4か月前
個人
ナット
3日前
個人
地震の揺れ回避装置
3か月前
個人
吐出量監視装置
2か月前
カヤバ株式会社
緩衝器
1か月前
カヤバ株式会社
緩衝器
4か月前
カヤバ株式会社
緩衝器
4か月前
カヤバ株式会社
ダンパ
4か月前
柿沼金属精機株式会社
分岐管
2か月前
兼工業株式会社
バルブ
4日前
カヤバ株式会社
ダンパ
4か月前
アズビル株式会社
回転弁
1か月前
続きを見る
他の特許を見る