TOP
|
特許
|
意匠
|
商標
特許ウォッチ
Twitter
他の特許を見る
公開番号
2025145280
公報種別
公開特許公報(A)
公開日
2025-10-03
出願番号
2024045374
出願日
2024-03-21
発明の名称
インジェクタ故障検出装置
出願人
Astemo株式会社
代理人
弁理士法人志賀国際特許事務所
主分類
F02D
41/22 20060101AFI20250926BHJP(燃焼機関;熱ガスまたは燃焼生成物を利用する機関設備)
要約
【課題】複数個所の故障の検出漏れを抑制することが可能なインジェクタ故障検出装置を提供する。
【解決手段】インジェクタ駆動回路に関する複数の状態信号に基づいてインジェクタ駆動回路に関する複数個所の故障検出を行うインジェクタ故障検出装置であって、複数の状態信号について、検知無効時間を細かく設定し、かつ複数回に亘って故障検知を行う検知部を備える。
【選択図】図1
特許請求の範囲
【請求項1】
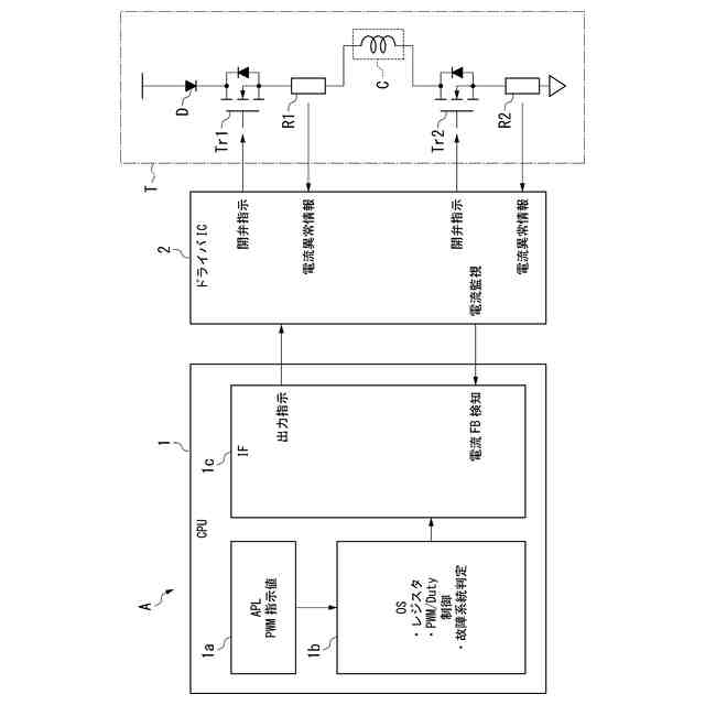
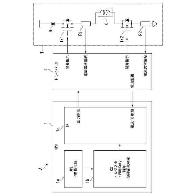
インジェクタ駆動回路に関する複数の状態信号に基づいて前記インジェクタ駆動回路に関する複数個所の故障検出を行うインジェクタ故障検出装置であって、
複数の前記状態信号について、検知無効時間を細かく設定し、かつ複数回に亘って故障検知を行う検知部を備えることを特徴とするインジェクタ故障検出装置。
続きを表示(約 170 文字)
【請求項2】
前記検知部は、故障を検出すると、故障個所の動作を停止させた上で複数回に亘る故障検知を行うことを特徴とする請求項1に記載のインジェクタ故障検出装置。
【請求項3】
前記検知部は、予め設定された所定の時間間隔で複数回に亘る故障検知を行うことを特徴とする請求項1又は2に記載のインジェクタ故障検出装置。
発明の詳細な説明
【技術分野】
【0001】
本発明は、インジェクタ故障検出装置に関する。
続きを表示(約 1,200 文字)
【背景技術】
【0002】
下記特許文献1には、インジェクタの駆動時に複数の圧力センサを使用し圧力を監視することによりインジェクタの故障検出を実施する背景技術が開示されている。この背景技術は、インジェクタの駆動時に検出範囲の異なる圧力センサを3系統使用し、インジェクタの動作に合わせて変動する圧力に基づいてインジェクタの故障を判定する。
【先行技術文献】
【特許文献】
【0003】
特開2007-056654号公報
【発明の概要】
【発明が解決しようとする課題】
【0004】
ところで、例えばインジェクタの駆動に関する複数個所の故障を検知する場合、各箇所の状態を示す複数の状態信号を並行して評価する必要がある。この場合、各箇所の故障はランダムに発生する虞があるので、状態信号を評価する評価装置は、複数の状態信号を所定の順番で順次取り込んで評価することにより、故障発生の見逃しを防止する必要がある。
【0005】
しかしながら、上述した背景技術では、3つの圧力センサの検出信号(状態信号)を所定の順番で順次取り込んで評価するに際して、検出信号(状態信号)を取り込むと当該検出信号の評価期間が必要な関係で、次の検出信号(状態信号)を正常に評価することができない虞がある。
【0006】
本発明は、上述した事情に鑑みてなされたものであり、複数個所の故障の検出漏れを抑制することが可能なインジェクタ故障検出装置の提供を目的とする。
【課題を解決するための手段】
【0007】
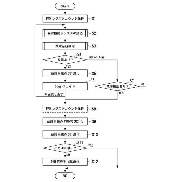
上記目的を達成するために、本発明では、インジェクタ故障検出装置に係る第1の解決手段として、インジェクタ駆動回路に関する複数の状態信号に基づいて前記インジェクタ駆動回路に関する複数個所の故障検出を行うインジェクタ故障検出装置であって、複数の前記状態信号について、検知無効時間を細かく設定し、かつ複数回に亘って故障検知を行う検知部を備える、という手段を採用する。
【0008】
本発明では、インジェクタ故障検出装置に係る第2の解決手段として、上記第1の解決手段において、前記検知部は、故障を検出すると、故障個所の動作を停止させた上で複数回に亘る故障検知を行う、という手段を採用する。
【0009】
本発明では、インジェクタ故障検出装置に係る第3の解決手段として、上記第1又は第2の解決手段において、前記検知部は、予め設定された所定の時間間隔で複数回に亘る故障検知を行う、という手段を採用する。
【発明の効果】
【0010】
本発明によれば、複数個所の故障の検出漏れを抑制することが可能なインジェクタ故障検出装置を提供することが可能である。
【図面の簡単な説明】
(【0011】以降は省略されています)
この特許をJ-PlatPat(特許庁公式サイト)で参照する
関連特許
Astemo株式会社
樹脂筐体
3日前
Astemo株式会社
電動駆動装置
3日前
Astemo株式会社
電圧検出装置
1日前
Astemo株式会社
電池監視装置
3日前
Astemo株式会社
電動モータ装置
2日前
Astemo株式会社
電池管理システム
1日前
Astemo株式会社
緩衝装置、懸架装置
3日前
Astemo株式会社
インジェクタ駆動装置
1日前
Astemo株式会社
回転電機のロータ構造
1日前
Astemo株式会社
放電装置及び電力変換装置
2日前
Astemo株式会社
インジェクタ故障検出装置
1日前
Astemo株式会社
温度検出装置及び電圧検出装置
1日前
Astemo株式会社
ナット部材、緩衝装置、加圧工具
2日前
Astemo株式会社
電池監視装置及び電池管理システム
3日前
Astemo株式会社
電池監視装置及び電池管理システム
1日前
Astemo株式会社
車両制御装置及びセンサデータ処理方法
3日前
Astemo株式会社
半導体装置
1日前
Astemo株式会社
被牽引車用制御装置及び被牽引車バッテリ充電率調整システム
1日前
トヨタ自動車株式会社
車両
26日前
トヨタ自動車株式会社
車両
1か月前
トヨタ自動車株式会社
車両
29日前
ダイハツ工業株式会社
車両
24日前
ダイハツ工業株式会社
制御装置
23日前
ダイハツ工業株式会社
制御装置
23日前
スズキ株式会社
車両の制御装置
17日前
ダイハツ工業株式会社
制御装置
23日前
スズキ株式会社
内燃機関の制御装置
26日前
トヨタ自動車株式会社
内燃機関
15日前
個人
疑似可変サイクルジェットエンジン機構
1か月前
トヨタ自動車株式会社
車両の制御装置
15日前
株式会社SUBARU
エンジン制御装置
17日前
株式会社SUBARU
エンジン制御装置
23日前
個人
流体式推力方向制御装置
5日前
トヨタ自動車株式会社
内燃機関の制御装置
26日前
株式会社IHI原動機
脈動減衰装置
15日前
朝日電装株式会社
スロットルグリップ装置
5日前
続きを見る
他の特許を見る