TOP
|
特許
|
意匠
|
商標
特許ウォッチ
Twitter
他の特許を見る
10個以上の画像は省略されています。
公開番号
2025145069
公報種別
公開特許公報(A)
公開日
2025-10-03
出願番号
2024045051
出願日
2024-03-21
発明の名称
アルペジオ生成方法、プログラム、情報処理装置、電子楽器及び電子楽器システム
出願人
カシオ計算機株式会社
代理人
弁理士法人光陽国際特許事務所
主分類
G10H
1/28 20060101AFI20250926BHJP(楽器;音響)
要約
【課題】簡単に楽曲の調に合ったアルペジオデータを生成できるようにする。
【解決手段】情報処理装置の制御部は、演奏対象の楽曲データにおける調性情報及び演奏者により発音操作された操作子の操作情報に基づいて、アルペジオの構成音を決定し、決定された前記アルペジオの構成音に基づいてアルペジオデータを生成する。そして、制御部は、生成したアルペジオデータに基づいて出力部にアルペジオを出力させる。
【選択図】図5
特許請求の範囲
【請求項1】
コンピュータが、
演奏対象の楽曲データにおける調性情報及び演奏者により発音操作された操作子の操作情報に基づいて、アルペジオの構成音を決定し、
決定された前記アルペジオの構成音に基づいてアルペジオデータを生成する、
アルペジオ生成方法。
続きを表示(約 990 文字)
【請求項2】
前記コンピュータは、
前記演奏者により単一の操作子が発音操作されると、前記調性情報及び前記単一の操作子の操作情報に基づいて、アルペジオの構成音を決定する、
請求項1に記載のアルペジオ生成方法。
【請求項3】
前記コンピュータは、
前記発音操作された操作子の操作情報によって特定される音及び前記調性情報によって特定される調を構成する音のうち複数の音を前記アルペジオの構成音として決定する、
請求項1に記載のアルペジオ生成方法。
【請求項4】
前記コンピュータは、
前記生成されたアルペジオデータに基づくアルペジオを出力部に出力させる、
請求項1に記載のアルペジオ生成方法。
【請求項5】
前記コンピュータは、さらに、
前記楽曲データにおけるコード情報に基づいて伴奏データを生成し、
前記生成されたアルペジオデータに基づくアルペジオ及び前記生成された伴奏データに基づく伴奏を出力部に出力させる、
請求項1に記載のアルペジオ生成方法。
【請求項6】
コンピュータに、
演奏対象の楽曲データにおける調性情報及び演奏者により発音操作された操作子の操作情報に基づいて、アルペジオの構成音を決定し、
決定された前記アルペジオの構成音に基づいてアルペジオデータを生成する、
処理を実行させるためのプログラム。
【請求項7】
演奏対象の楽曲データにおける調性情報及び演奏者により発音操作された操作子の操作情報に基づいて、アルペジオの構成音を決定し、
決定された前記アルペジオの構成音に基づいてアルペジオデータを生成する、
制御部を備える情報処理装置。
【請求項8】
請求項7に記載の情報処理装置と、
演奏者による発音操作を受け付ける操作子と、
前記アルペジオデータに基づいてアルペジオを出力する出力部と、
を備える電子楽器。
【請求項9】
請求項7に記載の情報処理装置と、
演奏者による発音操作を受け付ける操作子及び前記アルペジオデータに基づいてアルペジオを出力する出力部を備える電子楽器と、
を備える電子楽器システム。
発明の詳細な説明
【技術分野】
【0001】
本発明は、アルペジオ生成方法、プログラム、情報処理装置、電子楽器及び電子楽器システムに関する。
続きを表示(約 1,400 文字)
【背景技術】
【0002】
従来、電子楽器の和音の押鍵に応じてアルペジオデータを生成する装置が知られている(例えば、特許文献1参照)。
【先行技術文献】
【特許文献】
【0003】
特開2008-164923号公報
【発明の概要】
【発明が解決しようとする課題】
【0004】
しかしながら、特許文献1に記載の装置は、ユーザが弾いている楽曲の調に関係なく、ユーザが押さえた鍵そのものか、又はそのオクターブを用いてアルペジオデータを生成するものである。そのため、ユーザは楽曲の調に合った和音を把握できるスキルと、その和音を適切なタイミングで弾きこなすスキルが必要であった。
【0005】
本発明の課題は、簡単に楽曲の調に合ったアルペジオデータを生成できるようにすることである。
【課題を解決するための手段】
【0006】
上記課題を解決するため、本発明の一態様のアルペジオ生成方法は、
コンピュータが、
演奏対象の楽曲データにおける調性情報及び演奏者により発音操作された操作子の操作情報に基づいて、アルペジオの構成音を決定し、
決定された前記アルペジオの構成音に基づいてアルペジオデータを生成する。
【発明の効果】
【0007】
本発明によれば、簡単に楽曲の調に合ったアルペジオデータを生成できる。
【図面の簡単な説明】
【0008】
本発明の実施形態に係る電子楽器システムの全体構成例を示す図である。
図1の情報処理装置の記憶部のデータ格納例を示す図である。
楽曲データに含まれるコード情報及び調性情報の一例を示す図である。
図1の情報処理装置の制御部により実行されるアルペジオ構成音決定処理の流れを示すフローチャートである。
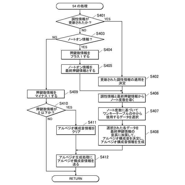
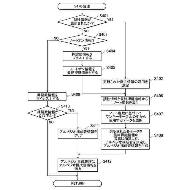
図4のステップS4の処理の流れを示すフローチャートである。
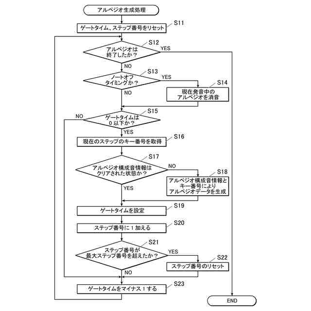
図1の情報処理装置の制御部により実行されるアルペジオ生成処理の流れを示すフローチャートである。
ワンキーテーブルの例を示す図である。
図7のワンキーテーブルに基づいて決定されるアルペジオの構成音の具体例を示す図である。
アルペジオパターンデータの例を示す図である。
本実施形態で生成されるアルペジオデータに基づいて出力されるアルペジオを楽譜で示した図である。
【発明を実施するための形態】
【0009】
以下に、本発明の実施形態について、図面を用いて説明する。但し、以下に述べる実施形態には、本発明を実施するために技術的に好ましい種々の限定が付されている。そのため、本発明の技術的範囲を以下の実施形態及び図示例に限定するものではない。
【0010】
まず、本発明の実施形態に係る電子楽器システム100の構成について説明する。図1に示すように、電子楽器システム100は、情報処理装置1と、電子楽器2と、を備えて構成されている。情報処理装置1と電子楽器2は、無線又は有線によりデータ送受信可能に通信接続されている。電子楽器システム100は、アルペジエータとしての機能を提供するシステムである。
(【0011】以降は省略されています)
この特許をJ-PlatPat(特許庁公式サイト)で参照する
関連特許
カシオ計算機株式会社
支持台
1日前
カシオ計算機株式会社
減音器具
3日前
カシオ計算機株式会社
減音器具
3日前
カシオ計算機株式会社
電子鍵盤楽器
1日前
カシオ計算機株式会社
装飾板及び時計
2日前
カシオ計算機株式会社
光源装置及び投影装置
15日前
カシオ計算機株式会社
光源装置及び投影装置
3日前
カシオ計算機株式会社
光源装置及び投影装置
3日前
カシオ計算機株式会社
端末装置及びプログラム
3日前
カシオ計算機株式会社
外装部品ユニット及び時計
1日前
カシオ計算機株式会社
電子機器、及び表示制御方法
5日前
カシオ計算機株式会社
カッターユニット及び切断装置
1日前
カシオ計算機株式会社
制御装置、方法およびプログラム
5日前
カシオ計算機株式会社
制御装置、方法およびプログラム
5日前
カシオ計算機株式会社
補助バスマスタ回路及び電子機器
5日前
カシオ計算機株式会社
演奏装置、方法およびプログラム
3日前
カシオ計算機株式会社
演奏装置、方法およびプログラム
2日前
カシオ計算機株式会社
発音装置及び音出力制御システム
15日前
カシオ計算機株式会社
ロボット、及びロボットの製造方法
1日前
カシオ計算機株式会社
制御装置、制御方法、及びプログラム
2日前
カシオ計算機株式会社
外装部品、外装部品ユニット及び時計
1日前
カシオ計算機株式会社
情報処理装置、方法およびプログラム
1日前
カシオ計算機株式会社
プログラム、電子機器及び登録処理方法
1日前
カシオ計算機株式会社
電子機器、登録処理方法及びプログラム
1日前
カシオ計算機株式会社
情報処理装置、表示方法、及びプログラム
5日前
カシオ計算機株式会社
情報提供装置、情報提供方法及びプログラム
3日前
カシオ計算機株式会社
情報処理装置、プログラム及び情報処理方法
1日前
カシオ計算機株式会社
切断制御装置、切断制御方法及びプログラム
15日前
カシオ計算機株式会社
音声提供装置、音声提供方法及びプログラム
1日前
カシオ計算機株式会社
印刷装置、印刷装置の制御方法及びプログラム
1日前
カシオ計算機株式会社
電子時計、電子時計の制御方法及びプログラム
5日前
カシオ計算機株式会社
投影装置、投影装置の調整方法及びプログラム
2日前
カシオ計算機株式会社
投影装置、投影装置の調整方法及びプログラム
2日前
カシオ計算機株式会社
電子楽器、電子楽器の制御方法及びプログラム
1日前
カシオ計算機株式会社
情報処理装置、表示制御方法、及びプログラム
1日前
カシオ計算機株式会社
電子機器、電子機器の制御方法及びプログラム
5日前
続きを見る
他の特許を見る