TOP
|
特許
|
意匠
|
商標
特許ウォッチ
Twitter
他の特許を見る
10個以上の画像は省略されています。
公開番号
2025140487
公報種別
公開特許公報(A)
公開日
2025-09-29
出願番号
2024039919
出願日
2024-03-14
発明の名称
電子機器、電子機器の制御方法及びプログラム
出願人
カシオ計算機株式会社
代理人
弁理士法人光陽国際特許事務所
主分類
G06F
3/041 20060101AFI20250919BHJP(計算;計数)
要約
【課題】操作検出感度のばらつきを低減する。
【解決手段】電子機器は、筐体と、センサ面を有するタッチセンサであって、センサ面が筐体の内壁面に対向するように筐体の内部に配置され、筐体の操作面に対する操作手段の接触をそれぞれ検出する複数の領域を有するタッチセンサと、を備え、複数の領域のそれぞれにおけるセンサ面に垂直な方向についてのセンサ面から操作面までの距離の代表値は、少なくとも2つの領域について互いに異なり、複数の領域のそれぞれにおけるセンサ感度は、距離の代表値が大きい領域ほど高くなるように設定されている。
【選択図】図4
特許請求の範囲
【請求項1】
筐体と、
センサ面を有するタッチセンサであって、前記センサ面が前記筐体の内壁面に対向するように前記筐体の内部に配置され、前記筐体の操作面に対する操作手段の接触をそれぞれ検出する複数の領域を有する前記タッチセンサと、
を備え、
前記複数の領域のそれぞれにおける前記センサ面に垂直な方向についての前記センサ面から前記操作面までの距離の代表値は、少なくとも2つの領域について互いに異なり、
前記複数の領域のそれぞれにおけるセンサ感度は、前記距離の前記代表値が大きい領域ほど高くなるように設定されている、
電子機器。
続きを表示(約 1,300 文字)
【請求項2】
前記タッチセンサは、前記複数の領域のそれぞれにおいて、前記操作手段の前記センサ面への接近に応じて変化する静電容量に対応する値と、前記複数の領域のそれぞれに対応付けられて予め定められている閾値と、の大小関係に基づいて前記操作面に対する前記操作手段の接触を検出し、
前記複数の領域に対応する複数の前記閾値は、前記少なくとも2つの領域について互いに異なる、
請求項1に記載の電子機器。
【請求項3】
前記タッチセンサにおける前記複数の領域のそれぞれは、各領域の前記センサ面と前記操作手段との間の前記静電容量に対応する値が当該領域に対応する前記閾値以上となった場合に、前記操作面に対する前記操作手段の接触を検出し、
前記複数の領域のそれぞれに対応する前記閾値は、前記距離の前記代表値が大きい領域に対応する前記閾値ほど小さい、
請求項2に記載の電子機器。
【請求項4】
前記センサ面は平面であり、前記操作面は非平面である、
請求項1に記載の電子機器。
【請求項5】
前記操作面は、前記センサ面に垂直な方向から見て前記複数の領域と重なる範囲にわたって湾曲している、
請求項4に記載の電子機器。
【請求項6】
前記操作面は、前記センサ面に垂直な方向から見て、前記複数の領域のうち隣り合う領域の境界と重なる部分において段差を有する、
請求項4に記載の電子機器。
【請求項7】
前記複数の領域のそれぞれにおける前記センサ感度を、前記距離の前記代表値が大きい領域ほど高くなるように設定する制御部を備える、
請求項1に記載の電子機器。
【請求項8】
筐体と、センサ面を有するタッチセンサであって、前記センサ面が前記筐体の内壁面に対向するように前記筐体の内部に配置され、前記筐体の操作面に対する操作手段の接触をそれぞれ検出する複数の領域を有する前記タッチセンサと、を備え、前記複数の領域のそれぞれにおける前記センサ面に垂直な方向についての前記センサ面から前記操作面までの距離の代表値が、少なくとも2つの領域について互いに異なる電子機器のコンピュータが実行する前記電子機器の制御方法であって、
前記複数の領域のそれぞれにおけるセンサ感度を、前記距離の前記代表値が大きい領域ほど高くなるように設定する、
電子機器の制御方法。
【請求項9】
筐体と、センサ面を有するタッチセンサであって、前記センサ面が前記筐体の内壁面に対向するように前記筐体の内部に配置され、前記筐体の操作面に対する操作手段の接触をそれぞれ検出する複数の領域を有する前記タッチセンサと、を備え、前記複数の領域のそれぞれにおける前記センサ面に垂直な方向についての前記センサ面から前記操作面までの距離の代表値が、少なくとも2つの領域について互いに異なる電子機器のコンピュータを、
前記複数の領域のそれぞれにおけるセンサ感度を、前記距離の前記代表値が大きい領域ほど高くなるように設定する制御手段、
として機能させるプログラム。
発明の詳細な説明
【技術分野】
【0001】
本発明は、電子機器、電子機器の制御方法及びプログラムに関する。
続きを表示(約 1,800 文字)
【背景技術】
【0002】
従来、筐体のうち表示部以外の位置に、ユーザのタッチ操作を検出するタッチ操作部が設けられた電子機器がある(例えば、特許文献1)。このタッチ操作部は、筐体の内部に位置するタッチセンサを備え、当該タッチセンサにより、操作面としての筐体表面に対する操作手段の接触を検出する。
【先行技術文献】
【特許文献】
【0003】
特表2020-510254号公報
【発明の概要】
【発明が解決しようとする課題】
【0004】
しかしながら、筐体の表面が湾曲していたり凹凸を有していたりすると、タッチセンサのセンサ面から筐体の操作面までの距離が不均一となることに起因して、タッチ位置によって操作検出感度が異なってしまうという課題がある。
【0005】
本発明は、操作検出感度のばらつきを低減することを目的とする。
【課題を解決するための手段】
【0006】
上記課題を解決するため、本発明に係る電子機器は、
筐体と、
センサ面を有するタッチセンサであって、前記センサ面が前記筐体の内壁面に対向するように前記筐体の内部に配置され、前記筐体の操作面に対する操作手段の接触をそれぞれ検出する複数の領域を有する前記タッチセンサと、
を備え、
前記複数の領域のそれぞれにおける前記センサ面に垂直な方向についての前記センサ面から前記操作面までの距離の代表値は、少なくとも2つの領域について互いに異なり、
前記複数の領域のそれぞれにおけるセンサ感度は、前記距離の前記代表値が大きい領域ほど高くなるように設定されている。
【発明の効果】
【0007】
本発明によれば、操作検出感度のばらつきを低減することができる。
【図面の簡単な説明】
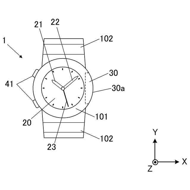
【0008】
電子時計の正面図である。
電子時計の側面図である。
電子時計の機能構成を示すブロック図である。
タッチ操作部の模式断面図である。
タッチ操作部の模式断面図である。
タッチ操作部の模式断面図である。
センサ面と指との間に生じる静電容量の変化の態様及び閾値を説明する図である。
領域毎の閾値の設定例を示す図である。
指針の位置の修正動作を説明する図である。
変形例1に係る電子時計の正面図である。
変形例1に係るタッチ操作部の模式断面図である。
変形例1における領域毎の閾値の設定例を示す図である。
変形例2におけるセンサ感度調整処理の制御手順を示すフローチャートである。
【発明を実施するための形態】
【0009】
以下、本発明の実施の形態を図面に基づいて説明する。図1に示すように、電子時計1(電子機器)は、表示部20及び図示略の回路基板等が内部に格納された筐体101と、筐体101に取り付けられた2本のバンド102とを備える。電子時計1は、バンド102を手首に巻き回すことでユーザの手首に装着されて用いられる腕時計である。以下では、表示部20の文字板に平行かつ表示部20の文字板の中央から3時方向に向かう方向を+X方向とし、文字板に平行かつ文字板の中央から12時方向に向かう方向を+Y方向とし、文字板の法線方向を+Z方向とする。筐体101は、+Z方向から見て略円形である。筐体101の+X方向側(概ね文字板の2時方向から4時方向の間)の側面には、ユーザの指等の操作手段によるタッチ操作を検出可能なタッチ操作部30(タッチパネル)が設けられている。図2に示すように、タッチ操作部30は、+X方向から見てY方向に延びる曲面状の操作面30aを有する。筐体101の-X方向側の側面には、押下操作が可能な操作ボタン41が設けられている。
【0010】
図3に示すように、電子時計1は、CPU11(Central Processing Unit)(制御部、制御手段)と、RAM12(Random Access Memory)と、記憶部13と、表示部20と、タッチ操作部30と、ボタン操作部40と、計時部50と、報知部60と、を備える。電子時計1の各部は、バス等のデータ伝送経路を介して接続されている。
(【0011】以降は省略されています)
この特許をJ-PlatPat(特許庁公式サイト)で参照する
関連特許
カシオ計算機株式会社
機器、制御方法およびプログラム
5日前
カシオ計算機株式会社
給電装置、及び、電力伝送システム
5日前
カシオ計算機株式会社
電子機器、及び、電力伝送システム
5日前
カシオ計算機株式会社
情報処理方法、プログラム及び情報処理装置
5日前
カシオ計算機株式会社
活動支援方法、プログラム及び活動支援装置
5日前
カシオ計算機株式会社
情報出力方法、情報出力装置及びプログラム
5日前
カシオ計算機株式会社
位置測定システム、位置測定方法及びプログラム
5日前
カシオ計算機株式会社
情報処理装置、制御データ作成方法、及びプログラム
5日前
カシオ計算機株式会社
サービス提供方法、サービス提供装置、サービス提供システム及びプログラム
5日前
カシオ計算機株式会社
イヤーデバイス、携帯端末、イヤーデバイス制御システム、イヤーデバイス制御方法及びプログラム
5日前
カシオ計算機株式会社
イヤーデバイス、携帯端末、イヤーデバイス制御システム、イヤーデバイス制御方法及びプログラム
5日前
個人
QRコードの彩色
2日前
個人
フラワーコートA
2か月前
個人
工程設計支援装置
1か月前
個人
地球保全システム
11日前
個人
為替ポイント伊達夢貯
1か月前
個人
冷凍食品輸出支援構造
1か月前
個人
表変換編集支援システム
1か月前
個人
携帯情報端末装置
1か月前
個人
残土処理システム
4日前
個人
知的財産出願支援システム
5日前
個人
知財出願支援AIシステム
1か月前
個人
結婚相手紹介支援システム
1か月前
個人
AIによる情報の売買の仲介
1か月前
個人
行動時間管理システム
1か月前
個人
パスワード管理支援システム
1か月前
個人
パスポートレス入出国システム
1か月前
株式会社アジラ
進入判定装置
1か月前
個人
海外支援型農作物活用システム
23日前
株式会社キーエンス
受発注システム
10日前
株式会社キーエンス
受発注システム
10日前
株式会社キーエンス
受発注システム
10日前
日本精機株式会社
施工管理システム
1か月前
個人
食品レシピ生成システム
10日前
個人
アンケート支援システム
2か月前
個人
システム及びプログラム
24日前
続きを見る
他の特許を見る