TOP
|
特許
|
意匠
|
商標
特許ウォッチ
Twitter
他の特許を見る
10個以上の画像は省略されています。
公開番号
2025140483
公報種別
公開特許公報(A)
公開日
2025-09-29
出願番号
2024039913
出願日
2024-03-14
発明の名称
電子時計、電子時計の制御方法及びプログラム
出願人
カシオ計算機株式会社
代理人
弁理士法人光陽国際特許事務所
主分類
G04C
9/00 20060101AFI20250919BHJP(時計)
要約
【課題】簡易かつ直感的な操作で指針の位置を修正できるようにする。
【解決手段】電子時計は、複数の指針と、タッチ操作を受け付けるタッチ操作部と、制御部と、を備え、制御部は、タッチ操作部に対する互いに異なる複数の操作であって、複数の指針に予め対応付けられた複数の操作のうちいずれかの操作を検出した場合に、複数の指針のうち検出した操作に対応する指針を修正対象の指針として特定する。電子時計の制御方法は、タッチ操作部に対する互いに異なる複数の操作であって、複数の指針に予め対応付けられた複数の操作のうちいずれかの操作を検出した場合に、複数の指針のうち検出した操作に対応する指針を修正対象の指針として特定する。
【選択図】図11
特許請求の範囲
【請求項1】
複数の指針と、
タッチ操作を受け付けるタッチ操作部と、
制御部と、
を備え、
前記制御部は、前記タッチ操作部に対する互いに異なる複数の操作であって、前記複数の指針に予め対応付けられた前記複数の操作のうちいずれかの操作を検出した場合に、前記複数の指針のうち検出した操作に対応する指針を修正対象の指針として特定する、
電子時計。
続きを表示(約 1,200 文字)
【請求項2】
前記制御部は、前記修正対象の指針を特定した後に、前記タッチ操作部に対する所定の第1操作を検出した場合に、前記第1操作の操作量に応じて前記修正対象の指針を運針させることで前記修正対象の指針の位置を修正する、
請求項1に記載の電子時計。
【請求項3】
前記第1操作は、前記タッチ操作部の操作面上でタッチ位置をスライドさせるスライド操作であり、
前記第1操作の前記操作量は、前記スライド操作における前記タッチ位置のスライド量である、
請求項2に記載の電子時計。
【請求項4】
前記第1操作は、前記タッチ操作部の操作面をタッチし続ける長押し操作であり、
前記第1操作の前記操作量は、前記長押し操作の継続時間である、
請求項2に記載の電子時計。
【請求項5】
前記制御部は、前記第1操作の前記操作量に応じた指針の移動量が前記複数の指針のそれぞれについて予め定められて対応付けられている移動量設定情報に基づいて、検出した前記第1操作の前記操作量に応じた前記修正対象の指針の移動量を導出し、導出した移動量で前記修正対象の指針を運針させる、
請求項2に記載の電子時計。
【請求項6】
前記複数の指針は、時針、分針及び秒針を有し、
前記移動量設定情報において、前記秒針に対応付けられている或る基準操作量当たりの移動量は、前記分針に対応付けられている前記基準操作量当たりの移動量よりも大きく、前記分針に対応付けられている前記基準操作量当たりの移動量は、前記時針に対応付けられている前記基準操作量当たりの移動量よりも大きい、
請求項5に記載の電子時計。
【請求項7】
前記制御部は、
ユーザによる所定の切り替え操作を検出した場合に、前記電子時計の動作モードを、前記複数の指針の位置を修正するための修正モードに切り替え、
前記電子時計を前記修正モード以外の動作モードで動作させている場合には、前記タッチ操作部による操作検出感度を第1の感度に設定し、
前記電子時計を前記修正モードで動作させている場合には、前記タッチ操作部による前記操作検出感度を前記第1の感度よりも高い第2の感度に設定する、
請求項1に記載の電子時計。
【請求項8】
前記所定の切り替え操作は、前記タッチ操作部に対する所定の第2操作である、
請求項6に記載の電子時計。
【請求項9】
前記制御部は、前記修正対象の指針を特定した場合に、当該修正対象の指針を所定の運針パターンで運針させる、
請求項1に記載の電子時計。
【請求項10】
表示部を備え、
前記制御部は、前記修正対象の指針を特定した場合に、当該修正対象の指針を表す表示を前記表示部に行わせる、
請求項1に記載の電子時計。
(【請求項11】以降は省略されています)
発明の詳細な説明
【技術分野】
【0001】
本発明は、電子時計、電子時計の制御方法及びプログラムに関する。
続きを表示(約 1,800 文字)
【背景技術】
【0002】
従来、複数の指針を有する電子時計において、操作ボタン及びりゅうずに対する所定の操作に応じて指針を運針させて指針の位置を修正する技術がある(例えば、特許文献1)。
【先行技術文献】
【特許文献】
【0003】
特開2022-70680号公報
【発明の概要】
【発明が解決しようとする課題】
【0004】
しかしながら、上記の従来技術では、所望の指針を選択してその位置の修正方向及び修正量を指定するために、操作ボタン及びりゅうずを正しい順序で選択しつつ適切な操作を行う必要がある。このため、操作手順が複雑になりやすく、指針の位置の修正に時間が掛かるという課題がある。
【0005】
本発明は、簡易かつ直感的な操作で指針の位置を修正できるようにすることを目的とする。
【課題を解決するための手段】
【0006】
上記課題を解決するため、本発明に係る電子時計は、
複数の指針と、
タッチ操作を受け付けるタッチ操作部と、
制御部と、
を備え、
前記制御部は、前記タッチ操作部に対する互いに異なる複数の操作であって、前記複数の指針に予め対応付けられた前記複数の操作のうちいずれかの操作を検出した場合に、前記複数の指針のうち検出した操作に対応する指針を修正対象の指針として特定する。
【発明の効果】
【0007】
本発明によれば、簡易かつ直感的な操作で指針の位置を修正することができる。
【図面の簡単な説明】
【0008】
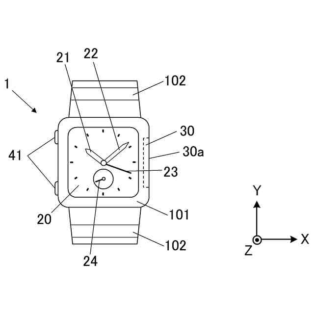
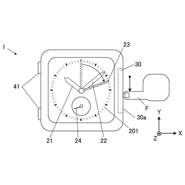
電子時計の正面図である。
電子時計の側面図である。
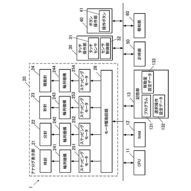
電子時計の機能構成を示すブロック図である。
タッチ操作部の模式断面、及びタッチ操作部の検出原理を示す図である。
静電容量の変化の態様及び閾値を説明する図である。
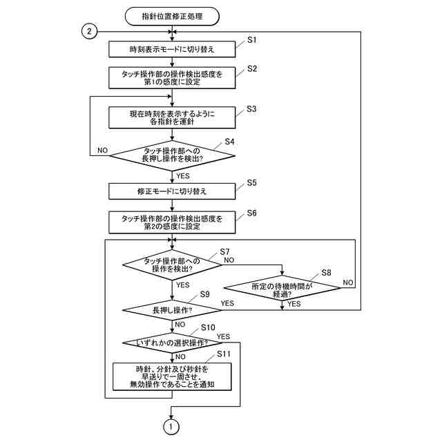
指針位置修正処理の制御手順を示すフローチャートである。
指針位置修正処理の制御手順を示すフローチャートである。
選択操作設定データの内容を示す図である。
修正対象の指針の通知動作を示す図である。
移動量設定データの内容を示す図である。
修正対象の指針の位置を修正する動作を示す図である。
変形例に係る電子時計を示す図である。
【発明を実施するための形態】
【0009】
以下、本発明の実施の形態を図面に基づいて説明する。図1に示すように、電子時計1は、アナログ表示部20及び図示略の回路基板等が内部に格納された筐体101と、筐体101に取り付けられた2本のバンド102とを備える。電子時計1は、バンド102を手首に巻き回すことでユーザの手首に装着されて用いられる腕時計である。以下では、アナログ表示部20の文字板に平行かつアナログ表示部20の文字板の中央から3時方向に向かう方向を+X方向とし、文字板に平行かつ文字板の中央から12時方向に向かう方向を+Y方向とし、文字板の法線方向を+Z方向とする。筐体101は、+Z方向から見て角が丸みを帯びた矩形である。筐体101の+X方向側の側面には、ユーザの指等の操作手段によるタッチ操作を検出可能なタッチ操作部30(タッチパネル)が設けられている。図2に示すように、タッチ操作部30は、+X方向から見てY方向に延びる略平面状の操作面30aを有する。筐体101の-X方向側の側面には、押下操作が可能な操作ボタン41が設けられている。なお、筐体101の形状は、略矩形に限られない。例えば、筐体101は、+Z方向から見て略円形等であってもよく、タッチ操作部30の操作面30aは、筐体101の形状に応じて湾曲していてもよい。
【0010】
図3に示すように、電子時計1は、CPU11(Central Processing Unit)(制御部、制御手段)と、RAM12(Random Access Memory)と、記憶部13と、アナログ表示部20と、タッチ操作部30と、ボタン操作部40と、計時部50と、報知部60と、を備える。電子時計1の各部は、バス等のデータ伝送経路を介して接続されている。
(【0011】以降は省略されています)
この特許をJ-PlatPat(特許庁公式サイト)で参照する
関連特許
カシオ計算機株式会社
支持台
今日
カシオ計算機株式会社
減音器具
2日前
カシオ計算機株式会社
減音器具
2日前
カシオ計算機株式会社
電子鍵盤楽器
今日
カシオ計算機株式会社
装飾板及び時計
1日前
カシオ計算機株式会社
光源装置及び投影装置
2日前
カシオ計算機株式会社
光源装置及び投影装置
2日前
カシオ計算機株式会社
端末装置及びプログラム
2日前
カシオ計算機株式会社
外装部品ユニット及び時計
今日
カシオ計算機株式会社
電子機器、及び表示制御方法
4日前
カシオ計算機株式会社
カッターユニット及び切断装置
今日
カシオ計算機株式会社
制御装置、方法およびプログラム
4日前
カシオ計算機株式会社
制御装置、方法およびプログラム
4日前
カシオ計算機株式会社
補助バスマスタ回路及び電子機器
4日前
カシオ計算機株式会社
演奏装置、方法およびプログラム
2日前
カシオ計算機株式会社
演奏装置、方法およびプログラム
1日前
カシオ計算機株式会社
ロボット、及びロボットの製造方法
今日
カシオ計算機株式会社
情報処理装置、方法およびプログラム
今日
カシオ計算機株式会社
外装部品、外装部品ユニット及び時計
今日
カシオ計算機株式会社
制御装置、制御方法、及びプログラム
1日前
カシオ計算機株式会社
プログラム、電子機器及び登録処理方法
今日
カシオ計算機株式会社
電子機器、登録処理方法及びプログラム
今日
カシオ計算機株式会社
情報処理装置、表示方法、及びプログラム
4日前
カシオ計算機株式会社
情報処理装置、プログラム及び情報処理方法
今日
カシオ計算機株式会社
情報提供装置、情報提供方法及びプログラム
2日前
カシオ計算機株式会社
音声提供装置、音声提供方法及びプログラム
今日
カシオ計算機株式会社
電子時計、電子時計の制御方法及びプログラム
4日前
カシオ計算機株式会社
電子機器、電子機器の制御方法及びプログラム
4日前
カシオ計算機株式会社
電子楽器、電子楽器の制御方法及びプログラム
今日
カシオ計算機株式会社
情報処理装置、表示制御方法、及びプログラム
今日
カシオ計算機株式会社
印刷装置、印刷装置の制御方法及びプログラム
今日
カシオ計算機株式会社
投影装置、投影装置の調整方法及びプログラム
1日前
カシオ計算機株式会社
投影装置、投影装置の調整方法及びプログラム
1日前
カシオ計算機株式会社
情報処理装置、表示制御方法、及び、プログラム
今日
カシオ計算機株式会社
画像処理装置、プログラム、及び、画像処理方法
今日
カシオ計算機株式会社
機器の制御装置、機器の制御方法及びプログラム
今日
続きを見る
他の特許を見る