TOP
|
特許
|
意匠
|
商標
特許ウォッチ
Twitter
他の特許を見る
公開番号
2025144698
公報種別
公開特許公報(A)
公開日
2025-10-03
出願番号
2024044506
出願日
2024-03-21
発明の名称
薬莢
出願人
旭精機工業株式会社
代理人
個人
,
個人
主分類
F42B
5/28 20060101AFI20250926BHJP(弾薬;爆破)
要約
【課題】薬莢内の燃焼ガスが雷管収容部から後方に漏れる不具合の発生を抑えることが可能な薬莢を開示する。
【解決手段】本実施形態の薬莢10Aは、雷管50を収容する雷管収容部17を端部に備える薬莢本体20Aと、前記雷管収容部17の外側に嵌合され、前記雷管収容部17と共に薬莢10Aのヘッド部14を構成するリング部品30Aと、が備えられ、前記薬莢本体20Aを構成する部材より、前記リング部品30Aを構成する部材の方の剛性が高い。
【選択図】図1
特許請求の範囲
【請求項1】
雷管を収容する雷管収容部を端部に備える薬莢本体と、
前記雷管収容部の外側に嵌合され、前記雷管収容部と共に薬莢のヘッド部を構成するリング部品と、が備えられ、
前記薬莢本体を構成する部材より、前記リング部品を構成する部材の方の剛性が高い薬莢。
続きを表示(約 510 文字)
【請求項2】
前記薬莢本体は、銅合金であり、
前記リング部品は、鉄合金である請求項1に記載の薬莢。
【請求項3】
前記リング部品は、前記雷管収容部の外側に圧入又は接着材により固定されている請求項1に記載の薬莢。
【請求項4】
前記リング部品及び前記薬莢本体の圧入部分の一方に、圧入により押し潰される突部を備える請求項3に記載の薬莢。
【請求項5】
前記リング部品は、薬莢のリムにおける径方向の途中部分より先端側部分のみを構成している請求項1から4の何れか1の請求項に記載の薬莢。
【請求項6】
前記雷管収容部の外側には、均一外径をなして延びる円筒面が備えられ、
前記リング部品は、前記円筒面の端部に嵌合されて薬莢のリムを構成している請求項1から4の何れか1の請求項に記載の薬莢。
【請求項7】
前記雷管収容部の端部には、外径が段付き状に縮径された縮径部が備えられ、
前記リング部品は、前記縮径部に嵌合され、前記リング部品の外縁部によって前記薬莢のリムが構成されている請求項1から4の何れか1の請求項に記載の薬莢。
発明の詳細な説明
【技術分野】
【0001】
本開示は、薬莢に関する。
続きを表示(約 1,900 文字)
【背景技術】
【0002】
薬莢は、銃の薬室の内面によって側方から支持され、弾丸の発射時の内圧(一般に「腔圧」と言われる)により拡径変形したときの変形量が抑えられることが知られている(例えば、特許文献1参照)。
【先行技術文献】
【特許文献】
【0003】
特開2006-71179号公報(図1)
【発明の概要】
【発明が解決しようとする課題】
【0004】
しかしながら、薬莢の端部の雷管収容部は、薬室外に位置し、薬室の内面によって側方から支持されないので、大きく拡径変形することがある。そして、従来の薬莢では、雷管収容部の拡径変形により雷管収容部の内面と雷管との間に嵌合隙間が発生して、薬莢内の燃焼ガスが雷管収容部の後方に漏れる不具合が発生し得た。本願では、そのような不具合の発生を抑えることが可能な薬莢を開示する。
【課題を解決するための手段】
【0005】
上記課題を解決するためになされた本開示の発明の一態様は、雷管を収容する雷管収容部を端部に備える薬莢本体と、前記雷管収容部の外側に嵌合され、前記雷管収容部と共に薬莢のヘッド部を構成するリング部品と、が備えられ、前記薬莢本体を構成する部材より、前記リング部品を構成する部材の方が剛性の高い薬莢である。
【発明の効果】
【0006】
本発明の薬莢では、薬莢本体より剛性の高いリング部品が、雷管収容部の外側に嵌合されているので、弾丸発射時における雷管収容部の拡径変形が従来より抑えられ、薬莢内の燃焼ガスが雷管収容部から後方に漏れる不具合の発生を抑えることができる。
【図面の簡単な説明】
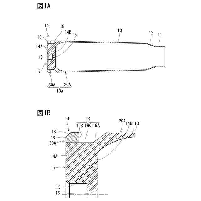
【0007】
図1Aは、第1実施形態に係る薬莢の側断面図、図1Bは、薬莢の拡大側断面図
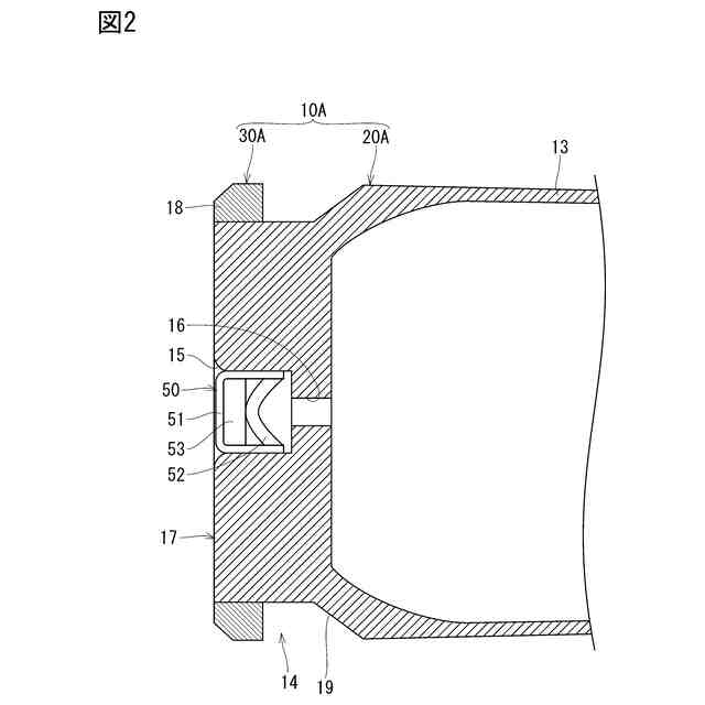
図2は、雷管収容孔に雷管を収容した状態の拡大断面図
図3は、変形例に係る薬莢本体の拡大斜視図
図4A及び図4Bは、変形例に係る薬莢の拡大側断面図
図5A及び図5Bは、変形例に係る薬莢の拡大側断面図
【発明を実施するための形態】
【0008】
[第1実施形態]
図1及び図2を参照して、本実施形態の薬莢10Aについて説明する。図1Aに示すように、本実施形態の薬莢10Aは、一般的な薬莢と同じ外形を有し、図1Aにおける右側の端部から左側に向かって順番に、ネック11、ショルダー12、ボディ13、ヘッド部14を備える。ボディ13は、ヘッド部14に近づくに従って徐々に肉厚が内側に厚くなっていて、それに伴い、ボディ13の内側は、ヘッド部14側が窄んだ形状をなしている。また、ヘッド部14の中心部には、雷管嵌合孔15とフラッシュホール16とが形成されている。雷管嵌合孔15は、ヘッド部14の外側端面14Aから内側端面14B寄り位置に亘って形成され、フラッシュホール16は、雷管嵌合孔15より小径になっていて雷管嵌合孔15の端部から内側端面14Bまで延びる。また、雷管嵌合孔15の外側開口縁はR形状になっている。そして、ヘッド部14のうち雷管嵌合孔15を中心部に有する部分が雷管収容部17になっている。
【0009】
雷管収容部17の外周面の末端からは、ボティ13の左端部と略同一外径のリム18が張り出し、リム18とボディ13との間は、それらより外径が小さい溝部19になっている。溝部19は、溝内側面19Aと溝内側面19Bと溝底面19Cとを備え、ボティ13側の溝内側面19Aがテーパー状になっていて、リム18側の溝内側面19Bと溝底面19Cとの間の角部はピン角状態になっている。また、リム18は、ボディ13から離れた側の外縁角部にテーパー面18Tを備えると共に、リム18のうちボディ13から離れた側の端面とヘッド部14の外側端面14Aとは面一になっている。
【0010】
本実施形態の薬莢10Aは、図1A及び図1Bにハッチングの違いで示されているように、リング部品30Aを薬莢本体20Aの一端に嵌合してなる。本実施形態では、例えば、リム18全体がリング部品30Aになっていて、薬莢本体20Aにおける雷管収容部17の外周面全体が、前述の溝部19の溝底面19Cと同径の円筒面になっている。そして、その雷管収容部17の外側にリング部品30Aが嵌合されて、雷管収容部17とリング部品30Aとによってヘッド部14が構成されている。
(【0011】以降は省略されています)
この特許をJ-PlatPat(特許庁公式サイト)で参照する
関連特許
旭精機工業株式会社
薬莢
7日前
国立研究開発法人産業技術総合研究所
酸化型補酵素F420の調製方法、還元型補酵素F420の調製方法及び補酵素F420測定用バイオセンサ
9か月前
三菱電機株式会社
飛しょう体
4か月前
三菱電機株式会社
飛しょう体
2か月前
旭精機工業株式会社
薬莢
7日前
三菱電機株式会社
飛しょう体用レドーム
11か月前
戸田建設株式会社
含水爆薬の密度の測定装置及び測定方法
7か月前
UBE三菱セメント株式会社
発破準備方法及び発破方法
4か月前
株式会社大林組
結線システム、結線装置及び結線方法
10か月前
株式会社熊谷組
無線起爆雷管を備えた爆薬の装填方法、及び、爆薬装填具
9か月前
株式会社東芝
サイドスラスタシステム、および飛しょう体
2か月前
日油株式会社
無線起爆雷管および無線起爆雷管用アンテナ
1日前
株式会社大林組
遠隔結線システム、制御装置、遠隔結線方法及びプログラム
10か月前
戸田建設株式会社
爆薬の自動装填装置及びこれを備えた自動装填システム並びに自動装填方法
1か月前
日本化薬株式会社
発煙装置および制御システム
12か月前
株式会社熊谷組
爆薬の装填位置の検出方法、爆薬の装填位置の検出装置、爆薬装填方法、及び、爆薬装填装置
10か月前
ケビン クレメヤー
高速適用例を容易にする指向性エネルギー堆積
4か月前
個人
柄製品、火薬製品及び花火製品
12か月前
ダビデ、コーエン
装薬および装薬を備えた砲弾
3か月前
ダビデ、コーエン
装薬および装薬を備えた砲弾
5か月前
キュージーン インコーポレイテッド
がんの治療ための新規インターロイキン-2バリアント
5か月前
株式会社デンソー
電子装置
7か月前
シンソークス, インコーポレイテッド
IL-2コンジュゲートおよびその使用方法
6か月前
サイティム セラピューティクス, インコーポレイテッド
改変インターロイキン2(IL-2)ポリペプチド、コンジュゲート及びそれらの使用
7か月前
アスクジーン・ファーマ・インコーポレイテッド
新規のサイトカインプロドラッグ
11か月前
キュー バイオファーマ, インコーポレイテッド
多量体T細胞調節性ポリペプチド及びその使用方法
1か月前
個人
核変換システム
10か月前
パナソニックオートモーティブシステムズ株式会社
信号制御装置、ソナーシステム、及び車両
10か月前
ジェンマブ エー/エス
PD-L1に対する抗体
4か月前
シンセカイン インコーポレイテッド
IL-2オルソログおよび使用法
2か月前
株式会社東芝
差動伝送回路
1か月前
ギリアード サイエンシーズ, インコーポレイテッド
インターロイキン-2-Fc融合タンパク質及び使用する方法
10か月前
ギリアード サイエンシーズ, インコーポレイテッド
インターロイキン-2-Fc融合タンパク質及び使用する方法
7か月前
ギリアード サイエンシーズ, インコーポレイテッド
インターロイキン-2-Fc融合タンパク質及び使用する方法
4か月前
プロヴィヴァ セラピューティクス (ホン コン) リミテッド
IL-2組成物およびその使用方法
4か月前
セイコーエプソン株式会社
成形管理システム
1か月前
続きを見る
他の特許を見る