TOP
|
特許
|
意匠
|
商標
特許ウォッチ
Twitter
他の特許を見る
10個以上の画像は省略されています。
公開番号
2025144643
公報種別
公開特許公報(A)
公開日
2025-10-03
出願番号
2024044391
出願日
2024-03-21
発明の名称
情報処理装置、情報処理方法、プログラム及び学習支援システム
出願人
カシオ計算機株式会社
代理人
弁理士法人光陽国際特許事務所
主分類
G06Q
50/20 20120101AFI20250926BHJP(計算;計数)
要約
【課題】学習対象に基づく学習者と教示者とのマッチングにおける有用な情報の提供に寄与する。
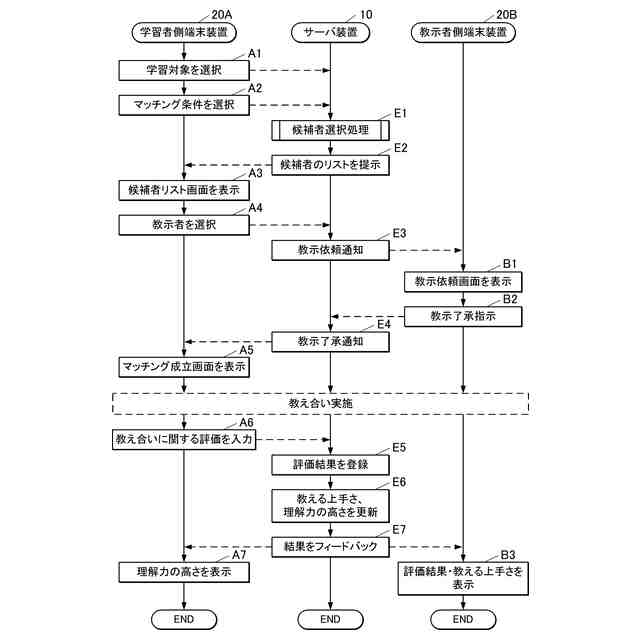
【解決手段】サーバ装置10(情報処理装置)の制御部は、予め登録されている複数の登録者の中から、教示を希望する学習者により登録された学習対象を学習者に教示する教示者の候補者のリストを出力する(ステップE2,ステップA3)。ここで、サーバ装置10の制御部は、候補者ごとに、学習対象に係る所定の指標値を対応付けた、リストを出力する。サーバ装置10の制御部は、リストの中からいずれかの候補者が教示者として学習者により選択された場合に(ステップA4)、当該選択された教示者に対して教示依頼通知を送信する(ステップE3,ステップB1)。
【選択図】図7
特許請求の範囲
【請求項1】
予め登録されている複数の登録者の中から、教示を希望する学習者により登録された学習対象を前記学習者に教示する教示者の候補者のリストを出力する出力手段と、
前記リストの中からいずれかの候補者が前記教示者として前記学習者により選択された場合に、当該選択された教示者に対して教示依頼通知を送信する送信手段と、
を備え、
前記出力手段は、前記候補者ごとに、前記学習対象に係る所定の指標値を対応付けた、前記リストを出力する、
ことを特徴とする情報処理装置。
続きを表示(約 1,400 文字)
【請求項2】
前記送信手段は、前記教示者から前記教示依頼通知に対する教示了承指示を受けた場合に、前記学習者に対して教示了承通知を送信する、
ことを特徴とする請求項1に記載の情報処理装置。
【請求項3】
前記送信手段は、前記学習者に対して、前記教示了承通知とともに、前記教示者の前記所定の指標値を送信する、
ことを特徴とする請求項2に記載の情報処理装置。
【請求項4】
前記送信手段は、前記学習者に対して、前記教示者が教示を希望する教示希望日程情報、教示希望場所情報及び教示希望形式情報のうち少なくとも一つを、前記教示了承通知とともに送信する、
ことを特徴とする請求項2に記載の情報処理装置。
【請求項5】
前記送信手段は、前記教示者に対して、前記学習者が教示を希望する教示希望日程情報、教示希望場所情報及び教示希望形式情報のうち少なくとも一つを、前記教示依頼通知とともに送信する、
ことを特徴とする請求項1に記載の情報処理装置。
【請求項6】
前記複数の登録者のそれぞれは、前記学習者と同じ母集団に属する生徒である、
ことを特徴とする請求項1に記載の情報処理装置。
【請求項7】
予め登録されている複数の登録者の中から、教示を希望する学習者により登録された学習対象を前記学習者に教示する教示者の候補者のリストを出力する出力工程と、
前記リストの中からいずれかの候補者が前記教示者として前記学習者により選択された場合に、当該選択された教示者に対して教示依頼通知を送信する送信工程と、
を含み、
前記出力工程では、前記候補者ごとに、前記学習対象に係る所定の指標値を対応付けた、前記リストを出力する、
ことを特徴とする情報処理方法。
【請求項8】
コンピュータを、
予め登録されている複数の登録者の中から、教示を希望する学習者により登録された学習対象を前記学習者に教示する教示者の候補者のリストを出力する出力手段、
前記リストの中からいずれかの候補者が前記教示者として前記学習者により選択された場合に、当該選択された教示者に対して教示依頼通知を送信する送信手段、
として機能させるためのプログラムであって、
前記出力手段は、前記候補者ごとに、前記学習対象に係る所定の指標値を対応付けた、前記リストを出力する、
ことを特徴とするプログラム。
【請求項9】
情報処理装置と、表示部及び操作部を備える端末装置と、がデータ通信可能に接続された学習支援システムであって、
前記情報処理装置は、
予め登録されている複数の登録者の中から、教示を希望する学習者が使用する前記端末装置の前記操作部から登録された学習対象を前記学習者に教示する教示者の候補者のリストを前記学習者が使用する前記端末装置の前記表示部に対して出力する出力手段と、
前記リストの中からいずれかの候補者が前記教示者として前記学習者が使用する前記端末装置の前記操作部から選択された場合に、当該選択された教示者が使用する前記端末装置に対して教示依頼通知を送信する送信手段と、
を備え、
前記出力手段は、前記候補者ごとに、前記学習対象に係る所定の指標値を対応付けた、前記リストを出力する、
ことを特徴とする学習支援システム。
発明の詳細な説明
【技術分野】
【0001】
本発明は、情報処理装置、情報処理方法、プログラム及び学習支援システムに関する。
続きを表示(約 1,900 文字)
【背景技術】
【0002】
特許文献1には、ユーザが使用する言語、ユーザが提供可能な物事等を含むユーザプロファイルに基づくマッチングシステムが開示されている。このシステムは、目的別のカテゴリーでユーザを検索し、ユーザのニーズに応じたマッチングを行う。
【先行技術文献】
【特許文献】
【0003】
特許第5970739号公報
【発明の概要】
【発明が解決しようとする課題】
【0004】
しかしながら、上記の従来技術においては、学習者が希望する学習対象に基づいて、学習者に対して、学習者に教示する教示者の候補者を提示することは困難であった。
【0005】
本発明は、上記の従来技術における問題に鑑みてなされたものであって、学習対象に基づく学習者と教示者とのマッチングにおける有用な情報の提供に寄与することを課題とする。
【課題を解決するための手段】
【0006】
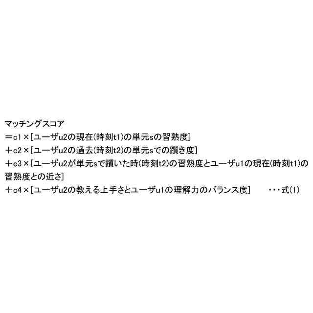
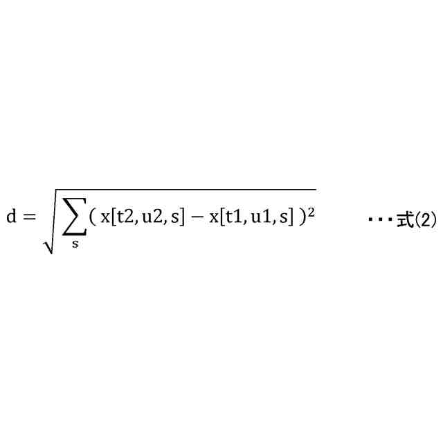
上記課題を解決するために、本発明の情報処理装置は、予め登録されている複数の登録者の中から、教示を希望する学習者により登録された学習対象を前記学習者に教示する教示者の候補者のリストを出力する出力手段と、前記リストの中からいずれかの候補者が前記教示者として前記学習者により選択された場合に、当該選択された教示者に対して教示依頼通知を送信する送信手段と、を備え、前記出力手段は、前記候補者ごとに、前記学習対象に係る所定の指標値を対応付けた、前記リストを出力する、ことを特徴とする。
【発明の効果】
【0007】
本発明によれば、学習対象に基づく学習者と教示者とのマッチングにおける有用な情報の提供に寄与することができる。
【図面の簡単な説明】
【0008】
本発明の第1の実施形態に係る学習支援システムの構成例を示す図である。
サーバ装置の記憶部のストレージに設けられているデータベースの構成例である。
問題正誤テーブルのデータ構成例を示す図である。
マッチング履歴テーブルのデータ構成例を示す図である。
習熟度ベクトルを説明するための図である。
学習支援画面の例である。
教示者登録画面の例である。
学習者から見た全体の流れを示すフローチャートである。
学習支援システムにおいて実行される教え合い処理を示すラダーチャートである。
学習対象選択画面の例である。
マッチング条件選択画面の例である。
サーバ装置により実行される候補者選択処理を示すフローチャートである。
候補者リスト画面の例である。
教示依頼画面の例である。
マッチング成立画面の例である。
教え合い評価画面の例である。
理解力の高さ通知画面の例である。
フィードバック画面の例である。
【発明を実施するための形態】
【0009】
以下、本発明に係る情報処理装置、情報処理方法、プログラム及び学習支援システムの実施形態について、図面を参照して詳細に説明する。なお、以下に述べる実施形態には、本発明を実施するために技術的に好ましい種々の限定が付されているが、本発明の技術的範囲を以下の実施形態及び図示例に限定するものではない。以下の実施形態において、学習支援システムは、学校の生徒及び先生によって使用されるものとする。なお、学校とは、正規の小学校、中学校、高校、大学に限らず、専門学校、学習塾、予備校等を含むものである。
【0010】
図1に示すように、学習支援システム100は、サーバ装置10と、複数の端末装置20と、を含む。サーバ装置10と各端末装置20とは、ネットワーク30を介してデータ通信可能に接続される。端末装置20は、各ユーザ(生徒、先生)が使用する端末装置である。端末装置20は、パーソナルコンピュータ、タブレット等の携帯端末装置、スマートフォン等の移動体通信装置のいずれであってもよい。なお、端末装置20の台数は、特に限定されない。ネットワーク30は、例えば、インターネット、無線LAN(Local Area Network)、有線LAN、移動体通信ネットワーク、近距離無線通信網、あるいは、これらの一部又は全部の組み合わせといった、任意の電気通信ネットワークであればよい。
(【0011】以降は省略されています)
この特許をJ-PlatPat(特許庁公式サイト)で参照する
関連特許
カシオ計算機株式会社
支持台
1日前
カシオ計算機株式会社
減音器具
3日前
カシオ計算機株式会社
減音器具
3日前
カシオ計算機株式会社
電子鍵盤楽器
1日前
カシオ計算機株式会社
装飾板及び時計
2日前
カシオ計算機株式会社
光源装置及び投影装置
3日前
カシオ計算機株式会社
光源装置及び投影装置
3日前
カシオ計算機株式会社
光源装置及び投影装置
15日前
カシオ計算機株式会社
端末装置及びプログラム
3日前
カシオ計算機株式会社
外装部品ユニット及び時計
1日前
カシオ計算機株式会社
電子機器、及び表示制御方法
5日前
カシオ計算機株式会社
カッターユニット及び切断装置
1日前
カシオ計算機株式会社
制御装置、方法およびプログラム
5日前
カシオ計算機株式会社
補助バスマスタ回路及び電子機器
5日前
カシオ計算機株式会社
演奏装置、方法およびプログラム
3日前
カシオ計算機株式会社
制御装置、方法およびプログラム
5日前
カシオ計算機株式会社
演奏装置、方法およびプログラム
2日前
カシオ計算機株式会社
ロボット、及びロボットの製造方法
1日前
カシオ計算機株式会社
外装部品、外装部品ユニット及び時計
1日前
カシオ計算機株式会社
制御装置、制御方法、及びプログラム
2日前
カシオ計算機株式会社
情報処理装置、方法およびプログラム
1日前
カシオ計算機株式会社
プログラム、電子機器及び登録処理方法
1日前
カシオ計算機株式会社
電子機器、登録処理方法及びプログラム
1日前
カシオ計算機株式会社
情報処理装置、表示方法、及びプログラム
5日前
カシオ計算機株式会社
情報処理装置、プログラム及び情報処理方法
1日前
カシオ計算機株式会社
情報提供装置、情報提供方法及びプログラム
3日前
カシオ計算機株式会社
音声提供装置、音声提供方法及びプログラム
1日前
カシオ計算機株式会社
電子時計、電子時計の制御方法及びプログラム
5日前
カシオ計算機株式会社
電子機器、電子機器の制御方法及びプログラム
5日前
カシオ計算機株式会社
印刷装置、印刷装置の制御方法及びプログラム
1日前
カシオ計算機株式会社
電子楽器、電子楽器の制御方法及びプログラム
1日前
カシオ計算機株式会社
情報処理装置、表示制御方法、及びプログラム
1日前
カシオ計算機株式会社
投影装置、投影装置の調整方法及びプログラム
2日前
カシオ計算機株式会社
投影装置、投影装置の調整方法及びプログラム
2日前
カシオ計算機株式会社
情報処理装置、表示制御方法、及び、プログラム
3日前
カシオ計算機株式会社
情報処理装置、表示制御方法、及び、プログラム
1日前
続きを見る
他の特許を見る