TOP
|
特許
|
意匠
|
商標
特許ウォッチ
Twitter
他の特許を見る
10個以上の画像は省略されています。
公開番号
2025144607
公報種別
公開特許公報(A)
公開日
2025-10-03
出願番号
2024044335
出願日
2024-03-21
発明の名称
情報処理装置、情報処理方法、及びプログラム
出願人
日本電気株式会社
代理人
個人
主分類
G08G
1/01 20060101AFI20250926BHJP(信号)
要約
【課題】道路の異常事態の有無や道路状況等の情報を収集する道路管制業務をユーザが適切に行うことを支援すること。
【解決手段】第1撮影装置で撮影された第1映像と、第2撮影装置で撮影された第2映像とを取得する取得部と、地図表示画面において、前記第1撮影装置が設置されている第1位置に応じた第1領域に前記第1映像を重畳して表示させ、前記第2撮影装置が設置されている第2位置に応じた第2領域に前記第2映像を重畳して表示させる表示制御部と、を有する情報処理装置が提供される。
【選択図】図4
特許請求の範囲
【請求項1】
第1撮影装置で撮影された第1映像と、第2撮影装置で撮影された第2映像とを取得する取得部と、
地図表示画面において、前記第1撮影装置が設置されている第1位置に応じた第1領域に前記第1映像を重畳して表示させ、前記第2撮影装置が設置されている第2位置に応じた第2領域に前記第2映像を重畳して表示させる表示制御部と、
を有する情報処理装置。
続きを表示(約 1,500 文字)
【請求項2】
前記表示制御部は、前記地図表示画面における前記第1位置及び前記第2位置の、前記地図表示画面における横方向または縦方向である特定方向の位置に基づいて、前記第1領域及び前記第2領域の前記特定方向の表示位置を決定する、
請求項1に記載の情報処理装置。
【請求項3】
前記表示制御部は、前記地図表示画面における前記第1位置と前記第2位置との横方向の差分及び縦方向の差分のうち差分が大きい方の方向を、前記特定方向として決定する、
請求項2に記載の情報処理装置。
【請求項4】
前記取得部は、前記第1撮影装置及び前記第2撮影装置を含む複数の撮影装置のそれぞれで撮影された各映像を取得し、
前記表示制御部は、前記各映像のうち、前記地図表示画面における前記複数の撮影装置のそれぞれの位置が前記特定方向で小さい順に、特定数の各映像を表示させる、
請求項2に記載の情報処理装置。
【請求項5】
前記取得部は、第3撮影装置で撮影された第3映像を取得し、
前記表示制御部は、前記第1撮影装置及び前記第2撮影装置が道路の上り車線を撮影対象として設置され、前記第3撮影装置が前記道路の下り車線を撮影対象として設置されている場合、前記第1映像及び前記第2映像を前記地図表示画面における一端側で前記特定方向に並べて表示させ、前記第3映像を前記地図表示画面における他端側に表示させる、
請求項2に記載の情報処理装置。
【請求項6】
前記取得部は、事故に関する情報を取得し、
前記表示制御部は、前記地図表示画面の前記特定方向における前記第1位置、前記第2位置、及び前記事故が発生した位置に基づいて、前記第1領域、前記第2領域、及び前記事故に関する情報を表示する領域の前記特定方向の表示位置を決定する、
請求項2に記載の情報処理装置。
【請求項7】
前記表示制御部は、
前記第1撮影装置を示す第1表示オブジェクトを前記地図表示画面における前記第1位置に表示させ、
前記第2撮影装置を示す第2表示オブジェクトを前記地図表示画面における前記第2位置に表示させ、
前記第1領域と前記第1表示オブジェクトとを対応付けて表示させ、
前記第2領域と前記第2表示オブジェクトとを対応付けて表示させる、
請求項1に記載の情報処理装置。
【請求項8】
前記表示制御部は、ユーザからの操作に応答して、前記第1領域の表示位置を変更し、前記第1領域と前記第1表示オブジェクトとの対応付けを示す表示オブジェクトを表示させる、
請求項7に記載の情報処理装置。
【請求項9】
第1撮影装置で撮影された第1映像と、第2撮影装置で撮影された第2映像とを取得し、
地図表示画面において、前記第1撮影装置が設置されている第1位置に応じた第1領域に前記第1映像を重畳して表示させ、前記第2撮影装置が設置されている第2位置に応じた第2領域に前記第2映像を重畳して表示させる、
情報処理方法。
【請求項10】
第1撮影装置で撮影された第1映像と、第2撮影装置で撮影された第2映像とを取得し、
地図表示画面において、前記第1撮影装置が設置されている第1位置に応じた第1領域に前記第1映像を重畳して表示させ、前記第2撮影装置が設置されている第2位置に応じた第2領域に前記第2映像を重畳して表示させる、
処理をコンピュータに実行させるプログラム。
発明の詳細な説明
【技術分野】
【0001】
本開示は、情報処理装置、情報処理方法、及びプログラムに関する。
続きを表示(約 1,500 文字)
【背景技術】
【0002】
特許文献1には、緊急車両誘導装置が、誘導対象車両の目的地に対する予測走行経路を算出して、その予測走行経路上にある監視カメラの映像を、最も近いものから適切な順番で表示装置に表示することが記載されている。
【先行技術文献】
【特許文献】
【0003】
特開2018-060481号公報
【発明の概要】
【発明が解決しようとする課題】
【0004】
しかしながら、特許文献1記載には、例えば、道路の異常事態の有無や道路状況等の情報を収集する道路管制業務を行う場合の課題については検討されていない。
【0005】
本開示の目的は、上述した課題を鑑み、道路の異常事態の有無や道路状況等の情報を収集する道路管制業務をユーザが適切に行うことを支援できる技術を提供することにある。
【課題を解決するための手段】
【0006】
本開示に係る第1の態様では、第1撮影装置で撮影された第1映像と、第2撮影装置で撮影された第2映像とを取得する取得部と、地図表示画面において、前記第1撮影装置が設置されている第1位置に応じた第1領域に前記第1映像を重畳して表示させ、前記第2撮影装置が設置されている第2位置に応じた第2領域に前記第2映像を重畳して表示させる表示制御部と、を有する情報処理装置が提供される。
【0007】
また、本開示に係る第2の態様では、第1撮影装置で撮影された第1映像と、第2撮影装置で撮影された第2映像とを取得し、地図表示画面において、前記第1撮影装置が設置されている第1位置に応じた第1領域に前記第1映像を重畳して表示させ、前記第2撮影装置が設置されている第2位置に応じた第2領域に前記第2映像を重畳して表示させる、情報処理方法が提供される。
【0008】
また、本開示に係る第3の態様では、第1撮影装置で撮影された第1映像と、第2撮影装置で撮影された第2映像とを取得し、地図表示画面において、前記第1撮影装置が設置されている第1位置に応じた第1領域に前記第1映像を重畳して表示させ、前記第2撮影装置が設置されている第2位置に応じた第2領域に前記第2映像を重畳して表示させる、処理をコンピュータに実行させるプログラムが提供される。
【発明の効果】
【0009】
一側面によれば、道路の異常事態の有無や道路状況等の情報を収集する道路管制業務をユーザが適切に行うことを支援できる。
【図面の簡単な説明】
【0010】
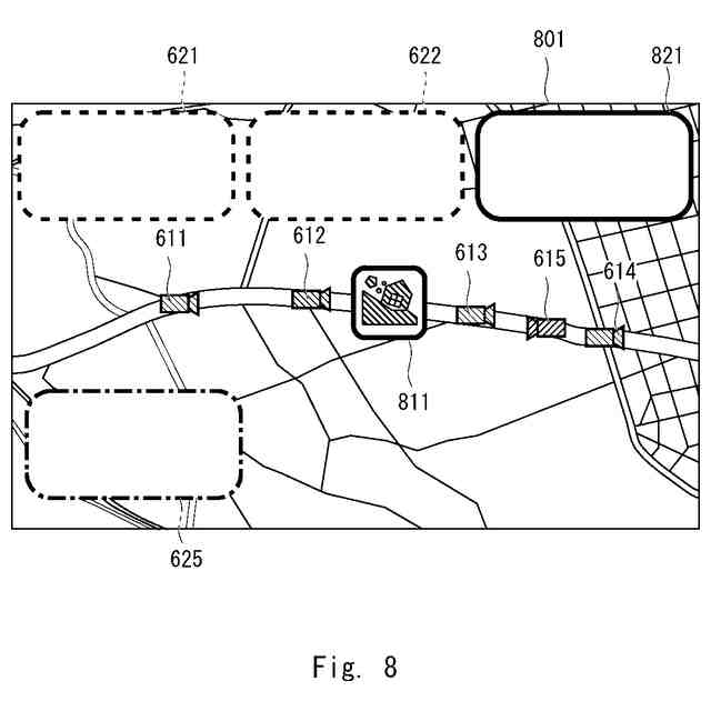
実施形態に係る情報処理装置の構成の一例を示す図である。
実施形態に係る情報処理システムの構成例を示す図である。
実施形態に係る情報処理装置のハードウェア構成例を示す図である。
実施形態に係る情報処理装置の処理の一例を示すフローチャートである。
実施形態に係る撮影装置DBに記録される情報の一例を示す図である。
実施形態に係る地図表示画面の一例を示す図である。
実施形態に係る地図表示画面の一例を示す図である。
実施形態に係る地図表示画面の一例を示す図である。
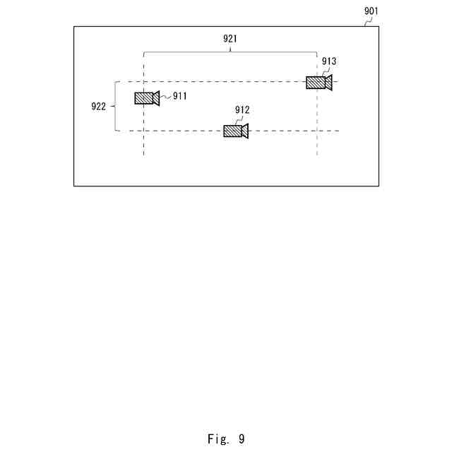
実施形態に係る特定方向の決定方法の一例を示す図である。
実施形態に係る地図表示画面の一例を示す図である。
実施形態に係る地図表示画面の一例を示す図である。
【発明を実施するための形態】
(【0011】以降は省略されています)
この特許をJ-PlatPat(特許庁公式サイト)で参照する
関連特許
日本電気株式会社
分析装置
7日前
日本電気株式会社
学習装置
1か月前
日本電気株式会社
原子発振器
1か月前
日本電気株式会社
超伝導量子回路
27日前
日本電気株式会社
マルチバンドバラン
25日前
日本電気株式会社
検知装置および検知方法
7日前
日本電気株式会社
量子回路装置と制御方法
7日前
日本電気株式会社
量子回路装置と制御方法
7日前
日本電気株式会社
送信装置および通信装置
3日前
日本電気株式会社
通信装置および通信方法
3日前
日本電気株式会社
分析方法および分析システム
4日前
日本電気株式会社
端末装置および無線通信方法
18日前
日本電気株式会社
機器冷却装置及びその冷却方法
19日前
日本電気株式会社
共振器及びそれを備えた導波回路
5日前
日本電気株式会社
処理装置、方法、及びプログラム
1か月前
日本電気株式会社
TS合成装置および放送システム
1か月前
日本電気株式会社
プログラム、算出装置、及び方法
19日前
日本電気株式会社
推定装置、推定方法及びプログラム
10日前
日本電気株式会社
ピーク抑圧装置及びピーク抑圧方法
17日前
日本電気株式会社
リング共振器、およびその製造方法
1か月前
日本電気株式会社
リング共振器、およびその製造方法
1か月前
日本電気株式会社
システム及びマイグレーション方法
7日前
日本電気株式会社
推定装置、推定方法及びプログラム
10日前
日本電気株式会社
画像管理システムおよび画像管理方法
5日前
日本電気株式会社
処理装置、処理方法、及びプログラム
7日前
日本電気株式会社
推定装置、推定方法、及び、記録媒体
4日前
日本電気株式会社
波長可変レーザ装置及びその構成方法
3日前
日本電気株式会社
判定装置、判定方法、及び、プログラム
27日前
日本電気株式会社
通信システム及びパケット順序補正方法
18日前
日本電気株式会社
管理システム、管理方法及びプログラム
17日前
日本電気株式会社
通信装置、通信方法及び通信プログラム
4日前
日本電気株式会社
予測システム、予測方法及びプログラム
10日前
日本電気株式会社
注文端末、注文受付方法及びプログラム
3日前
日本電気株式会社
映像処理装置、映像処理方法、プログラム
7日前
日本電気株式会社
映像伝送装置、映像伝送方法、プログラム
7日前
日本電気株式会社
処理システム、処理方法およびプログラム
10日前
続きを見る
他の特許を見る