TOP
|
特許
|
意匠
|
商標
特許ウォッチ
Twitter
他の特許を見る
10個以上の画像は省略されています。
公開番号
2025144191
公報種別
公開特許公報(A)
公開日
2025-10-02
出願番号
2024043853
出願日
2024-03-19
発明の名称
衣服用の冷却装置
出願人
株式会社クロス
代理人
個人
主分類
A41D
13/002 20060101AFI20250925BHJP(衣類)
要約
【課題】ペルチェ素子の発熱を効率よく放熱することができるペルチェ素子を用いた冷却部を有する衣服用の冷却装置を提供する。
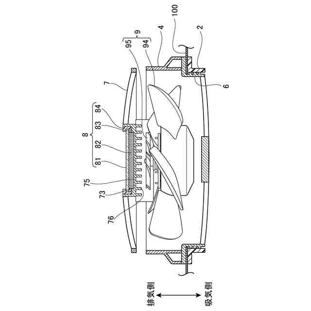
【解決手段】 ペルチェ素子を備えるペルチェ冷却部によって衣服の内部を冷却するように構成された衣服用の冷却装置であって、冷却装置は、少なくともファンを用いてペルチェ素子を放熱させるように構成されたファン冷却部を有し、冷却装置は、ファンの吸気穴または排気穴に、指が入らないようにガードするファンガード部を有し、ファンガード部を熱伝導性の良い金属で構成することにより、ファンガード部をペルチェ素子の放熱のためのヒートシンクとして用いられるように構成されているので、ペルチェ素子の発熱を効率よく放熱することができるものとなった。
【選択図】図6
特許請求の範囲
【請求項1】
ペルチェ素子を備えるペルチェ冷却部によって衣服の内部を冷却するように構成された衣服用の冷却装置であって、
前記冷却装置は、少なくともファンを用いて前記ペルチェ素子を放熱させるように構成されたファン冷却部を有し、
前記冷却装置は、前記ファンの吸気穴または排気穴に、指が入らないようにガードするファンガード部を有し、
前記ファンガード部を熱伝導性の良い金属で構成することにより、前記ファンガード部を前記ペルチェ素子の放熱のためのヒートシンクとして用いられるように構成されている
ことを特徴とする衣服用の冷却装置。
続きを表示(約 1,600 文字)
【請求項2】
前記ペルチェ冷却部は、前記ペルチェ素子よって冷却される冷却プレートを有し、
前記冷却装置は、前記冷却プレートを使用者の身体に接触させるか、または、前記冷却プレートにより前記衣服の内部で冷気を発生させるようにして、前記使用者の身体を冷却するように構成されている
ことを特徴とする請求項1記載の衣服用の冷却装置。
【請求項3】
前記冷却装置は、前記使用者の衣服に取り付け可能に構成され、
前記冷却装置は、前記ファン冷却部によって前記衣服内に空気を取り込むことで前記使用者の身体から出た汗を蒸発させて気化熱による冷却効果を得るとともに、前記ペルチェ冷却部によって前記使用者の身体を冷却させる構成を有し、
前記冷却装置は、前記衣服に前記ファン装置を取り付けるための取付け部を備えた筐体部を有し、
前記筐体部により、前記ファン冷却部と前記ペルチェ冷却部は保持され、
前記筐体部は、前記吸気穴および前記排気穴を有し、
前記ファン冷却部のファンにより、前記吸気穴から空気を取り込み、前記排気穴から前記衣服内に空気を放出させるように構成されている
ことを特徴とする請求項2記載の衣服用の冷却装置。
【請求項4】
前記排気穴には、前記ファン装置の内部に指等が入らないようにした排気穴ガードを有していて、
前記排気穴ガードが前記ファンガード部の構成を有し、
前記排気穴ガードは、前記ペルチェ冷却部を保持するペルチェ冷却部保持部を有し、
前記ペルチェ冷却部のペルチェ素子の発熱側の部分が前記ペルチェ冷却部保持部に固定されて、前記ペルチェ冷却部保持部を介して前記ペルチェ冷却部が放熱されるように構成されている
ことを特徴とする請求項3記載の衣服用の冷却装置。
【請求項5】
前記排気穴ガードは、前記ファン装置の排気側に膨出するよう構成され、
前記ペルチェ冷却部保持部は前記排気ガードの略頂部であって前記ファン冷却部の略軸心の位置に設けられていて、
前記ペルチェ冷却部の排気側には、前記ペルチェ冷却部の吸熱側の部分と結合された前記冷却プレートが設けられている
ことを特徴とする請求項4記載の衣服用の冷却装置。
【請求項6】
前記ファン冷却部の排気側には、前記ファンとともに回転し、前記ファンより小径の小径ファンを有しており、
前記小径ファンのよって、前記ペルチェ冷却部保持部の吸気側に風を送るよう構成されている
ことを特徴とする請求項5記載の衣服用の冷却装置。
【請求項7】
前記ペルチェ冷却部保持部の吸気側の部分に放熱フィンを有している
ことを特徴とする請求項6記載の衣服用の冷却装置。
【請求項8】
前記冷却プレートは、前記排気ガードの略頂部より一段凹んだ位置に設けられている
ことを特徴とする請求項5記載の衣服用の冷却装置。
【請求項9】
前記ファン装置は、接続ケーブルで結ばれ、前記ファン装置に電源を供給するコントローラを有し、
前記コントローラは、バッテリーと前記ファン冷却部と前記ペルチェ冷却部の駆動する能力を切り換える制御部を有し、
前記制御部に制御されて、前記ファン冷却部と前記ペルチェ冷却部はPWM駆動されるように構成されている
ことを特徴とする請求項1乃至請求項8記載の冷却装置。
【請求項10】
前記吸気穴は略網状に構成され前記ファン装置の内部に指等が入らないようにした吸気穴ガードを有していて、
吸気穴ガードの略中心部には、前記ファン装置の作動状態を表示する作動表示部を有している
ことを特徴とする請求項1乃至請求項8記載の衣服用の冷却装置。
(【請求項11】以降は省略されています)
発明の詳細な説明
【技術分野】
【0001】
本発明は衣服用の冷却装置に関する。より詳細には、衣服の内部を冷却するように構成された衣服用の冷却装置に関する。
続きを表示(約 2,400 文字)
【背景技術】
【0002】
近年、衣服の内部を冷却するように構成された衣服用の冷却装置が求められている。
【0003】
このような装置として、特許文献1にて開示されたファン装置、ファン付きウェアおよびファン本体取り付け具がある。これは、空調服(登録商標)として知られるものであって、ウェア本体の少し背面側の左右の脇腹の部分であって、腕とウェア本体の略中間の位置に設けられた2つの平面状のファン取り付け孔にそれぞれファン装置を取り付け、ファン装置が取り込んだ大量の外気を身体又は下着の表面と略平行に流通させることにより、身体から出た汗を蒸発させて、身体を冷却するというものである。
【0004】
そして、ウェア本体に設けられた取り付け孔に挿通される筒状部と、筒状部の軸方向の一端から筒状部の軸方向に直交する方向に突出するフランジ部と、を有するファン本体と、筒状部の外側からフランジ部との間でウェア本体の取り付け孔の縁部を挟み込んだ状態でファン本体に装着されるファン取り付け手段と、を備え、ファン取り付け手段は、筒状部の外周に全周を覆うように取り付けられるとともに、周方向に2つに分割された分割体により構成されるリング部材と、2つの分割体の周方向端部同士を固定する固定部材と、を備え、取り付け孔に挿通された筒状部の外周に取り付けた2つの分割体を、固定部材により固定することで、ファン本体をウェア本体に固定するように構成されている。
【0005】
また、このような装置として、特許文献2にて開示された熱交換ユニット及びそれを備えたウェアがある。これは、ペルチェ素子を利用しつつ、着衣者の身体を快適に冷房又は暖房できるようにするウェアであって、熱交換ユニットは、ウェアの生地に取り付けられ、ウェア内部とウェア外部とを仕切る仕切板と、仕切板に装着されるペルチェ素子と、仕切板のウェア内部側に設けられ、ペルチェ素子の一方の面の熱を伝導させる第1熱伝導部材と、第1熱伝導部材で熱交換された空気をウェア内部側に拡散させる第1のファンと、仕切板のウェア外部側に設けられ、ペルチェ素子の他方の面の熱を伝導させる第2熱伝導部材と、第2熱伝導部材で熱交換された空気をウェア外部側に放出させる第2のファンと、を備えるものである。
【0006】
また、このような装置として、特許文献3にて開示された空気調和ユニット及びそれを備えたウェアがある。これは、ペルチェ素子を利用しつつ、着衣者の身体を快適に冷房又は暖房できるようにしたものであって、熱交換プレートをユーザーの肩胛骨の間から腰に至る部分に直接的または間接的に接触させて、その部分を効率的に冷却または加熱ができるようにしたものである。
【0007】
そして、この空気調和ユニット及びそれを備えたウェアは、ペルチェ素子を利用してユーザーの身体を効率的に冷房又は暖房できるようにしたものであって、ユーザーの身体を冷房または暖房するための空気調和ユニットは、ペルチェ素子と、ペルチェ素子の一方の面に接合する金属板と、金属板よりも面積が大きく、金属板に接合した状態で身体側に配置される金属製の熱交換プレートと、ペルチェ素子の他方の面に配置されるヒートシンクと、ヒートシンクに対向して配置され、ヒートシンクの熱を外部に放出させるファンと、ヒートシンク及びファンを覆う状態に装着されるファンカバーと、を備えるものである。
【0008】
特に、夏場に冷房目的で空気調和ユニットをウェアに装着すると、身体の皮膚温度は約33℃であるのに対し、金属製の熱交換プレートは皮膚温度よりも低い温度であることが多い。そのため、着衣時には、身体が熱交換プレートに触れることにより、一定の涼感をユーザーに与えることができる。ただし、着衣時に得られる涼感は一時的なものであり、ペルチェ素子が駆動されていない場合には、熱交換プレートは、身体の皮膚温度と同じ温度まで次第に上昇していくことになる。一方、着衣後に直ぐにペルチェ素子を駆動すると、熱交換プレートが温度上昇し始める前にペルチェ素子は、熱交換プレートを冷却し始める。そのため、熱交換プレートの温度上昇を抑えることができる。つまり、夏の冷房目的で使用するときには、熱交換プレートの温度上昇を抑えるようにペルチェ素が熱交換プレートの熱を吸熱すれば良い。したがって、上述した空気調和ユニットは、ペルチェ素子の消費電力量を増加させることなく、着衣時からユーザーに涼感を与えることが可能であり、しかもその涼感を長時間継続させることができるという利点があるというものである。
【0009】
また、このような装置として、非特許文献1にて開示された冷蔵服(登録商標)がある。この装置は、ベストの背面に設けられたファン取り付け孔にファンを取り付け、外気を取り込無ことで気化熱による冷却効果を得るとともに、ファンとは別体のペルチェ素子の技術で冷える平面状のプレートを使用者の背中に密着させて、環境温度からマイナス15度の温度で、背中を継続して冷やすというものである。
【0010】
そして、このような装置として、非特許文献2にて開示されたペルチェ式急速冷却ファンがある。この装置は、本発明の出願人により開発されたものであり、ファン冷却部のファンにより、筐体部の吸気孔から外気を取り込み、筐体部の排気穴から前記身体に外気を放出させるように構成され、ペルチェ冷却部は、ペルチェ素子を挟んで身体側の面に冷却プレート、吸気側の面に放熱板を有していて、ファンにより取り込まれた外気により放熱板の熱を放熱させ、ペルチェ素子により冷却プレートを冷却させるように構成されている。また、冷却プレートは、身体側に向かって筐体部から膨出するように構成されている。
(【0011】以降は省略されています)
この特許をJ-PlatPat(特許庁公式サイト)で参照する
関連特許
個人
衿芯
4か月前
個人
和服
6か月前
個人
シャツ
2か月前
個人
中間着
21日前
個人
二部式袍
10か月前
個人
ネクタイ
2か月前
個人
下着
5か月前
個人
靴下
11か月前
個人
衣装
7か月前
個人
マスク
2か月前
個人
簡単帯
11か月前
個人
防虫服
21日前
個人
多機能装身具
3か月前
個人
ショーツ
11か月前
個人
:マスクカバー
3か月前
個人
手首穴付き手袋
12か月前
個人
シャツ改造方法
7か月前
個人
健康靴下
12か月前
東レ株式会社
防護服
1か月前
個人
作業補助ミトン
9か月前
個人
肩章付き衣服。
5か月前
有限会社原電業
指手袋
12か月前
東洋紡株式会社
マスク
1か月前
個人
ソフトキャミブラ
7か月前
株式会社聖
手足保護具
1か月前
個人
手袋
8か月前
株式会社聖
手足保護具
10か月前
個人
足首用サポーター
9か月前
個人
車椅子用グローブ
3か月前
個人
内フィルムマスク
1か月前
個人
レインコート
6か月前
興和株式会社
マスク
9か月前
株式会社マルイチ
二部式帯
1か月前
グンゼ株式会社
衣服
7か月前
個人
和装下着の半衿カバー
12か月前
個人
被介護者用上衣
4か月前
続きを見る
他の特許を見る