TOP
|
特許
|
意匠
|
商標
特許ウォッチ
Twitter
他の特許を見る
10個以上の画像は省略されています。
公開番号
2025144190
公報種別
公開特許公報(A)
公開日
2025-10-02
出願番号
2024043852
出願日
2024-03-19
発明の名称
作業用衣服
出願人
原田産業株式会社
,
株式会社クロス
代理人
個人
主分類
A41D
13/002 20060101AFI20250925BHJP(衣類)
要約
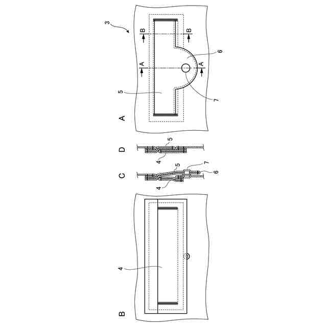
【課題】作業用衣服の開口部にD環または連結ベルト、ランヤード等を貫通させたとき、開口部から空気が流出してしまうことを抑止するとともに、D環の場合には、D環を開口部に係止させることのできる作業用衣服を提供する。
【解決手段】 衣服内に空気を流通させる送風手段を取付けるための取付け部を有する作業用衣服であって、安全保護具が貫通されるように構成された開口部とこれを塞ぐ閉止蓋を有し、閉止蓋は、開口部の三方向が固定され、一方向に開口可能に構成され、閉止蓋には、開口可能の方向に突出して係止部を有するフラップが設けられ、安全保護具を開口部に貫通させた状態で、フラップの係止部を係止することにより、安全保護具が貫通された開口部から空気が流れ出すのを抑止することができるものとなった。
【選択図】図1
特許請求の範囲
【請求項1】
衣服内に空気を流通させる送風手段を取付けるための取付け部を有する作業用衣服であって、
前記作業用衣服には安全保護具が貫通されるように構成された開口部を有し、
前記作業用衣服の表側には、前記開口部を塞ぐ閉止蓋を有し、
前記閉止蓋は、前記開口部の三方向が固定され、一方向に開口可能に構成され、
前記閉止蓋には、前記開口可能の方向に突出するフラップが設けられ
前記フラップには、前記フラップを前記作業用衣服に係止させるための係止部を有し、
安全保護具を開口部に貫通させた状態で、前記フラップの前記係止部を係止することにより、前記安全保護具が貫通された前記開口部から前記空気が流れ出すのを抑止するように構成されている
ことを特徴とする作業用衣服。
続きを表示(約 760 文字)
【請求項2】
前記安全保護具はD環であって、
前記フラップは舌片状の部分を有し、
前記舌片状の部分は、前記D環のDの字状の内側の幅と略同じ幅または小さい幅を有していて、
前記D環の先端部を前記開口部から前記作業用衣服の外側に突出させた状態で、前記D環のDの字状の内側の空間に前記舌片状の部分を挿入して、前記係止部を係止することにより、
前記D環を前記作業用衣服に係止させることができるように構成されている
ことを特徴とする請求項1記載の作業用衣服。
【請求項3】
前記安全保護具は連結ベルトまたはランヤードであって、
前記係止部と前記開口部の端部の幅、または、前記係止部が複数ある場合には複数の係止部の中の2つの係止部の幅が、前記連結ベルトまたは前記ランヤードを前記開口部に貫通させたときに必要な幅よりも大きく構成され、
前記開口部に前記連結ベルトまたは前記ランヤードを貫通させた状態で、前記係止部を係止することができるように構成されている
ことを特徴とする請求項1記載の作業用衣服。
【請求項4】
前記開口部は、前記作業用衣服の後身頃に設けられている
ことを特徴とする請求項1乃至3記載の作業用衣服。
【請求項5】
前記開口部は、前記作業用衣服を着用した使用者の背中上部に設けられるとともに、
前記取付け部は、前記作業用衣服を着用した使用者の肩甲骨の下近傍に配置されるように構成されている
ことを特徴とする請求項4記載の作業用衣服。
【請求項6】
前記開口部は、前記作業用衣服の前身頃に設けられている
ことを特徴とする請求項1乃至3記載の作業用衣服。
発明の詳細な説明
【技術分野】
【0001】
本発明は作業用衣服に関する。より詳細には、墜落制止用器具を装着して着用できる作業用衣服に関する。
続きを表示(約 1,800 文字)
【背景技術】
【0002】
近年、墜落制止用器具を装着して着用できる作業用衣服が求められている。
【0003】
このような作業用衣服として、特許文献1にて開示された作業服がある。ここで、高所作業では、墜落を防ぐため作業者は安全帯を装着するが、ハーネス型安全帯は、ランヤード(命綱)を背中の中央上部のランヤードコネクタに対して、取り付ける必要がある。ランヤードコネクタとしては、一般にD字状の金具(D環)が用いられている。ハーネス型安全帯を着用したその上に、作業服を着用する場合、ハーネス型安全帯のD環に相当する位置に、後身頃に開口部を設け、この開口部からD環を出してランヤードを接続する。
【0004】
そして、この作業服は、空気の出入りを防ぐ開口部を簡易に作成することができ、空気抜けを最小化した作業服であって、後身頃に設けられた開口部に安全保護具が通される作業服であって、後身頃の裏側から開口部よりも大きな閉塞片が開口部の上縁と左右縁に縫合されて、閉塞片の下縁から安全保護具のD環が作業服の外側に突出可能であって、閉塞片はさらに上縁が後身頃の内側に開くポケットを前記開口部に重なる位置に有しているというものである。
【0005】
すなわち、この閉塞片はポケットを設けられており、D環を開口部から出した際、閉塞片のポケットはD環の輪の内側に広がり、作業服内からの空気の流れを止めて、空気の抜けを最小限にすることができる。また、部分折り返し部を設けていることにより、ポケットが広がりやすくしたものである。すなわち、作業服内側の冷却が開始されると、D環の輪を通して脱出しようとする空気が、ポケットに捕獲され、ポケットが膨らむことになる。その結果、D環の輪の部分の空間が閉鎖されて、空気の抜けを最小限にする。このように、閉塞片は、あたかも逆止弁のように作用することができるというものである。
【0006】
また、作業用衣服ではないが、ポケットの構造として、特許文献2にて開示されたズボンのポケットがある。このズボンのポケットでは、口布の折り返し幅を大きくとることにより両玉縁を互いに重なり合わせ、下玉縁の外側に上玉縁が重なり合うよう貫抜きしてなるものである。そして、小銭等をポケットに入れたままポケットの口を下側にして吊るしても小銭等が落下せず、しかも、製作の手間も外観も従来のポケットと変わらないというものである。
【先行技術文献】
【特許文献】
【0007】
特許第6793413号公報
実開昭59-100820号公報
【発明の概要】
【発明が解決しようとする課題】
【0008】
しかしながら、特許文献1に記載の技術では、作業服にD環を係止する手段は設けられておらず、D環にランヤードを接続していない状態で、作業者が体を動かしたとき、D環は作業服から簡単に外れてしまうという不都合があった。
【0009】
また、特許文献2に記載の技術では、開口部にD環等の安全保護具を貫通させたとき、開口部から空気が流出してしまうという不都合があった。
ところで、衣服のポケットの開口部にフラップを付け、釦等の係止部でこのフラップを係止させることは周知ではあるが、この一般的なポケットのフラップは、例えば、小銭等をポケットに入れたままポケットの口を下側にして吊るしても小銭等が落下しないようにするという機能を有するものであった。そして、特許文献2に記載のズボンのポケットも、同様の機能を有するものである。そうすると、一方の構成があれば、衣服のポケットとして十分であり、あえて重複させて取り付けるという構成にする動機づけは生じないものと思われる。すなわち、ポケットの口において両玉縁を互いに重なり合わせた構成を有するものとした場合には、フラップを更に取り付けることに困難性が存在する、と考えられる。また、重複して取り付ければ、開口部の構造が複雑になってしまうという不都合も生じるものである。
【0010】
本発明の目的は、作業用衣服の開口部にD環または連結ベルト、ランヤード等を貫通させたとき、開口部から空気が流出してしまうことを抑止するとともに、D環の場合には、D環を開口部に係止させることのできる作業用衣服を提供することにある。
【課題を解決するための手段】
(【0011】以降は省略されています)
この特許をJ-PlatPat(特許庁公式サイト)で参照する
関連特許
原田産業株式会社
作業用衣服
1か月前
原田産業株式会社
ファン取付け部を有する衣服
2か月前
個人
衿芯
4か月前
個人
和服
6か月前
個人
シャツ
2か月前
個人
中間着
21日前
個人
二部式袍
10か月前
個人
ネクタイ
2か月前
個人
下着
5か月前
個人
靴下
11か月前
個人
衣装
7か月前
個人
マスク
2か月前
個人
簡単帯
11か月前
個人
防虫服
21日前
個人
多機能装身具
3か月前
個人
ショーツ
11か月前
個人
:マスクカバー
3か月前
個人
手首穴付き手袋
12か月前
個人
シャツ改造方法
7か月前
個人
健康靴下
12か月前
東レ株式会社
防護服
1か月前
個人
作業補助ミトン
9か月前
個人
肩章付き衣服。
5か月前
有限会社原電業
指手袋
12か月前
東洋紡株式会社
マスク
1か月前
個人
ソフトキャミブラ
7か月前
株式会社聖
手足保護具
1か月前
個人
手袋
8か月前
株式会社聖
手足保護具
10か月前
個人
足首用サポーター
9か月前
個人
車椅子用グローブ
3か月前
個人
内フィルムマスク
1か月前
個人
レインコート
6か月前
興和株式会社
マスク
9か月前
株式会社マルイチ
二部式帯
1か月前
グンゼ株式会社
衣服
7か月前
続きを見る
他の特許を見る