TOP
|
特許
|
意匠
|
商標
特許ウォッチ
Twitter
他の特許を見る
10個以上の画像は省略されています。
公開番号
2025144097
公報種別
公開特許公報(A)
公開日
2025-10-02
出願番号
2024043709
出願日
2024-03-19
発明の名称
シェル形ころ軸受、並びにこれを備える回転機械及び電動アクスルユニット
出願人
NTN株式会社
代理人
個人
,
個人
,
個人
,
個人
主分類
F16C
19/48 20060101AFI20250925BHJP(機械要素または単位;機械または装置の効果的機能を生じ維持するための一般的手段)
要約
【課題】軸の端部を支持する用途に対応のシェル外輪とラジアル軸受部とスラスト軸受部とを備えるシェル形ころ軸受の軸受幅を抑える。
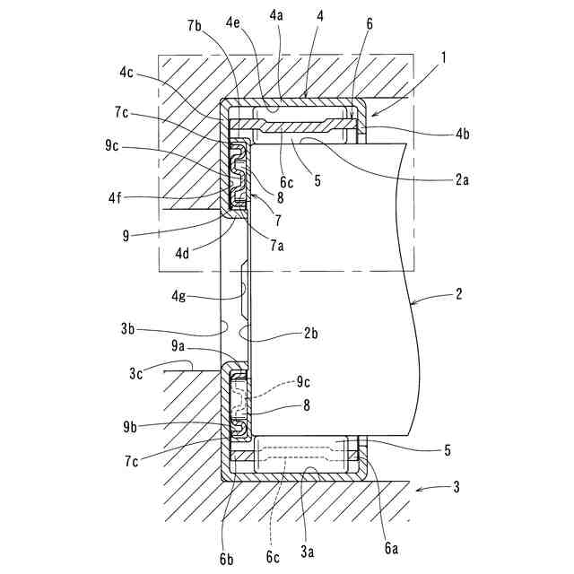
【解決手段】シェル外輪4は、筒部4aの軸方向一端側から突き出た一端側内鍔部4bと、筒部4aの軸方向他端側から比較的に突き出た他端側内鍔部4cとを有する。ラジアル軸受部は、筒部4aの第一の軌道面4eと、複数の第一の針状ころ5と、第一の保持器6とを有し、スラスト軸受部は、他端側内鍔部4cの第二の軌道面4fと、複数の第二の針状ころ8と、第二の保持器9とを有し、第一の保持器6は一端側環部6aと他端側環部6bとを有する。他端側内鍔部4cは第二の保持器9を径方向内側から径方向に支持する中心筒部4dを有する。スラスト軸受部は筒部4aから径方向内側に離れた状態に配置され、他端側環部6bはスラスト軸受部に対して径方向外側に位置するように筒部4aとスラスト軸受部との間に突き出ている。
【選択図】図1
特許請求の範囲
【請求項1】
軸方向及び円周方向に延びる筒部と、前記筒部の軸方向一端側から径方向内側へ突き出た一端側内鍔部と、前記筒部の軸方向一端側とは反対の軸方向他端側から径方向内側へ前記一端側内鍔部よりも突き出た他端側内鍔部とを有するシェル外輪と、
前記筒部に形成された第一の軌道面と、前記第一の軌道面を転動する複数の第一のころと、これら第一のころを保持する第一の保持器とを有するラジアル軸受部と、
前記他端側内鍔部に形成された第二の軌道面と、前記第二の軌道面を転動する複数の第二のころと、これら第二のころを保持する第二の保持器とを有するスラスト軸受部と、を備え、
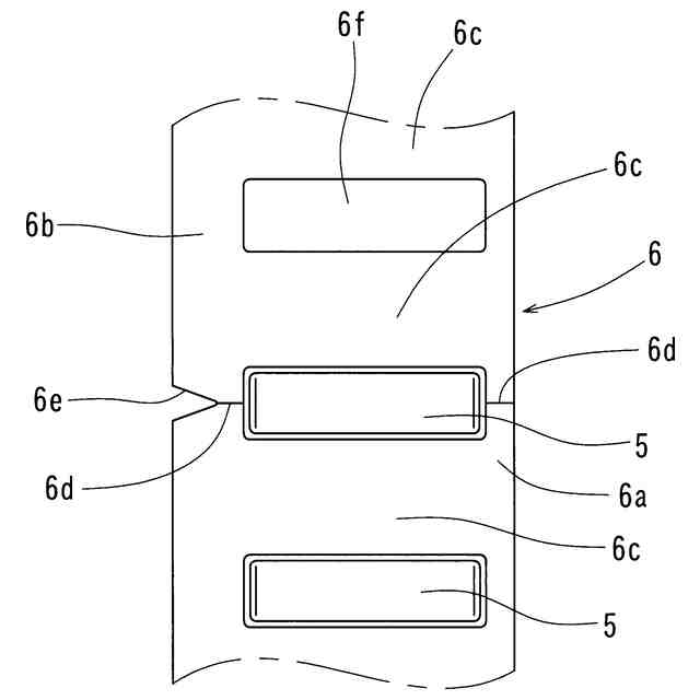
前記第一の保持器が、前記複数の第一のころに対して軸方向一端側で円周方向に延びる一端側環部と、これら第一のころに対して軸方向他端側で円周方向に延びる他端側環部とを有するシェル形ころ軸受において、
前記他端側内鍔部が、前記第二の保持器に対して径方向内側に位置しかつ前記第二の保持器を径方向に支持する中心筒部を有し、
前記他端側環部が、前記スラスト軸受部に対して径方向外側に位置するように前記筒部と前記スラスト軸受部との間に配置されていることを特徴とするシェル形ころ軸受。
続きを表示(約 910 文字)
【請求項2】
前記他端側環部が前記一端側環部よりも幅広に設けられている請求項1に記載のシェル形ころ軸受。
【請求項3】
前記一端側環部が、円周方向に突き合わせた部位を溶接した接合部を有し、
前記他端側環部が、前記一端側環部の接合部と軸方向に対向する位置で円周方向に突き合わせた部位を溶接した接合部と、溶接実施前に切り欠かれたノッチとを有する請求項2に記載のシェル形ころ軸受。
【請求項4】
前記他端側環部が前記他端側内鍔部に軸方向に突き合い可能な状態に配置されている請求項1から3のいずれか1項に記載のシェル形ころ軸受。
【請求項5】
前記複数の第二のころが、前記複数の第一のころと軸方向に対向不可な状態に配置されている請求項1から3のいずれか1項に記載のシェル形ころ軸受。
【請求項6】
前記スラスト軸受部の外径が、前記複数の第一の針状ころのピッチ円直径よりも小さく設けられている請求項1から3のいずれか1項に記載のシェル形ころ軸受。
【請求項7】
前記スラスト軸受部が、前記他端側内鍔部と軸方向に対向する軌道盤を含み、
前記軌道盤が、前記第二の保持器に対して径方向外側に位置する外周部と、前記外周部を前記第二の保持器と径方向に対向する位置に保つ分離止め部とを有する請求項1から3のいずれか1項に記載のシェル形ころ軸受。
【請求項8】
前記軌道盤の外径が、前記複数の第一の針状ころに対する仮想内接円の直径よりも大きく設けられている請求項7に記載のシェル形ころ軸受。
【請求項9】
前記他端側内鍔部が、前記第二の保持器を前記中心筒部と径方向に対向する位置に保つ抜け止め部を有する請求項7に記載のシェル形ころ軸受。
【請求項10】
前記第二の保持器の外径が、前記複数の第一の針状ころに対する仮想内接円の直径よりも大きく設けられており、
前記スラスト軸受部が軌道盤を含まない請求項1から3のいずれか1項に記載のシェル形ころ軸受。
(【請求項11】以降は省略されています)
発明の詳細な説明
【技術分野】
【0001】
この発明は、シェル外輪とラジアル軸受部とスラスト軸受部とを備え、軸の端部を支持するために使用されるシェル形ころ軸受、並びにこれを備える回転機械及び電動アクスルユニットに関する。
続きを表示(約 2,300 文字)
【背景技術】
【0002】
例えば、車両駆動用の電動モータと平行軸歯車減速機とインバータとを一体化した電動アクスルユニット(いわゆるe-Axle)では、平行軸歯車減速機の二段目以降の軸に設ける歯車としてはすば歯車を採用したものがある。はすば歯車の噛み合い部においては、ラジアル荷重とアキシャル荷重の両方が発生する。これら両方の荷重は、その軸をハウジングに対して回転自在に支持する転がり軸受に負荷される。この例のように、ラジアル荷重及びアキシャル荷重を軸の端部とハウジング間で負荷する用途のコンパクトな転がり軸受として、ラジアル軸受部とスラスト軸受部とを備えるシェル形ころ軸受がある(特許文献1)。
【0003】
特許文献1に開示されたシェル形ころ軸受は、円形筒部の両側に内鍔部が設けられ、その一端側内鍔部よりも他端側内鍔部が径方向に高く設けられたシェル外輪を備え、そのシェル外輪の内側にラジアル軸受部とスラスト軸受部とが組み込まれたものである。そのラジアル軸受部は、シェル外輪の円筒状部に形成された軌道面と、この軌道面を転動する複数の針状ころと、これら針状ころを保持する保持器とを有する。そのスラスト軸受部は、軸の端面に軸方向に支持される軌道盤と、シェル外輪の他端側内鍔部に形成された軌道面と、この軌道面と軌道盤との間に配置された複数の針状ころと、これら針状ころを保持する保持器とを有する。スラスト軸受部の保持器は、シェル外輪の円筒状部によって径方向に案内されるか、他端側内鍔部に形成された中心筒部によって径方向に案内される。スラスト軸受部の軌道盤、保持器及び針状ころは、ラジアル軸受部の保持器及び針状ころと軸方向に対向するように径方向外側へ突き出た状態に配置されている。このようなスラスト軸受部の軌道盤、保持器及び針状ころの配置により、シェル形ころ軸受が単独の状態であってもスラスト軸受部の非固定要素(軌道盤、保持器、針状ころ)がシェル外輪から軸方向に抜け落ちないようにラジアル軸受部で規制することができる。
【先行技術文献】
【特許文献】
【0004】
特開2002-206546号公報(図14、図16)
【発明の概要】
【発明が解決しようとする課題】
【0005】
しかしながら、特許文献1に開示されたシェル形ころ軸受は、ラジアル軸受部の針状ころとスラスト軸受部との間においてラジアル軸受部の保持器の他端側環部を配置するための軸方向間隔を確保する必要があり、その分、シェル形ころ軸受の幅を要する点で改良の余地がある。
【0006】
上述の背景に鑑み、この発明が解決しようとする課題は、軸の端部を支持する用途に対応のシェル外輪とラジアル軸受部とスラスト軸受部とを備えるシェル形ころ軸受の軸受幅を抑えることである。
【課題を解決するための手段】
【0007】
上記の課題を解決するため、この発明は、軸方向及び円周方向に延びる筒部と、前記筒部の軸方向一端側から径方向内側へ突き出た一端側内鍔部と、前記筒部の軸方向一端側とは反対の軸方向他端側から径方向内側へ前記一端側内鍔部よりも突き出た他端側内鍔部とを有するシェル外輪と、前記筒部に形成された第一の軌道面と、前記第一の軌道面を転動する複数の第一のころと、これら第一のころを保持する第一の保持器とを有するラジアル軸受部と、前記他端側内鍔部に形成された第二の軌道面と、前記第二の軌道面を転動する複数の第二のころと、これら第二のころを保持する第二の保持器とを有するスラスト軸受部と、を備え、前記第一の保持器が、前記複数の第一のころに対して軸方向一端側で円周方向に延びる一端側環部と、これら第一のころに対して軸方向他端側で円周方向に延びる他端側環部とを有するシェル形ころ軸受において、前記他端側内鍔部が、前記第二の保持器に対して径方向内側に位置しかつ前記第二の保持器を径方向に支持する中心筒部を有し、前記スラスト軸受部が前記筒部から径方向内側に離れた状態に配置されており、前記他端側環部が、前記スラスト軸受部に対して径方向外側に位置するように前記筒部と前記スラス前記ト軸受部との間に突き出た状態に配置されていることを特徴とするシェル形ころ軸受、という構成1を採用した。
【0008】
上記構成1のように、シェル外輪の他端側内鍔部に第二の保持器を径方向に支える中心筒部を設け、第二の保持器を筒部で径方向に支持することを不要とし、スラスト軸受部とシェル外輪の筒部とを径方向内側に離して、第一の保持器の他端側環部をスラスト軸受部に対して径方向外側の位置へ突出させるための空間を確保することが可能になる。その他端側環部の突出分、第一の保持器及び複数の第一のころの全部を他端側内鍔部に近寄せて配置することが可能になり、これにより、第一のころとスラスト軸受部との間の軸方向間隔を狭く設けてシェル形ころ軸受の軸受幅を抑えることができる。
【0009】
上記構成1において、前記他端側環部が前記一端側環部よりも幅広に設けられている、という構成2を採用することができる。
【0010】
上記構成2によると、第一の保持器における一端側環部の幅を比較的短く設ける分で第一のころを長く設けつつ、他端側環部の幅を比較的長く設けて第一の保持器の円環剛性を確保することができる。
(【0011】以降は省略されています)
この特許をJ-PlatPat(特許庁公式サイト)で参照する
関連特許
NTN株式会社
基板
13日前
NTN株式会社
ハンド
8日前
NTN株式会社
玉軸受
22日前
NTN株式会社
玉軸受
14日前
NTN株式会社
玉軸受
1か月前
NTN株式会社
玉軸受
21日前
NTN株式会社
玉軸受
今日
NTN株式会社
軸受装置
今日
NTN株式会社
軸受装置
今日
NTN株式会社
ころ軸受
2か月前
NTN株式会社
作業装置
6日前
NTN株式会社
把持装置
8日前
NTN株式会社
軸受装置
今日
NTN株式会社
軸受装置
今日
NTN株式会社
密封装置
6日前
NTN株式会社
軸受装置
20日前
NTN株式会社
焼結軸受
今日
NTN株式会社
把持装置
8日前
NTN株式会社
密封装置
1か月前
NTN株式会社
転がり軸受
今日
NTN株式会社
転がり軸受
14日前
NTN株式会社
転がり軸受
1か月前
NTN株式会社
深溝玉軸受
1か月前
NTN株式会社
転がり軸受
1か月前
NTN株式会社
転がり軸受
1か月前
NTN株式会社
転がり軸受
1日前
NTN株式会社
転がり軸受
8日前
NTN株式会社
荷積込装置
1日前
NTN株式会社
円筒ころ軸受
22日前
NTN株式会社
状態監視装置
7日前
NTN株式会社
シール付軸受
6日前
NTN株式会社
回転伝達装置
6日前
NTN株式会社
等速自在継手
20日前
NTN株式会社
円筒ころ軸受
1か月前
NTN株式会社
基板取付構造
20日前
NTN株式会社
軸受用保持器
1か月前
続きを見る
他の特許を見る