TOP
|
特許
|
意匠
|
商標
特許ウォッチ
Twitter
他の特許を見る
公開番号
2025144076
公報種別
公開特許公報(A)
公開日
2025-10-02
出願番号
2024043672
出願日
2024-03-19
発明の名称
セラミックヒータの制御装置、加熱装置、および、プログラム
出願人
日本特殊陶業株式会社
代理人
弁理士法人プロスペック特許事務所
主分類
H05B
3/00 20060101AFI20250925BHJP(他に分類されない電気技術)
要約
【課題】 セラミックヒータによって液体を加熱する場合にセラミックヒータの割れを防止すること。
【解決手段】 制御装置35は、通電により発熱する抵抗発熱体と、抵抗発熱体が埋設されたセラミック基体と、を有するセラミックヒータ20を制御する。この制御装置35は、抵抗発熱体に通電し、抵抗発熱体への通電中に抵抗発熱体の電気抵抗値が基準電気抵抗値Rrefに所定の許容電気抵抗値Racを加算した上限電気抵抗値Ruを超えた場合に、抵抗発熱体への通電を停止する。
【選択図】 図8
特許請求の範囲
【請求項1】
通電により発熱する抵抗発熱体と、前記抵抗発熱体が埋設されたセラミック基体と、を有するセラミックヒータを制御するセラミックヒータの制御装置であって、
前記制御装置は、
前記抵抗発熱体に通電し、
前記抵抗発熱体への通電中に前記抵抗発熱体の電気抵抗値が所定の基準電気抵抗値に所定の許容電気抵抗値を加算した上限電気抵抗値を超えた場合に前記抵抗発熱体への通電を停止する、
セラミックヒータの制御装置。
続きを表示(約 1,200 文字)
【請求項2】
請求項1に記載のセラミックヒータの制御装置であって、
前記制御装置は、
前記抵抗発熱体への通電の開始後に所定の時間間隔ごとに前記抵抗発熱体の電気抵抗値を取得し、
取得した前記抵抗発熱体の電気抵抗値が所定の値に漸近するか否かを判断し、
前記抵抗発熱体の電気抵抗値が所定の値に漸近すると判断したときに取得した電気抵抗値を前記基準電気抵抗値に設定し、
前記基準電気抵抗値を設定した後に取得した前記抵抗発熱体の電気抵抗値が上限電気抵抗値を超えた場合に、前記抵抗発熱体への通電を停止する、
セラミックヒータの制御装置。
【請求項3】
請求項2に記載のセラミックヒータの制御装置であって、
前記制御装置は、
取得した前記抵抗発熱体の電気抵抗値の上昇勾配が、前記抵抗発熱体の電気抵抗値が所定の値に漸近する可能性が高い上昇勾配として予め定められる閾値勾配未満であるか否かを判断し、
前記抵抗発熱体の電気抵抗値の上昇勾配が前記閾値勾配未満であると判断したときに取得した電気抵抗値を前記基準抵抗値に設定する、
セラミックヒータの制御装置。
【請求項4】
請求項2に記載のセラミックヒータの制御装置であって、
前記制御装置は、
前記抵抗発熱体の電気抵抗値が所定の値に漸近すると判断したときから予め設定した時間が経過した場合に、前記抵抗発熱体の電気抵抗値が前記上限電気抵抗値を超えることによって前記抵抗発熱体への通電を停止する処理を解除する、セラミックヒータの制御装置。
【請求項5】
請求項2に記載のセラミックヒータの制御装置であって、
前記許容電気抵抗値は、前記抵抗発熱体の電気抵抗値が前記上限電気抵抗値を超えた後に前記セラミックヒータに割れが生じる可能性が高い電気抵抗値として予め設定される、セラミックヒータの制御装置。
【請求項6】
請求項2に記載のセラミックヒータの制御装置であって、
前記セラミックヒータは、車両に搭載される装置内の流路を流れる液媒体を加熱するための熱交換器である、セラミックヒータの制御装置。
【請求項7】
通電により発熱する抵抗発熱体と、前記抵抗発熱体が埋設されたセラミック基体と、を有するセラミックヒータと、
請求項1乃至6のいずれか1項に記載のセラミックヒータの制御装置と、
を備える、加熱装置。
【請求項8】
通電により発熱する抵抗発熱体と、前記抵抗発熱体が埋設されたセラミック基体と、を有するセラミックヒータを制御するセラミックヒータの制御装置が備えるECUに、
前記抵抗発熱体に通電するステップと、
前記抵抗発熱体への通電中に前記抵抗発熱体の電気抵抗値が基準電気抵抗値に所定の許容電気抵抗値を加算した上限電気抵抗値を超えた場合に前記抵抗発熱体への通電を停止するステップと、
を実行させる、プログラム。
発明の詳細な説明
【技術分野】
【0001】
本開示は、セラミックヒータの制御装置、加熱装置、および、プログラムに関する。
続きを表示(約 2,000 文字)
【背景技術】
【0002】
抵抗発熱体が埋設されたセラミック基体を有するセラミックヒータは、小型且つ軽量であり、絶縁性および昇温性に優れることから、様々な用途に用いられる。特許文献1は、セラミックヒータによって液体を加熱する液体加熱装置を開示する。
【先行技術文献】
【特許文献】
【0003】
特開2023-160310号公報
【発明の概要】
【0004】
セラミックヒータにより液体を加熱する場合、セラミックヒータは抵抗発熱体の発熱によって加熱される一方で液体により冷却される。そのため、セラミックヒータの表面温度は抵抗発熱体による加熱と液体による冷却とのバランスがとれた所定温度に漸近する。そして、所定温度に漸近するセラミックヒータの表面を流れる液体が、セラミックヒータの熱により加熱される。
【0005】
セラミックヒータの表面を流れる液体の流量が減少したり、セラミックヒータの表面上に液体が滞留したような場合には、セラミックヒータによって液体が過度に加熱されることによって沸騰することがある。セラミックヒータの表面を流れる液体が沸騰した場合、セラミックヒータの表面に沸騰泡(沸騰により生じた気泡)が接触する。これによりセラミックヒータの表面に液体が接触しない領域が形成される。液体が接触しない領域は液体により冷却されないのでさらに温度上昇する。そして、例えば沸騰泡が移動することによって温度上昇した領域に液体が接触した場合、その表面が一気に液体により冷やされるために、セラミックヒータに熱衝撃が加えられる。セラミックヒータを構成するセラミック基体は熱衝撃に弱いため、斯かる熱衝撃が大きい場合にセラミックヒータに割れが発生する。
【0006】
本開示は、上記した課題を解決することを目的とする。すなわち本開示の目的の一つは、セラミックヒータによって液体を加熱する場合にセラミックヒータの割れを防止することができるような、セラミックヒータの制御装置、当該制御装置を有する加熱装置、および、セラミックヒータの制御装置が備えるECUが実行するプログラム、を提供することである。
【0007】
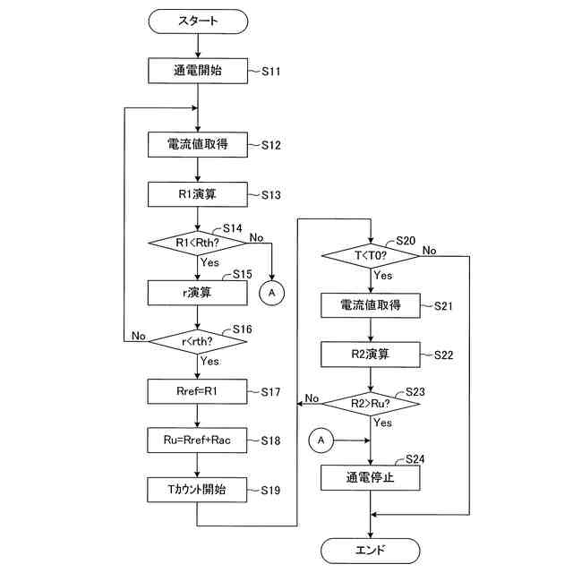
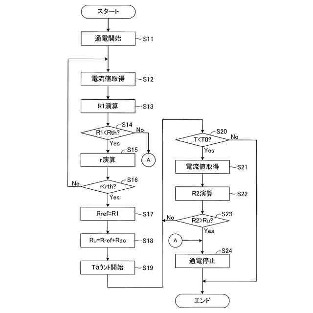
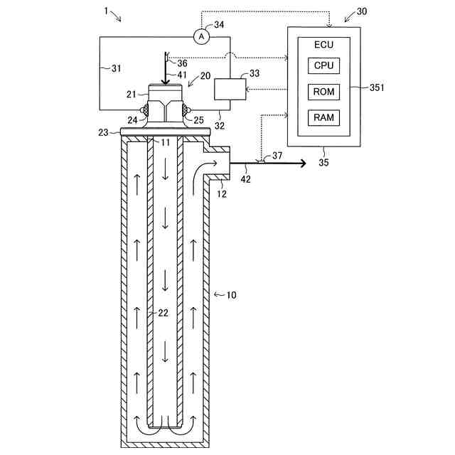
本開示に係るセラミックヒータ(20)の制御装置(35)は、通電により発熱する抵抗発熱体と、抵抗発熱体が埋設されたセラミック基体と、を有するセラミックヒータ(20)を制御するセラミックヒータの制御装置である。この制御装置(35)は、抵抗発熱体に通電し(S11)、抵抗発熱体への通電中に抵抗発熱体の電気抵抗値が所定の基準電気抵抗値(Rref)に所定の許容電気抵抗値(Rac)を加算した上限電気抵抗値(Ru)を超えた場合に(S23:Yes)、抵抗発熱体への通電を停止する(S24)。
【0008】
セラミックヒータに割れが生じる場合、抵抗発熱体の電気抵抗値が所定の基準電気抵抗値から上昇する傾向にある。本開示に係るセラミックヒータの制御装置は、抵抗発熱体の電気抵抗値が所定の基準電気抵抗値に所定の許容電気抵抗値を加算した上限電気抵抗値を超えた場合に、セラミックヒータに割れが生じる可能性が高いと判断して抵抗発熱体への通電を停止する。これにより、セラミックヒータの割れを未然に防止することができる。
【0009】
本開示に係るセラミックヒータの制御装置の一態様において、
制御装置(35)は、抵抗発熱体への通電の開始後に所定の時間間隔ごとに抵抗発熱体の電気抵抗値(R1)を取得し(S13)、取得した抵抗発熱体の電気抵抗値(R1)が所定の値に漸近するか否かを判断し(S16)、抵抗発熱体の電気抵抗値(R1)が所定の値に漸近すると判断したときに取得した電気抵抗値(R1)を基準電気抵抗値(Rref)に設定し(S17)、基準電気抵抗値(Rref)を設定した後に取得した抵抗発熱体の電気抵抗値(R2)が上限電気抵抗値(Ru)を超えた場合に(S23:Yes)、抵抗発熱体への通電を停止する(S24)。
【0010】
セラミックヒータに割れが生じる場合、抵抗発熱体の電気抵抗値がある値に漸近した後に上昇する傾向にある。上記構成によれば、制御装置は、抵抗発熱体の電気抵抗値が所定の値に漸近すると判断したときに取得する電気抵抗値を基準電気抵抗値に設定し、その後に取得した抵抗発熱体の電気抵抗値を上限電気抵抗値と比較する。そのため、抵抗発熱体の電気抵抗値がある値に漸近した後の電気抵抗値の上昇を適格に判断することができる。また、基準電気抵抗値を予め固定値に設定しておくのではなく、実際に抵抗発熱体に通電したときに取得した電気抵抗値に基づいて基準電気抵抗値を設定するため、セラミックヒータの個体差や使用環境に応じて変動する基準電気抵抗値を適切に設定することができる。
(【0011】以降は省略されています)
この特許をJ-PlatPat(特許庁公式サイト)で参照する
関連特許
日本特殊陶業株式会社
電極
今日
個人
電子部品の実装方法
2日前
株式会社コロナ
電気機器
2か月前
日本精機株式会社
回路基板
24日前
個人
非衝突型ガウス加速器
1か月前
キヤノン株式会社
電子機器
3か月前
アイホン株式会社
電気機器
1か月前
日本放送協会
基板固定装置
22日前
キヤノン株式会社
電子機器
16日前
アイホン株式会社
電気機器
16日前
個人
節電材料
1か月前
メクテック株式会社
配線基板
3か月前
メクテック株式会社
配線基板
1か月前
マクセル株式会社
配列用マスク
2か月前
東レ株式会社
霧化状活性液体供給装置
1か月前
トキコーポレーション株式会社
照明器具
2か月前
サクサ株式会社
筐体の壁掛け構造
1か月前
イビデン株式会社
配線基板
1か月前
イビデン株式会社
プリント配線板
2か月前
イビデン株式会社
プリント配線板
3か月前
イビデン株式会社
プリント配線板
22日前
FDK株式会社
基板
1日前
イビデン株式会社
配線基板
1か月前
イビデン株式会社
プリント配線板
2か月前
株式会社レゾナック
冷却装置
1日前
メクテック株式会社
配線モジュール
3か月前
日産自動車株式会社
電子機器
2か月前
オムロン株式会社
端子折り曲げ治具
4日前
日産自動車株式会社
電子部品
14日前
新電元工業株式会社
充電装置
2か月前
カシン工業株式会社
PTC発熱装置
2か月前
株式会社電気印刷研究所
金属画像形成方法
2か月前
新電元工業株式会社
電子装置
16日前
株式会社電気印刷研究所
金属画像形成方法
2か月前
富士電子工業株式会社
高周波焼入装置
1か月前
日本特殊陶業株式会社
配線基板
1か月前
続きを見る
他の特許を見る