TOP
|
特許
|
意匠
|
商標
特許ウォッチ
Twitter
他の特許を見る
公開番号
2025143894
公報種別
公開特許公報(A)
公開日
2025-10-02
出願番号
2024043393
出願日
2024-03-19
発明の名称
システム、代表端末、装置及び方法
出願人
株式会社NTTドコモ
代理人
個人
,
個人
,
個人
,
個人
主分類
H04M
3/54 20060101AFI20250925BHJP(電気通信技術)
要約
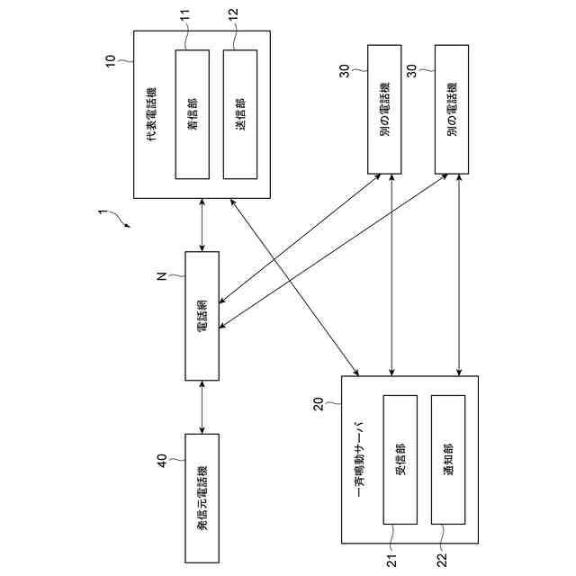
【課題】 複数の端末への着信を簡易に実現する。
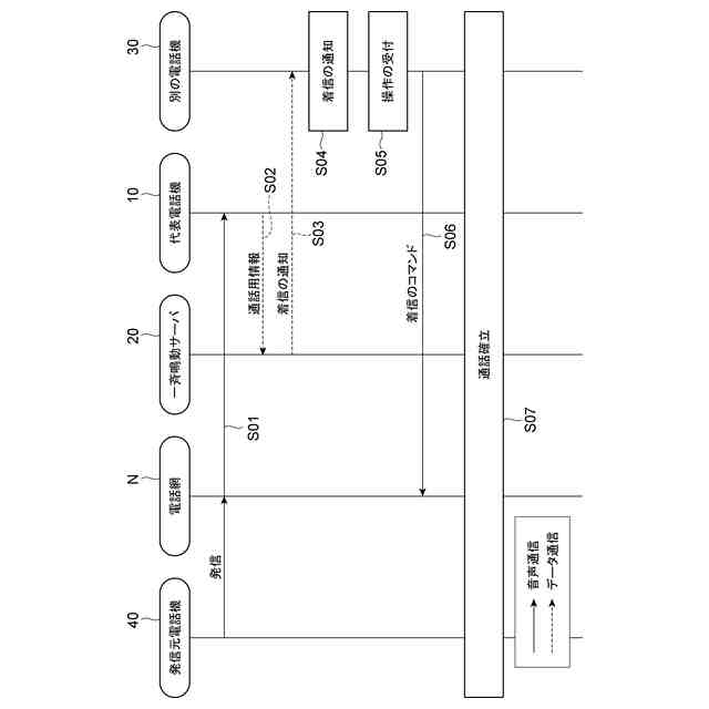
【解決手段】 システム1は、代表端末である代表電話機10と、装置である一斉鳴動サーバ20とを含み、代表電話機10は、通話用の接続を確立するための着信信号を受信する着信部11と、着信部11によって受信された着信信号に基づく通話用情報を一斉鳴動サーバ20に送信する送信部12と、を備え、一斉鳴動サーバ20は、代表電話機10から送信された通話用情報を受信する受信部21と、受信部21によって受信された通話用情報に基づいて、代表電話機10とは異なる複数の別の端末である別の電話機30に着信を通知する通知部22とを備える。
【選択図】 図1
特許請求の範囲
【請求項1】
代表端末と、装置とを含み、
前記代表端末は、
通話用の接続を確立するための着信信号を受信する着信部と、
前記着信部によって受信された着信信号に基づく通話用情報を前記装置に送信する送信部と、
を備え、
前記装置は、
前記代表端末から送信された通話用情報を受信する受信部と、
前記受信部によって受信された通話用情報に基づいて、前記代表端末とは異なる複数の別の端末に着信を通知する通知部と、
を備えるシステム。
続きを表示(約 670 文字)
【請求項2】
前記送信部は、前記着信信号から、発信元を示す情報を取得して、当該発信元を示す情報を含むと共に着信信号とは異なる通話用情報を前記装置に送信する請求項1に記載のシステム。
【請求項3】
前記通知部は、前記別の端末における電話用以外のアプリケーションに対して着信を通知する請求項1に記載のシステム。
【請求項4】
前記着信部は、着信の終了を検出して、
前記送信部は、前記着信部によって着信の終了が検出されたら、その旨を示す終了情報を前記装置に送信し、
前記受信部は、前記代表端末から送信された終了情報を受信し、
前記通知部は、前記受信部によって終了情報が受信されると、前記複数の別の端末に着信の終了を通知する請求項1に記載のシステム。
【請求項5】
請求項1に記載のシステムに含まれる代表端末。
【請求項6】
請求項1に記載のシステムに含まれる装置。
【請求項7】
代表端末が、通話用の接続を確立するための着信信号を受信する着信ステップと、
前記代表端末が、前記着信ステップにおいて受信された着信信号に基づく通話用情報を装置に送信する送信ステップと、
前記装置が、前記代表端末から送信された通話用情報を受信する受信ステップと、
前記装置が、前記受信ステップにおいて受信された通話用情報に基づいて、前記代表端末とは異なる複数の別の端末に着信を通知する通知ステップと、
を含む方法。
発明の詳細な説明
【技術分野】
【0001】
本発明は、通信に係るシステム及び方法、並びに当該システムに含まれる代表端末及び装置に関する。
続きを表示(約 1,300 文字)
【背景技術】
【0002】
従来、代表電話番号にかかってきた電話を、交換機が、代表電話番号に対応するグループに属する電話機に転送することが提案されている(例えば、特許文献1参照)。
【先行技術文献】
【特許文献】
【0003】
特開2009-278217号公報
【発明の概要】
【発明が解決しようとする課題】
【0004】
上記のような従来の方法では、複数の電話機に一斉に着信をさせるためには、電話網における交換機、又はPBX(構内交換機)等の既存の通話経路上に転送の機能を持たせる必要がある。転送の機能を有していない電話網で上記を実現させようとすると、交換機等の既存の経路上の装置の機能の追加が必要となり、導入へのハードルが高い。
【0005】
本発明は、上記に鑑みてなされたものであり、複数の端末への着信を簡易に実現することができるシステム、代表端末、装置及び方法を提供することを目的とする。
【課題を解決するための手段】
【0006】
上記の目的を達成するために、本発明に係るシステムは、代表端末と、装置とを含み、代表端末は、通話用の接続を確立するための着信信号を受信する着信部と、着信部によって受信された着信信号に基づく通話用情報を装置に送信する送信部と、を備え、装置は、代表端末から送信された通話用情報を受信する受信部と、受信部によって受信された通話用情報に基づいて、代表端末とは異なる複数の別の端末に着信を通知する通知部と、を備える。
【0007】
本発明に係るシステムでは、代表端末よって着信信号が受信されたら、代表端末から通話用情報を受信した装置によって、複数の端末への着信の通知が行われる。また、代表端末から通話用情報を受信する装置を設けることで、複数の端末への着信のために既存の経路上の装置の機能の追加を必要としない。即ち、本発明に係るシステムによれば、複数の端末への着信を簡易に実現することができる。
【0008】
また、本発明に係るシステムに含まれる代表端末及び装置それぞれは、それ自体が新規な構成を有しており発明である。
【0009】
ところで、本発明は、上記のようにシステムの発明として記述できる他に、以下のように方法の発明としても記述することができる。これらはカテゴリが異なるだけで、実質的に同一の発明であり、同様の作用及び効果を奏する。
【0010】
即ち、本発明に係る方法は、代表端末が、通話用の接続を確立するための着信信号を受信する着信ステップと、代表端末が、着信ステップにおいて受信された着信信号に基づく通話用情報を装置に送信する送信ステップと、装置が、代表端末から送信された通話用情報を受信する受信ステップと、装置が、受信ステップにおいて受信された通話用情報に基づいて、代表端末とは異なる複数の別の端末に着信を通知する通知ステップと、を含む。
【発明の効果】
(【0011】以降は省略されています)
特許ウォッチbot のツイートを見る
この特許をJ-PlatPat(特許庁公式サイト)で参照する
関連特許
株式会社NTTドコモ
端末
3日前
株式会社NTTドコモ
端末
3日前
株式会社NTTドコモ
端末
4日前
株式会社NTTドコモ
端末
3日前
株式会社NTTドコモ
端末
4日前
株式会社NTTドコモ
端末
3日前
株式会社NTTドコモ
端末
3日前
株式会社NTTドコモ
端末
4日前
株式会社NTTドコモ
端末
4日前
株式会社NTTドコモ
基地局
3日前
株式会社NTTドコモ
デバイス
3日前
株式会社NTTドコモ
デバイス
3日前
株式会社NTTドコモ
デバイス
4日前
株式会社NTTドコモ
デバイス
4日前
株式会社NTTドコモ
デバイス
3日前
株式会社NTTドコモ
デバイス
4日前
株式会社NTTドコモ
デバイス
4日前
株式会社NTTドコモ
リニアライザ
11日前
株式会社NTTドコモ
情報処理装置
10日前
株式会社NTTドコモ
装置及び方法
1日前
株式会社NTTドコモ
端末及び基地局
3日前
株式会社NTTドコモ
基地局及び端末
3日前
株式会社NTTドコモ
端末及び基地局
3日前
株式会社NTTドコモ
基地局及び端末
3日前
株式会社NTTドコモ
装置および方法
16日前
株式会社NTTドコモ
端末及び基地局
3日前
株式会社NTTドコモ
端末及び通信方法
4日前
株式会社NTTドコモ
端末及び通信方法
4日前
株式会社NTTドコモ
端末及び通信方法
4日前
株式会社NTTドコモ
端末及び通信方法
4日前
株式会社NTTドコモ
端末及び通信方法
4日前
株式会社NTTドコモ
端末及び通信方法
4日前
株式会社NTTドコモ
端末及び通信方法
4日前
株式会社NTTドコモ
端末及び通信方法
3日前
株式会社NTTドコモ
端末及び通信方法
4日前
株式会社NTTドコモ
端末及び通信方法
4日前
続きを見る
他の特許を見る