TOP
|
特許
|
意匠
|
商標
特許ウォッチ
Twitter
他の特許を見る
公開番号
2025143754
公報種別
公開特許公報(A)
公開日
2025-10-02
出願番号
2024043169
出願日
2024-03-19
発明の名称
電源制御装置、およびDC/DCコンバータ
出願人
ローム株式会社
代理人
弁理士法人 佐野特許事務所
主分類
H02M
3/155 20060101AFI20250925BHJP(電力の発電,変換,配電)
要約
【課題】回路面積を削減できる電源制御装置を提供する。
【解決手段】電源制御装置(11)は、ハイサイドトランジスタ(HM)と、並列に接続される複数のローサイドトランジスタ(LM1,LM2)と、前記ハイサイドトランジスタと前記ローサイドトランジスタとが接続される第1ノード(Nsw)に接続され、外部に出力コンデンサ(Cout)を接続可能に構成されるスイッチ端子(SW)と、前記複数のローサイドトランジスタの少なくとも一部(LM2)をオン状態に駆動することで、前記出力コンデンサを前記スイッチ端子および前記ローサイドトランジスタを介してディスチャージさせるように構成される駆動制御部(111)と、を備える。
【選択図】図2
特許請求の範囲
【請求項1】
ハイサイドトランジスタと、
並列に接続される複数のローサイドトランジスタと、
前記ハイサイドトランジスタと前記ローサイドトランジスタとが接続される第1ノードに接続され、外部に出力コンデンサを接続可能に構成されるスイッチ端子と、
前記複数のローサイドトランジスタの少なくとも一部をオン状態に駆動することで、前記出力コンデンサを前記スイッチ端子および前記ローサイドトランジスタを介してディスチャージさせるように構成される駆動制御部と、
を備える、電源制御装置。
続きを表示(約 1,200 文字)
【請求項2】
前記複数のローサイドトランジスタは、一部の第1ローサイドトランジスタと、残りの一部の第2ローサイドトランジスタと、を含み、
前記駆動制御部は、前記出力コンデンサをディスチャージするときに、前記第1ローサイドトランジスタをオフ状態としつつ、前記第2トランジスタをオン状態とする、請求項1に記載の電源制御装置。
【請求項3】
前記駆動制御部は、前記第1ローサイドトランジスタの制御端を駆動するための第1駆動信号と、制御信号が入力され、かつ前記第2ローサイドトランジスタの制御端に対して第2駆動信号を出力するように構成される論理回路を有する、請求項2に記載の電源制御装置。
【請求項4】
前記論理回路は、OR回路である、請求項3に記載の電源制御装置。
【請求項5】
前記論理回路は、複数の前記第2ローサイドトランジスタのそれぞれに対応して複数設けられ、
複数の前記制御信号のそれぞれが前記複数の論理回路のそれぞれに入力される、請求項3に記載の電源制御装置。
【請求項6】
前記複数の制御信号のレベルを設定可能に構成されるメモリを備える、請求項5に記載の電源制御装置。
【請求項7】
前記駆動制御部は、前記第1ローサイドトランジスタをオフ状態とするときに、前記第2ローサイドトランジスタの制御端に所定電圧を印加することで前記第2ローサイドトランジスタをオン状態とするように構成される電圧印加部を有する、請求項2に記載の電源制御装置。
【請求項8】
前記電圧印加部は、電源電圧を所定の分圧比で分圧することで前記所定電圧を生成し、
前記分圧比は、可変である、請求項7に記載の電源制御装置。
【請求項9】
前記電圧印加部は、前記所定電圧が生成される第2ノードと、前記電源電圧の印加端と前記第2ノードとの間に直列に接続される第1抵抗および第1スイッチと、前記第2ノードの印加端とグランド電位の印加端との間に直列に接続される第2抵抗および第2スイッチと、を有し、
前記第1抵抗と前記第2抵抗のうち少なくとも一方は、可変抵抗であり、
前記駆動制御部は、前記第2ローサイドトランジスタの制御端を駆動するための駆動信号の印加端と、前記第2ノードとの間に接続される第3スイッチを有する、請求項8に記載の電源制御装置。
【請求項10】
前記ハイサイドトランジスタ、前記ローサイドトランジスタ、および前記駆動制御部を有する第1DC/DC制御部と、
前記DC/DC制御部とは別の少なくとも1つの第2DC/DC制御部と、
を備え、
前記ローサイドトランジスタに接続されるグランドと、前記第2DC/DC制御部に含まれるローサイドトランジスタに接続されるグランドは独立している、請求項1に記載の電源制御装置。
(【請求項11】以降は省略されています)
発明の詳細な説明
【技術分野】
【0001】
本開示は、電源制御装置に関する。
続きを表示(約 1,100 文字)
【背景技術】
【0002】
従来、DC/DCコンバータを制御するための電源制御装置が様々に提案されている(例えば、特許文献1)。DC/DCコンバータには、出力側において出力コンデンサが設けられる。
【先行技術文献】
【特許文献】
【0003】
特開2023-82752号公報
【0004】
[概要]
電源制御装置においては、回路面積の削減が要望されている。
【0005】
上記状況に鑑み、本開示は、回路面積を削減できる電源制御装置を提供することを目的とする。
【0006】
本開示の一態様に係る電源制御装置は、
ハイサイドトランジスタと、
並列に接続される複数のローサイドトランジスタと、
前記ハイサイドトランジスタと前記ローサイドトランジスタとが接続される第1ノードに接続され、外部に出力コンデンサを接続可能に構成されるスイッチ端子と、
前記複数のローサイドトランジスタの少なくとも一部をオン状態に駆動することで、前記出力コンデンサを前記スイッチ端子および前記ローサイドトランジスタを介してディスチャージさせるように構成される駆動制御部と、
を備える構成としている。
【図面の簡単な説明】
【0007】
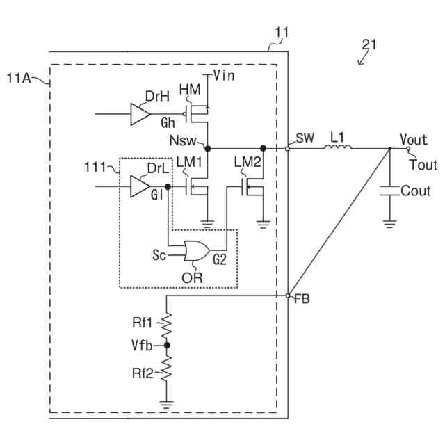
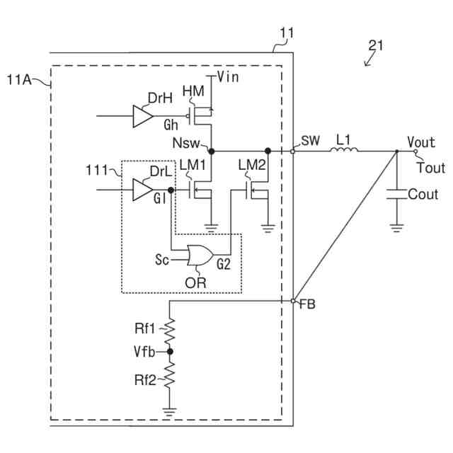
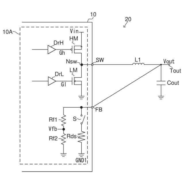
図1は、比較例に係るDC/DCコンバータの構成を示す図である。
図2は、第1実施形態に係るDC/DCコンバータの構成を示す図である。
図3は、第2実施形態に係るDC/DCコンバータの構成を示す図である。
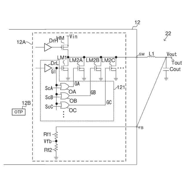
図4は、第3実施形態に係るDC/DCコンバータの構成を示す図である。
図5は、第4実施形態に係るDC/DCコンバータの構成を示す図である。
【0008】
[詳細な説明]
以下、本開示の例示的な実施形態について、図面を参照して説明する。
【0009】
<比較例>
本開示の実施形態について説明する前に、対比のための比較例について説明する。これにより、課題がより明らかになる。図1は、比較例に係るDC/DCコンバータ20の構成を示す図である。
【0010】
図1に示すDC/DCコンバータ20は、直流電圧である入力電圧Vinを直流電圧である出力電圧Voutに変換する降圧型コンバータである。DC/DCコンバータ20は、電源制御装置10と、電源制御装置10の外部に設けられるディスクリートな素子であるインダクタL1および出力コンデンサCoutと、を備える。
(【0011】以降は省略されています)
この特許をJ-PlatPat(特許庁公式サイト)で参照する
関連特許
ローム株式会社
タイマ
7日前
ローム株式会社
発振回路
3日前
ローム株式会社
監視回路
3日前
ローム株式会社
電子装置
3日前
ローム株式会社
半導体装置
22日前
ローム株式会社
半導体装置
14日前
ローム株式会社
半導体装置
3日前
ローム株式会社
半導体装置
3日前
ローム株式会社
半導体装置
7日前
ローム株式会社
メモリ装置
3日前
ローム株式会社
半導体装置
13日前
ローム株式会社
半導体装置
1日前
ローム株式会社
半導体装置
1日前
ローム株式会社
半導体装置
22日前
ローム株式会社
半導体装置
1日前
ローム株式会社
半導体装置
1日前
ローム株式会社
信号出力回路
13日前
ローム株式会社
信号出力回路
13日前
ローム株式会社
定電圧生成回路
13日前
ローム株式会社
半導体集積回路
14日前
ローム株式会社
半導体記憶装置
6日前
ローム株式会社
半導体記憶装置
6日前
ローム株式会社
縦型ホール素子
3日前
ローム株式会社
TVSダイオード
1日前
ローム株式会社
窒化物半導体装置
21日前
ローム株式会社
TVSダイオード
1日前
ローム株式会社
半導体モジュール
3日前
ローム株式会社
半導体集積回路装置
21日前
ローム株式会社
差動回路及び発振器
15日前
ローム株式会社
電界効果トランジスタ
3日前
ローム株式会社
半導体装置および車両
14日前
ローム株式会社
電源回路用の電子負荷装置
7日前
ローム株式会社
アナログデジタル変換装置
21日前
ローム株式会社
表示装置及びソースドライバ
14日前
ローム株式会社
ソースドライバ及び表示装置
14日前
ローム株式会社
差動アンプおよび半導体装置
13日前
続きを見る
他の特許を見る