TOP
|
特許
|
意匠
|
商標
特許ウォッチ
Twitter
他の特許を見る
公開番号
2025132781
公報種別
公開特許公報(A)
公開日
2025-09-10
出願番号
2024030570
出願日
2024-02-29
発明の名称
半導体装置
出願人
ローム株式会社
代理人
弁理士法人太陽国際特許事務所
主分類
H01L
21/3205 20060101AFI20250903BHJP(基本的電気素子)
要約
【課題】実装面積の増加を抑制しながら、EM耐性の低下を抑制する半導体装置を提供する。
【解決手段】半導体装置は、第1配線群が、素子領域から、素子領域に隣接して第2電源の生成に利用する回路が配置される回路領域まで、第1特定方向に延伸することで、当該回路に含まれる素子に接続され、第3配線群は、回路領域から内部電源供給幹線まで、第1特定方向と異なる第2特定方向に延伸することで、回路領域に設けられている第1配線群と内部電源供給幹線とを電気的に接続する内部電源供給支線を含み、内部電源供給支線の少なくとも一部は、第1メタル層から第2メタル層に向かって内部電源供給支線を見た場合、第1配線群及び素子の一部とオーバーラップする。
【選択図】図3
特許請求の範囲
【請求項1】
複数のトランジスタにより、外部から供給される第1電源の電圧を、電圧が前記第1電源の電圧よりも低く内部回路を駆動する第2電源の電圧に変換する電源回路を備えた半導体装置であって、
複数の前記トランジスタを含む素子領域の上部に設けられた第1メタル層と、
前記第1メタル層を複数の前記トランジスタに接続する第1コンタクトと、
前記第1メタル層の上部に設けられる第2メタル層と、
前記第2メタル層を前記第1メタル層に接続する第2コンタクトと、
複数の前記トランジスタが備える第1端子同士を、前記第1コンタクトを介して共通接続する、前記第1メタル層に含まれる第1配線群と、
複数の前記トランジスタが備える前記第1端子とは異なる第2端子同士を、前記第1コンタクトを介して共通接続する、前記第1メタル層に含まれる第2配線群と、
前記第1配線群を、前記第2コンタクトを介して共通接続する、前記第2メタル層に含まれる第3配線群と、
前記第2メタル層の上部に設けられる第3メタル層と、
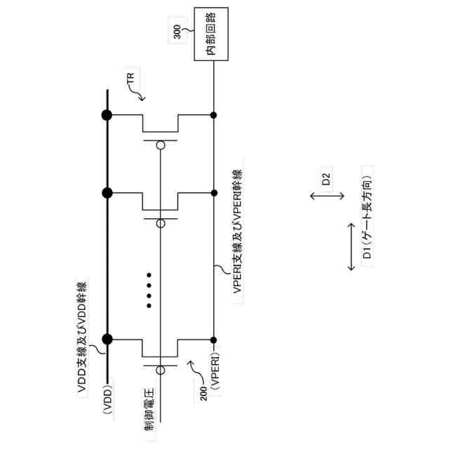
前記第1電源を複数の前記トランジスタに供給する、前記第3メタル層に含まれる外部電源供給幹線と、
前記第2電源を前記内部回路に供給する、前記第3メタル層に含まれる内部電源供給幹線と、
を備え、
前記第1配線群は、前記素子領域から、前記素子領域に隣接して前記第2電源の生成に利用する回路が配置される回路領域まで、第1特定方向に延伸することで、当該回路に含まれる素子に接続され、
前記第3配線群は、前記回路領域から前記内部電源供給幹線まで、前記第1特定方向と異なる第2特定方向に延伸することで、前記回路領域に設けられている前記第1配線群と前記内部電源供給幹線とを電気的に接続する内部電源供給支線を含み、
前記内部電源供給支線の少なくとも一部は、前記第1メタル層から前記第2メタル層に向かって前記内部電源供給支線を見た場合、前記第1配線群及び前記素子の一部とオーバーラップする、半導体装置。
続きを表示(約 790 文字)
【請求項2】
前記第3配線群は、前記素子領域から前記外部電源供給幹線まで、前記第2特定方向に延伸することで、前記素子領域に設けられている第2配線群と前記外部電源供給幹線を電気的に接続する外部電源供給支線を含み、
前記外部電源供給支線の少なくとも一部は、前記第1メタル層から前記第2メタル層に向かって前記内部電源供給支線を見た場合、前記第1配線群及び前記第2配線群の一部とオーバーラップする、請求項1に記載の半導体装置。
【請求項3】
前記内部回路は、半導体記憶回路を含む、請求項1に記載の半導体装置。
【請求項4】
前記素子は、半導体記憶回路に含まれる容量を利用した位相補償容量である、請求項1に記載の半導体装置。
【請求項5】
前記第1特定方向は、複数の前記トランジスタのゲート長方向である、請求項1に記載の半導体装置。
【請求項6】
MIM(Metal-Insulator-Metal)構造を有する容量素子を備え、
前記容量素子は、前記第2メタル層の上部に設けられている、請求項1に記載の半導体装置。
【請求項7】
前記第3メタル層に設けられる第3メタル層内部電源供給支線を備え、
前記第3配線群に含まれる前記内部電源供給支線は、
前記第3メタル層内部電源供給支線から前記回路領域まで前記第2特定方向に延伸する、前記第2メタル層に含まれる第1支線と、
前記第3メタル層内部電源供給支線から前記内部電源供給幹線まで前記第2特定方向に延伸する、前記第2メタル層に含まれる第2支線と、
を含む、請求項1に記載の半導体装置。
【請求項8】
前記第1支線及び前記第2支線の上層又は下層に、前記素子が設けられている、請求項7に記載の半導体装置。
発明の詳細な説明
【技術分野】
【0001】
本開示は、電源回路を備えた半導体装置に関する。
続きを表示(約 2,000 文字)
【背景技術】
【0002】
半導体装置に利用されるDRAM(Dynamic Random Access Memory)は高速化により消費電流が増加しているため、従来より、内部降圧回路によって消費電流を削減する試みがなされる一方で、プロセス的な高速化への対応として、AL(ALuminium)配線層を薄くして寄生容量を減らす試みもなされている。ただし、これらは、いずれもAL配線層のEM(Electro Magnetic)耐性を指数的に劣化させている。
【0003】
このように、内部降圧回路の電流供給量が増加し、配線層のEM信頼性の低下や高温動作の必要性も相俟って、内部降圧回路に接続する電源支線は、これまでドライバを構成するトランジスタの幅程度に収まっていた線幅を、指数的に増やさなければならなくなった。これにより、半導体装置の実装面積が増加し得る。
【0004】
特許文献1には、論理ゲートの電源支線にEM耐性の高い材料を使用することで、EM耐性と高速化、高集積化を両立する方法が提案されている。
【先行技術文献】
【特許文献】
【0005】
特開平3-16135号公報
【発明の概要】
【発明が解決しようとする課題】
【0006】
しかしながら、降圧電源回路のドライバを構成するトランジスタの配線に、EM耐性の高い配線を使うと、AL配線の約500倍もの電気抵抗が生じるため、降圧電圧の電圧降下が大きくなり、例えば50mAを供給すると25V降下し、実用的ではない。このように従来技術は、半導体装置の実装面積の増加を抑制しながら、EM耐性の低下を抑制する上で改善の余地がある。
【0007】
本開示は、上記の事情を踏まえ、実装面積の増加を抑制しながら、EM耐性の低下を抑制する半導体装置を提供することを目的とする。
【課題を解決するための手段】
【0008】
上記課題を解決するため、本開示にかかる半導体装置は、複数のトランジスタにより、外部から供給される第1電源の電圧を、電圧が前記第1電源の電圧よりも低く内部回路を駆動する第2電源の電圧に変換する電源回路を備えた半導体装置であって、複数の前記トランジスタを含む素子領域の上部に設けられた第1メタル層と、前記第1メタル層を複数の前記トランジスタに接続する第1コンタクトと、前記第1メタル層の上部に設けられる第2メタル層と、前記第2メタル層を前記第1メタル層に接続する第2コンタクトと、複数の前記トランジスタが備える第1端子同士を、前記第1コンタクトを介して共通接続する、前記第1メタル層に含まれる第1配線群と、複数の前記トランジスタが備える前記第1端子とは異なる第2端子同士を、前記第1コンタクトを介して共通接続する、前記第1メタル層に含まれる第2配線群と、前記第1配線群を、前記第2コンタクトを介して共通接続する、前記第2メタル層に含まれる第3配線群と、前記第2メタル層の上部に設けられる第3メタル層と、前記第1電源を複数の前記トランジスタに供給する、前記第3メタル層に含まれる外部電源供給幹線と、前記第2電源を前記内部回路に供給する、前記第3メタル層に含まれる内部電源供給幹線と、を備え、前記第1配線群は、前記素子領域から、前記素子領域に隣接して前記第2電源の生成に利用する回路が配置される回路領域まで、第1特定方向に延伸することで、当該回路に含まれる素子に接続され、前記第3配線群は、前記回路領域から前記内部電源供給幹線まで、前記第1特定方向と異なる第2特定方向に延伸することで、前記回路領域に設けられている前記第1配線群と前記内部電源供給幹線とを電気的に接続する内部電源供給支線を含み、前記内部電源供給支線の少なくとも一部は、前記第1メタル層から前記第2メタル層に向かって前記内部電源供給支線を見た場合、前記第1配線群及び前記素子の一部とオーバーラップする。
【図面の簡単な説明】
【0009】
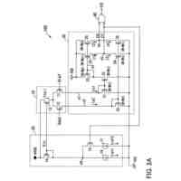
図1は本開示の実施形態にかかる電源回路200を備えた半導体装置100の概略構成図である。
図2は電源回路200の概略図である。
図3は半導体装置100の構成図である。
図4は半導体装置100の構成図である。
図5は変形例にかかる半導体装置100Aの構成図である。
図6は変形例にかかる半導体装置100Aの構成図である。
図7は比較例にかかる半導体装置100Bの構成図である。
【発明を実施するための形態】
【0010】
以下、実施形態を図面に基づいて説明する。なお、同一の機能や構成には、同一又は類似の符号を付して、その説明を適宜省略する。
(【0011】以降は省略されています)
この特許をJ-PlatPat(特許庁公式サイト)で参照する
関連特許
ローム株式会社
駆動回路
今日
ローム株式会社
半導体装置
5日前
ローム株式会社
半導体装置
今日
ローム株式会社
半導体装置
今日
ローム株式会社
半導体装置
5日前
ローム株式会社
半導体装置
5日前
ローム株式会社
半導体装置
1日前
ローム株式会社
半導体装置
今日
ローム株式会社
無線通信回路
今日
ローム株式会社
時間測定回路
今日
ローム株式会社
フォトダイオード
今日
ローム株式会社
アンテナ付高周波モジュール
今日
ローム株式会社
半導体装置および半導体装置ユニット
今日
ローム株式会社
半導体装置の製造方法および半導体装置
今日
ローム株式会社
マイクロコンピュータのメモリ制御回路
今日
ローム株式会社
アナログディジタル変換回路、制御システム
1日前
ローム株式会社
表示ドライバ、表示装置及びエージング試験方法
1日前
ローム株式会社
電圧検知回路、表示ドライバ、表示装置及び比較器
今日
ローム株式会社
無線受電装置、無線給電システム、及び無線受電方法
1日前
ローム株式会社
画像処理装置、画像処理方法、及び画像処理プログラム
今日
ローム株式会社
電源制御装置、絶縁型DC/DCコンバータ、およびACアダプタ
1日前
ローム株式会社
半導体装置、シリアル伝送システム、データをシリアル伝送する方法
1日前
日本発條株式会社
積層体
9日前
ローム株式会社
半導体装置
7日前
ローム株式会社
半導体装置
5日前
個人
防雪防塵カバー
9日前
ローム株式会社
半導体装置
今日
ローム株式会社
半導体装置
7日前
ローム株式会社
半導体装置
7日前
個人
半導体パッケージ用ガラス基板
8日前
太陽誘電株式会社
全固体電池
5日前
株式会社GSユアサ
蓄電装置
5日前
株式会社GSユアサ
蓄電装置
9日前
株式会社ホロン
冷陰極電子源
5日前
日本特殊陶業株式会社
保持装置
9日前
日本特殊陶業株式会社
保持装置
7日前
続きを見る
他の特許を見る