TOP
|
特許
|
意匠
|
商標
特許ウォッチ
Twitter
他の特許を見る
公開番号
2025149554
公報種別
公開特許公報(A)
公開日
2025-10-08
出願番号
2024050279
出願日
2024-03-26
発明の名称
マイクロコンピュータのメモリ制御回路
出願人
ローム株式会社
代理人
弁理士法人太陽国際特許事務所
主分類
G06F
9/38 20180101AFI20251001BHJP(計算;計数)
要約
【課題】来と比較してマイクロコンピュータの処理速度を向上させることが可能なマイクロコンピュータのメモリ制御回路を提供する。
【解決手段】マイクロコンピュータのメモリ制御回路は、プロセッサがメモリから命令を読み出すアドレス及び次のアドレスをメモリアドレスレジスタに、当該アドレスの命令及び次のアドレスの命令を命令メモリにそれぞれ格納するとともに、前記次のアドレス及び当該次のアドレスの命令を第1命令キャッシュに格納するメモリ読み出し制御回路と、前記プロセッサが前記メモリから次の命令を読み出す際に、前記メモリアドレスレジスタに格納されているアドレスと前記第1命令キャッシュに格納されているアドレスとが不一致であった場合に、前記メモリアドレスレジスタに格納されているアドレス、当該アドレスの命令及び不一致の発生回数を第2命令キャッシュに格納するキャッシュコントローラと、を備える。
【選択図】図1
特許請求の範囲
【請求項1】
命令が格納されているメモリと、
前記メモリから命令を読み出して実行するプロセッサと、
を備えるマイクロコンピュータのメモリ制御回路であって、
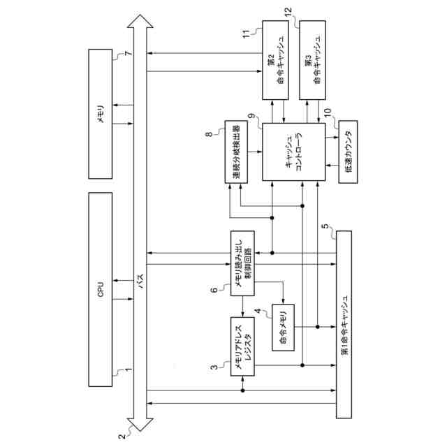
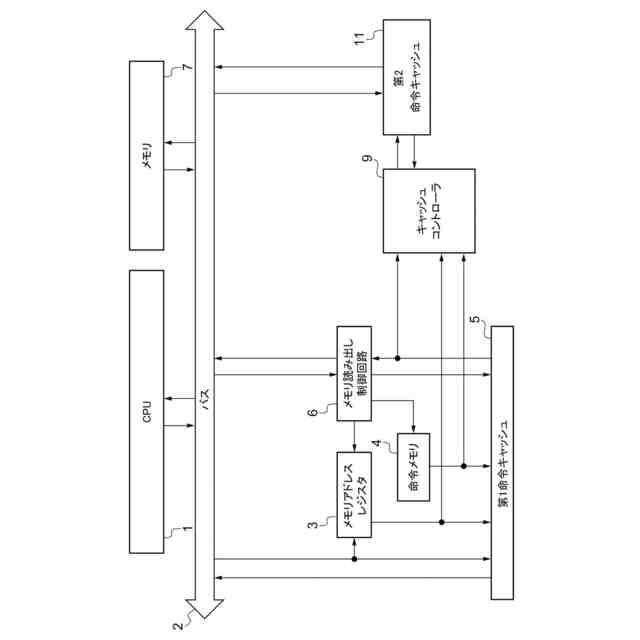
前記プロセッサが前記メモリから命令を読み出すアドレス及び次のアドレスをメモリアドレスレジスタに、当該アドレスの命令及び次のアドレスの命令を命令メモリにそれぞれ格納するとともに、前記次のアドレス及び当該次のアドレスの命令を第1命令キャッシュに格納するメモリ読み出し制御回路と、
前記プロセッサが前記メモリから次の命令を読み出す際に、前記メモリアドレスレジスタに格納されているアドレスと前記第1命令キャッシュに格納されているアドレスとが不一致であった場合に、前記メモリアドレスレジスタに格納されているアドレス、当該アドレスの命令及び不一致の発生回数を第2命令キャッシュに格納するキャッシュコントローラと、
を備えるマイクロコンピュータのメモリ制御回路。
続きを表示(約 510 文字)
【請求項2】
前記プロセッサが前記メモリから次の命令を読み出す際に、前記メモリアドレスレジスタに格納されているアドレスと前記第1命令キャッシュに格納されているアドレスとが不一致であった場合において、前記メモリアドレスレジスタに格納されているアドレスが連続して分岐しているときに、前記キャッシュコントローラに当該アドレスを前記第2命令キャッシュから削除させる連続分岐検出器をさらに備える、請求項1に記載のマイクロコンピュータのメモリ制御回路。
【請求項3】
前記キャッシュコントローラは、前記プロセッサが前記メモリから次の命令を読み出す際に、前記メモリアドレスレジスタに格納されているアドレスと前記第1命令キャッシュに格納されているアドレスとが不一致であった場合において、前記第2命令キャッシュの格納領域の上限まで前記メモリアドレスレジスタに格納されているアドレス、当該アドレスの命令及び不一致の発生回数が格納されているときに、前記メモリアドレスレジスタに格納されているアドレス、当該アドレスの命令及び不一致の発生回数を第3命令キャッシュに格納する、請求項1に記載のマイクロコンピュータのメモリ制御回路。
発明の詳細な説明
【技術分野】
【0001】
本開示は、マイクロコンピュータのメモリ制御回路に関する。
続きを表示(約 1,800 文字)
【背景技術】
【0002】
特許文献1には、実行中プログラムループの命令列をループ処理の終了までキャッシュメモリに駐在させることで、プログラム処理を高速化させるキャッシュメモリ制御方式の技術が開示されている。
【先行技術文献】
【特許文献】
【0003】
特開平04-333929号公報
【発明の概要】
【発明が解決しようとする課題】
【0004】
CPU(Central Processing Unit)から読み出すアドレスが連続している場合は、キャッシュメモリから高速に読み出し可能であるが、割込みが発生した場合や、分岐命令が来た場合には、読み出すアドレスは連続しないので、高速なキャッシュメモリからではなく、低速なメモリから読み出しが行われるため、マイクロコンピュータの処理速度が低下する問題があった。
【0005】
本開示は、上記の点に鑑みてなされたものであり、従来と比較してマイクロコンピュータの処理速度を向上させることが可能なマイクロコンピュータのメモリ制御回路を提供することを目的とする。
【課題を解決するための手段】
【0006】
本開示のある観点によれば、命令が格納されているメモリと、前記メモリから命令を読み出して実行するプロセッサと、を備えるマイクロコンピュータのメモリ制御回路であって、前記プロセッサが前記メモリから命令を読み出すアドレス及び次のアドレスをメモリアドレスレジスタに、当該アドレスの命令及び次のアドレスの命令を命令メモリにそれぞれ格納するとともに、前記次のアドレス及び当該次のアドレスの命令を第1命令キャッシュに格納するメモリ読み出し制御回路と、前記プロセッサが前記メモリから次の命令を読み出す際に、前記メモリアドレスレジスタに格納されているアドレスと前記第1命令キャッシュに格納されているアドレスとが不一致であった場合に、前記メモリアドレスレジスタに格納されているアドレス、当該アドレスの命令及び不一致の発生回数を第2命令キャッシュに格納するキャッシュコントローラと、を備えるマイクロコンピュータのメモリ制御回路が提供される。
【0007】
前記マイクロコンピュータのメモリ制御回路は、前記プロセッサが前記メモリから次の命令を読み出す際に、前記メモリアドレスレジスタに格納されているアドレスと前記第1命令キャッシュに格納されているアドレスとが不一致であった場合において、前記メモリアドレスレジスタに格納されているアドレスが連続して分岐しているときに、前記キャッシュコントローラに当該アドレスを前記第2命令キャッシュから削除させる連続分岐検出器をさらに備えてもよい。
【0008】
前記キャッシュコントローラは、前記プロセッサが前記メモリから次の命令を読み出す際に、前記メモリアドレスレジスタに格納されているアドレスと前記第1命令キャッシュに格納されているアドレスとが不一致であった場合において、前記第2命令キャッシュの格納領域の上限まで前記メモリアドレスレジスタに格納されているアドレス、当該アドレスの命令及び不一致の発生回数が格納されているときに、前記メモリアドレスレジスタに格納されているアドレス、当該アドレスの命令及び不一致の発生回数を第3命令キャッシュに格納してもよい。
【発明の効果】
【0009】
本開示によれば、従来と比較してマイクロコンピュータの処理速度を向上させることが可能なマイクロコンピュータのメモリ制御回路を提供することができる。
【図面の簡単な説明】
【0010】
開示の技術の実施形態に係るマイクロコンピュータのメモリ制御回路の構成を説明する図である。
第2命令キャッシュに格納される情報の例を示す図である。
図1に示したマイクロコンピュータの命令読み出し動作を示す図である。
開示の技術の実施形態に係るマイクロコンピュータのメモリ制御回路の構成を説明する図である。
第3命令キャッシュに格納される情報の例を示す図である。
開示の技術の実施形態の比較例となるマイクロコンピュータのメモリ制御回路について説明する図である。
図6に示したマイクロコンピュータの命令読み出し動作を示す図である。
【発明を実施するための形態】
(【0011】以降は省略されています)
この特許をJ-PlatPat(特許庁公式サイト)で参照する
関連特許
ローム株式会社
半導体装置
今日
ローム株式会社
半導体装置
今日
ローム株式会社
暗号化装置
今日
ローム株式会社
半導体装置
今日
ローム株式会社
半導体装置
今日
ローム株式会社
テスト回路
今日
ローム株式会社
無線通信装置
今日
ローム株式会社
無線通信回路
1日前
ローム株式会社
半導体装置及び半導体チップ
今日
ローム株式会社
半導体装置、および通信システム
今日
ローム株式会社
半導体装置、および通信システム
今日
ローム株式会社
音波処理装置、ソナー装置及び車両
今日
ローム株式会社
スイッチ装置及び負荷駆動システム
今日
ローム株式会社
半導体装置、検査方法及び半導体チップ
今日
ローム株式会社
バッテリ制御装置及びバッテリ制御方法
今日
ローム株式会社
過電流保護回路、半導体装置、電源装置
今日
ローム株式会社
過電流保護回路、半導体チップ、電源装置
今日
ローム株式会社
半導体装置及び半導体装置の動作テスト方法
今日
ローム株式会社
階調電圧生成回路、ソースドライバ及び表示装置
今日
ローム株式会社
情報処理装置、情報処理プログラム及び情報処理方法
今日
ローム株式会社
スイッチ装置、負荷駆動システム及びスイッチシステム
今日
ローム株式会社
モータコントローラ、モータコントロールプログラム及びモータシステム
今日
個人
工程設計支援装置
1か月前
個人
地球保全システム
8日前
個人
冷凍食品輸出支援構造
1か月前
個人
為替ポイント伊達夢貯
1か月前
個人
表変換編集支援システム
28日前
個人
残土処理システム
1日前
個人
携帯情報端末装置
1か月前
個人
知財出願支援AIシステム
1か月前
個人
結婚相手紹介支援システム
1か月前
個人
知的財産出願支援システム
2日前
個人
行動時間管理システム
1か月前
個人
パスワード管理支援システム
28日前
個人
AIによる情報の売買の仲介
1か月前
個人
海外支援型農作物活用システム
20日前
続きを見る
他の特許を見る