TOP
|
特許
|
意匠
|
商標
特許ウォッチ
Twitter
他の特許を見る
10個以上の画像は省略されています。
公開番号
2025132780
公報種別
公開特許公報(A)
公開日
2025-09-10
出願番号
2024030569
出願日
2024-02-29
発明の名称
半導体装置
出願人
ローム株式会社
代理人
弁理士法人太陽国際特許事務所
主分類
G06F
3/00 20060101AFI20250903BHJP(計算;計数)
要約
【課題】パッケージサイズの増加を抑制する半導体装置を提供する。
【解決手段】半導体装置は、第1の半導体チップと信号線を介して通信する第2の半導体チップと、第1の半導体チップの状態を検出する動作を開始することを示す開始信号を受信した場合、特定のクロック信号に従ってカウント値のカウントアップを行い、前記カウント値に基づき、信号線を介して受信した第1の半導体チップの第1の状態を示す信号の値と、第1の状態とは異なる第1の半導体チップの第2の状態を示す信号の値とを取り込む信号取り込み部を備え、前記信号取り込み部は、第2の半導体チップに設けられている。
【選択図】図3
特許請求の範囲
【請求項1】
第1の半導体チップと信号線を介して通信する第2の半導体チップと、
前記第1の半導体チップの状態を検出する動作を開始することを示す開始信号を受信した場合、特定のクロック信号に従ってカウント値のカウントアップを行い、前記カウント値に基づき、前記信号線を介して受信した前記第1の半導体チップの第1の状態を示す信号の値と、前記第1の状態とは異なる前記第1の半導体チップの第2の状態を示す信号の値とを取り込む信号取り込み部を備え、
前記信号取り込み部は、前記第2の半導体チップに設けられている、半導体装置。
続きを表示(約 890 文字)
【請求項2】
前記信号取り込み部は、
前記開始信号を受信したときに前記カウント値のカウントアップを開始するカウンタと、
前記カウント値が第1の値の場合には前記第1の状態を示す信号の値を選択するための第1の選択信号を出力し、前記カウント値が前記第1の値と異なる第2の値の場合には前記第2の状態を示す信号の値を選択するための第2の選択信号を出力する選択部と、
前記第1の選択信号の入力時に前記第1の状態を示す信号の値を保持し、前記第2の選択信号の入力時に前記第2の状態を示す信号の値を保持する保持部を備える、請求項1に記載の半導体装置。
【請求項3】
前記信号取り込み部は、
前記開始信号を受信したときに前記カウント値のカウントアップを開始するカウンタと、
前記カウント値が第1の値から前記第1の値よりも大きい第2の値に達するまで、前記第1の状態を示す信号の値を複数回連続して選択するための第1の選択信号を出力し、前記カウント値が前記第2の値よりも大きい第3の値から前記第3の値よりも大きい第4の値に達するまで、前記第2の状態を示す信号の値を複数回連続して選択するための第2の選択信号を出力する選択部と、
前記第1の選択信号の入力時に前記第1の状態を示す信号の値を複数回連続して保持し、前記第2の選択信号の入力時に前記第2の状態を示す信号の値を複数回連続して保持する保持部と、
前記複数回連続で保持された複数の前記第1の状態を示す信号の値と複数の前記第2の状態を示す信号の値とのそれぞれの多数決を取り、複数の前記第1の状態を示す信号の値の中で最も多い信号の値と、複数の前記第2の状態を示す信号の値の中で最も多い信号の値とを保持する多数決保持部を備える、請求項1に記載の半導体装置。
【請求項4】
前記保持部に保持された前記第1の状態を示す信号の値及び前記第2の状態を示す信号の値に基づき、前記第1の半導体チップの状態を検出する状態検出部を備える、請求項2又は3に記載の半導体装置。
発明の詳細な説明
【技術分野】
【0001】
本開示は、半導体装置に関する。
続きを表示(約 1,800 文字)
【背景技術】
【0002】
特許文献1に開示されるマルチダイパッケージは、複数のダイ(半導体チップ)がデータを通信するため、多くのチップ間信号線を備えている。例えば、複数の半導体チップ同士が互いの状態をチェックするための状態信号の種類が1つの場合、複数の半導体チップが互いに通信するために1つの信号線が利用される。
【先行技術文献】
【特許文献】
【0003】
特表2018-510512号公報
【発明の概要】
【発明が解決しようとする課題】
【0004】
しかしながら、複数の状態をチェックするため、状態信号の種類が複数ある場合には、それぞれの状態信号を個別に伝送するための信号線が増加し、複数の信号線を接続するために半導体装置上の端子数が増加し、さらに複数の半導体装置を搭載するパッケージのサイズも大きくなり得る。このように従来技術は、チップ間通信で状態信号を伝送する上で改善の余地がある。
【0005】
本開示は、上記の事情を踏まえ、パッケージサイズの増加を抑制する半導体装置を提供することを目的とする。
【課題を解決するための手段】
【0006】
上記課題を解決するため、本開示にかかる半導体装置は、第1の半導体チップと信号線を介して通信する第2の半導体チップと、前記第1の半導体チップの状態を検出する動作を開始することを示す開始信号を受信した場合、特定のクロック信号に従ってカウント値のカウントアップを行い、前記カウント値に基づき、前記信号線を介して受信した前記第1の半導体チップの第1の状態を示す信号の値と、前記第1の状態とは異なる前記第1の半導体チップの第2の状態を示す信号の値とを取り込む信号取り込み部と、を備え、前記信号取り込み部は、前記第2の半導体チップに設けられている。
【図面の簡単な説明】
【0007】
図1は本開示の実施形態にかかる半導体装置100の外観図である。
図2Aは本開示の実施形態にかかる半導体装置100のハードウエア構成図である。
図2Bは本開示の実施形態にかかる半導体装置100のハードウエア構成図である。
図3は半導体装置100の構成例を示す図である。
図4は半導体装置100の動作を説明するためのタイミングチャートである。
図5は比較例にかかる半導体装置100Aの構成例を示す図である。
図6は比較例にかかる半導体装置100Aの動作を説明するためのタイミングチャートである。
図7は変形例にかかる半導体装置100-1の構成例を示す図である。
図8は変形例にかかる半導体装置100-1の動作を説明するためのタイミングチャートである。
【発明を実施するための形態】
【0008】
以下、実施形態を図面に基づいて説明する。なお、同一の機能や構成には、同一又は類似の符号を付して、その説明を適宜省略する。
【0009】
(実施形態)
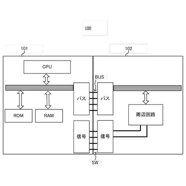
図1は本開示の実施形態にかかる半導体装置100の外観図である。図2A及び図2Bは本開示の実施形態にかかる半導体装置100のハードウエア構成図である。半導体装置100はマルチダイ集積回路と解釈してよい。半導体装置100は、第1の半導体チップ101及び第2の半導体チップ102を備えてよい。第1の半導体チップ101及び第2の半導体チップ102のそれぞれはダイ(Die)と解釈してよい。図2Aに示すように第2の半導体チップ102は、信号線SWとバスBUSを介して、第1の半導体チップ101と通信する。
【0010】
図2Bに示すように半導体装置100は、入出力I/F(Inter Face)41、メモリ42、及びプロセッサ43を備えてよい。入出力I/F41は、外部機器と通信するためのインタフェースと解釈してよい。メモリ42は、状態を監視するプログラム42aを格納してよい。プロセッサ43は、プログラム42aを展開することで、特定処理を実行してよい。プログラム42aにより実現される機能は後述する信号取り込み部及び状態検出部と解釈してよい。
(【0011】以降は省略されています)
この特許をJ-PlatPat(特許庁公式サイト)で参照する
関連特許
個人
詐欺保険
8日前
個人
縁伊達ポイン
8日前
個人
QRコードの彩色
12日前
個人
地球保全システム
21日前
個人
表変換編集支援システム
1か月前
個人
農作物用途分配システム
7日前
個人
残土処理システム
14日前
個人
タッチパネル操作指代替具
1日前
個人
知的財産出願支援システム
15日前
個人
パスワード管理支援システム
1か月前
個人
携帯端末障害問合せシステム
今日
個人
スケジュール調整プログラム
今日
個人
システム及びプログラム
1か月前
株式会社キーエンス
受発注システム
20日前
株式会社キーエンス
受発注システム
20日前
株式会社キーエンス
受発注システム
20日前
個人
食品レシピ生成システム
20日前
個人
海外支援型農作物活用システム
1か月前
個人
AIキャラクター制御システム
1か月前
個人
人格進化型対話応答制御システム
1か月前
キヤノン株式会社
印刷システム
今日
個人
音声・通知・再配達UX制御構造
15日前
個人
帳票自動生成型SaaSシステム
15日前
キヤノン株式会社
表示システム
20日前
大同特殊鋼株式会社
疵判定方法
27日前
個人
音声対話型帳票生成支援システム
1か月前
個人
未来型家系図構築システム
1か月前
個人
SaaS型勤務調整支援システム
1か月前
エッグス株式会社
情報処理装置
1日前
個人
社会還元・施設向け供給支援構造
1か月前
サクサ株式会社
中継装置
1か月前
株式会社カネカ
製造工場の管理システム
15日前
個人
マーケティング活動支援装置
19日前
中部電力株式会社
学習装置
1か月前
株式会社竹中工務店
管理システム
1か月前
フリー株式会社
情報処理システム
27日前
続きを見る
他の特許を見る