TOP
|
特許
|
意匠
|
商標
特許ウォッチ
Twitter
他の特許を見る
10個以上の画像は省略されています。
公開番号
2025143730
公報種別
公開特許公報(A)
公開日
2025-10-02
出願番号
2024043111
出願日
2024-03-19
発明の名称
位相補間回路、回路装置及び発振器
出願人
セイコーエプソン株式会社
代理人
個人
,
個人
,
個人
,
個人
主分類
H03K
5/00 20060101AFI20250925BHJP(基本電子回路)
要約
【課題】位相分割の線形性を向上できる位相補間回路等の提供。
【解決手段】クロック信号CK1とクロック信号CK2を位相補間した補間クロック信号PICKを生成する位相補間回路は、電源ノードNDとノードN1の間に設けられ、クロック信号CK1がアクティブの場合に流れる電流I1と、クロック信号CK2がアクティブの場合に流れる電流I2を、ノードN1に供給する電流源回路40と、ノードN1と電源ノードNGの間に設けられ、クロック信号CK1及びクロック信号CK2が非アクティブの場合にオンになる放電用のトランジスターTDと、クロック信号CK1、CK2の位相補間の比を指示する位相補間信号PIに基づいて、電流I1、I2の電流比を設定する電流制御回路50と、ノードN1の信号に基づいて補間クロック信号PICKを出力する出力回路60を含む。
【選択図】図1
特許請求の範囲
【請求項1】
第1クロック信号と、前記第1クロック信号とは位相が異なる第2クロック信号を位相補間した補間クロック信号を生成する位相補間回路であって、
第1電源ノードと第1ノードとの間に設けられ、前記第1クロック信号がアクティブになった場合に流れる第1電流と、前記第2クロック信号がアクティブになった場合に流れる第2電流を、前記第1ノードに供給する電流源回路と、
前記第1ノードと第2電源ノードとの間に設けられ、前記第1クロック信号及び前記第2クロック信号が非アクティブになった場合にオンになる放電用のトランジスターと、
前記第1クロック信号と前記第2クロック信号との位相補間の比を指示する位相補間信号に基づいて、前記第1電流と前記第2電流との電流比を設定する電流制御回路と、
前記第1ノードの信号に基づいて、前記補間クロック信号を出力する出力回路と、
を含むことを特徴とする位相補間回路。
続きを表示(約 1,700 文字)
【請求項2】
請求項1に記載された位相補間回路において、
前記電流制御回路は、
前記第2クロック信号に対応する信号に比べて前記第1クロック信号に対応する信号に近い位相の前記補間クロック信号を生成する前記位相補間信号が入力されたとき、前記第2電流に比べて前記第1電流を大きくする前記電流比を設定することを特徴とする位相補間回路。
【請求項3】
請求項1に記載された位相補間回路において、
前記電流制御回路は、
前記第1クロック信号に対応する信号に比べて前記第2クロック信号に対応する信号に近い位相の前記補間クロック信号を生成する前記位相補間信号が入力されたとき、前記第1電流に比べて前記第2電流を大きくする前記電流比を設定することを特徴とする位相補間回路。
【請求項4】
請求項1に記載された位相補間回路において、
前記電流制御回路は、
前記第1クロック信号に対応する信号と前記第2クロック信号に対応する信号をm:nの比で位相補間する前記位相補間信号が入力されたとき、前記第1電流と前記第2電流の前記電流比をn:mに設定することを特徴とする位相補間回路。
【請求項5】
請求項1に記載された位相補間回路において、
前記出力回路は、
前記第1ノードに一端が接続されるキャパシターと、
前記第1ノードの信号が入力されるバッファー回路と、
を含むことを特徴とする位相補間回路。
【請求項6】
請求項1に記載された位相補間回路において、
前記電流源回路は、
前記第1電源ノードと前記第1ノードとの間に並列に設けられた複数の電流源トランジスターを含み、
前記電流制御回路は、
前記第1クロック信号又は前記第2クロック信号から前記位相補間信号に基づき選択した複数の選択クロック信号の各選択クロック信号を、前記複数の電流源トランジスターの各電流源トランジスターのゲートに出力することを特徴とする位相補間回路。
【請求項7】
請求項6に記載された位相補間回路において、
前記電流制御回路は、複数のセレクターを含み、
前記複数のセレクターの各セレクターは、前記各選択クロック信号を、前記各電流源トランジスターのゲートに出力することを特徴とする位相補間回路。
【請求項8】
請求項6に記載された位相補間回路において、
前記各電流源トランジスターは、1又は複数のユニットトランジスターにより構成されることを特徴とする位相補間回路。
【請求項9】
請求項1に記載された位相補間回路において、
前記電流源回路は、
前記第1クロック信号又は前記第2クロック信号から前記位相補間信号に基づき選択された第1選択クロック信号がゲートに入力される第1電流源トランジスターと、
前記第1クロック信号又は前記第2クロック信号から前記位相補間信号に基づき選択された第2選択クロック信号がゲートに入力される第2電流源トランジスターと、
を含むことを特徴とする位相補間回路。
【請求項10】
請求項9に記載された位相補間回路において、
前記電流源回路は、
前記第1電流源トランジスターと並列に設けられ、前記第1選択クロック信号がゲートに入力され、ドレインが前記第1ノードと非接続である第1ダミートランジスターと、
前記第2電流源トランジスターと並列に設けられ、前記第2選択クロック信号がゲートに入力され、ドレインが前記第1ノードと非接続である第2ダミートランジスターと、
を含み、
前記第1電流源トランジスターのゲート面積と前記第1ダミートランジスターのゲート面積の和は、前記第2電流源トランジスターのゲート面積と前記第2ダミートランジスターのゲート面積の和と等しいことを特徴とする位相補間回路。
(【請求項11】以降は省略されています)
発明の詳細な説明
【技術分野】
【0001】
本発明は、位相補間回路、回路装置及び発振器等に関する。
続きを表示(約 2,500 文字)
【背景技術】
【0002】
フラクショナル-N型のPLL回路などでは、位相ノイズの低減等のために分周クロック信号の位相補間を行う位相補間回路を設けることが望ましい。例えば非特許文献1には、位相分割ユニットをパイプライン接続して、入力信号の中間位相の信号を生成する位相補間回路が開示されている。
【先行技術文献】
【非特許文献】
【0003】
Makihiko Katsuragi, Tn Aravind, Kenichi Okada, Akira Matsuzawa. 位相補間回路の高精度化に関する検討,電子情報通信学会 ソサイエティ大会,Sept. 2015
【発明の概要】
【発明が解決しようとする課題】
【0004】
非特許文献1の位相補間回路の場合、位相を2
n
で分割するために、位相分割ユニットをn段接続する必要がある。しかしながら、このように多段接続した位相分割ユニットの各ユニットにおけるトランジスターのしきい値電圧のバラツキなどが原因で、分割した位相の線形性が悪化してしまうなどの問題が発生する。
【課題を解決するための手段】
【0005】
本開示の一態様は、第1クロック信号と、前記第1クロック信号とは位相が異なる第2クロック信号を位相補間した補間クロック信号を生成する位相補間回路であって、第1電源ノードと第1ノードとの間に設けられ、前記第1クロック信号がアクティブになった場合に流れる第1電流と、前記第2クロック信号がアクティブになった場合に流れる第2電流を、前記第1ノードに供給する電流源回路と、前記第1ノードと第2電源ノードとの間に設けられ、前記第1クロック信号及び前記第2クロック信号が非アクティブになった場合にオンになる放電用のトランジスターと、前記第1クロック信号と前記第2クロック信号との位相補間の比を指示する位相補間信号に基づいて、前記第1電流と前記第2電流との電流比を設定する電流制御回路と、前記第1ノードの信号に基づいて、前記補間クロック信号を出力する出力回路と、を含む位相補間回路に関係する。
【0006】
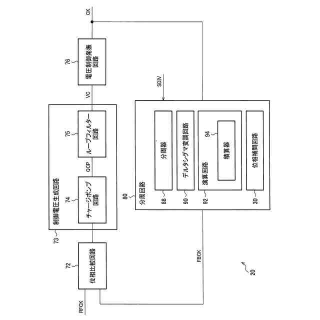
また本開示の他の態様は、上記に記載された位相補間回路を含み、前記位相補間回路からの前記補間クロック信号をフィードバッククロック信号として出力する分周回路と、基準クロック信号と前記フィードバッククロック信号との位相比較を行う位相比較回路と、前記位相比較回路の位相比較結果に基づいて制御電圧を生成する制御電圧生成回路と、前記制御電圧に対応する周波数のクロック信号を生成する電圧制御発振回路と、を含み、前記位相補間回路は、前記クロック信号に基づく前記第1クロック信号と前記第2クロック信号から前記補間クロック信号を生成する回路装置に関係する。
【0007】
また本開示の他の態様は、上記に記載された回路装置と、前記基準クロック信号を生成するための振動子と、を含む発振器に関係する。
【図面の簡単な説明】
【0008】
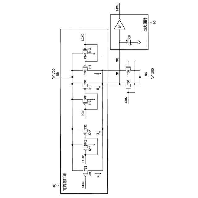
本実施形態の位相補間回路の構成例。
本実施形態の動作を説明する信号波形図。
本実施形態の動作を説明する信号波形図。
電流源回路、出力回路の構成例。
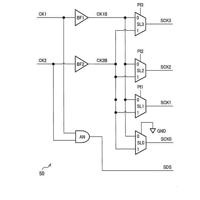
電流制御回路の構成例。
本実施形態の動作を説明する真理値表。
本実施形態の動作を説明する信号波形図。
電流源トランジスターとダミートランジスターのレイアウト配置例。
本実施形態の回路装置の構成例。
PLL回路に位相補間回路を設ける手法の説明図。
PLL回路の位相ノイズの特性例。
比較例の位相補間回路の説明図。
比較例での位相差バラツキのシミュレーション結果。
本実施形態での位相差バラツキのシミュレーション結果。
本実施形態での位相差バラツキのシミュレーション結果。
位相補間型の分周回路の構成例。
位相補間型の分周回路の動作を説明する信号波形図。
電流源回路の他の構成例。
電流制御回路の他の構成例。
位相補間回路の動作を説明する真理値表。
本実施形態の発振器の構成例。
【発明を実施するための形態】
【0009】
以下、本実施形態について説明する。なお、以下に説明する本実施形態は、特許請求の範囲の記載内容を不当に限定するものではない。また本実施形態で説明される構成の全てが必須構成要件であるとは限らない。
【0010】
1.位相補間回路
図1に本実施形態の位相補間回路30の構成例を示す。位相補間回路30は、クロック信号CK1とクロック信号CK2を位相補間した補間クロック信号PICKを生成する。クロック信号CK1は第1クロック信号である。クロック信号CK2は、第2クロック信号であり、クロック信号CK1とは位相が異なるクロック信号である。例えば位相補間回路30は、クロック信号CK1に対応する信号の位相と、クロック信号CK2に対応する信号の位相の間の中間位相信号を、補間クロック信号PICKとして生成する。クロック信号CK1に対応する信号は、例えばクロック信号CK1の遅延信号であり、例えば回路遅延によりクロック信号CK1が信号遅延した信号である。同様にクロック信号CK2に対応する信号は、例えばクロック信号CK2の遅延信号であり、例えば回路遅延によりクロック信号CK2が信号遅延した信号である。クロック信号CK1、CK2の遅延信号は、クロック信号CK1、CK2の立ち下がりエッジ又は立ち上がりエッジであるエッジが遅延した信号である。クロック信号CK1の遅延信号におけるエッジの遅延時間と、クロック信号CK2の遅延信号におけるエッジの遅延時間は例えば同等の遅延時間である。例えばクロック信号CK1、クロック信号CK2は、同様の構成の回路により信号遅延されて、クロック信号CK1に対応する信号、クロック信号CK2に対応する信号になる。
(【0011】以降は省略されています)
この特許をJ-PlatPat(特許庁公式サイト)で参照する
関連特許
個人
電子式音響装置
4か月前
エイブリック株式会社
増幅器
今日
株式会社大真空
音叉型圧電振動片
4か月前
株式会社大真空
圧電振動デバイス
2か月前
株式会社大真空
音叉型圧電振動片
4か月前
エイブリック株式会社
電圧検出器
1か月前
日本電波工業株式会社
ウェハ
4か月前
日本電波工業株式会社
ウェハ
4か月前
日本電波工業株式会社
圧電デバイス
1か月前
日本電波工業株式会社
ウェハ
4か月前
台灣晶技股ふん有限公司
共振器
4か月前
太陽誘電株式会社
弾性波デバイス
3か月前
太陽誘電株式会社
マルチプレクサ
3か月前
ローム株式会社
オペアンプ
1か月前
株式会社大真空
音叉型圧電振動デバイス
4か月前
ローム株式会社
オペアンプ
1か月前
株式会社トーキン
ノイズフィルタ
29日前
ローム株式会社
オペアンプ
1か月前
株式会社大真空
恒温槽型圧電発振器
1か月前
株式会社半導体エネルギー研究所
駆動回路
3日前
三菱電機株式会社
半導体装置
1か月前
個人
誤り訂正装置及び誤り訂正方法
1か月前
株式会社村田製作所
増幅回路
1か月前
株式会社コルグ
電源装置
4か月前
ローム株式会社
半導体スイッチ
3か月前
ローム株式会社
半導体集積回路
2か月前
ローム株式会社
オペアンプ回路
1か月前
ローム株式会社
オペアンプ回路
1か月前
ローム株式会社
半導体集積回路
1か月前
ローム株式会社
半導体集積回路
1か月前
ローム株式会社
オシレータ回路
2か月前
株式会社村田製作所
高周波回路
1か月前
ローム株式会社
半導体集積回路
4か月前
ローム株式会社
半導体スイッチ
3か月前
ローム株式会社
オペアンプ回路
1か月前
株式会社ダイフク
搬送設備
4か月前
続きを見る
他の特許を見る