TOP
|
特許
|
意匠
|
商標
特許ウォッチ
Twitter
他の特許を見る
10個以上の画像は省略されています。
公開番号
2025143644
公報種別
公開特許公報(A)
公開日
2025-10-02
出願番号
2024042974
出願日
2024-03-19
発明の名称
木造建築用タイロッド緊結金物
出願人
岡部株式会社
,
個人
代理人
個人
主分類
E04B
2/56 20060101AFI20250925BHJP(建築物)
要約
【課題】木材の収縮等が発生した場合であっても、タイロッドの浮き上がりを確実に防止する。
【解決手段】雄ネジ部11aを有すると共にタイロッド24の雄ネジ部24aに螺合する雌ネジ部11bを有する内側カプラ11と、内側カプラ11の雄ネジ部11aに螺合する雌ネジ部12bを有する外側カプラ12と、タイロッド通し孔13aが設けられた締付リング13と、締付リング13に上端部が固定されると共に、下端部が外側カプラ12に固定され、外側カプラ12の外周面を覆うコイルバネ14と、締付リング13の上方にてタイロッド24の雄ネジ部24aに螺合するナット15とを備え、締付リング13には、タイロッド通し孔13aまで貫通するボルト孔13cが設けられ、そのボルト孔13cに螺合し先端部がタイロッド通し孔13aから突出してタイロッド24に当接し締付リング13をタイロッド24に固定する締付リング固定ボルト13dを設ける。
【選択図】図3
特許請求の範囲
【請求項1】
木造建築物用のタイロッドの雄ネジ部に螺合する雌ネジ部を有すると共に、外周面に雄ネジ部を有する内側カプラと、
前記内側カプラの雄ネジ部に螺合する雌ネジ部を有する外側カプラと、
前記タイロッドを通すタイロッド通し孔を有し、前記内側カプラおよび外側カプラの上方に設置される締付リングと、
前記締付リングに上端部が固定されると共に、下端部が前記外側カプラに固定され、前記外側カプラの外周面を覆うように設けられたコイルバネと、
前記締付リングの上方にて前記タイロッドの雄ネジ部に螺合するナットとを備え、
前記締付リングには、その外周面から前記タイロッド通し孔までを貫通するボルト孔が設けられ、そのボルト孔に挿入して螺合し先端部が前記タイロッド通し孔から突出して前記タイロッドに当接することにより当該締付リングを前記タイロッドに固定する締付リング固定ボルトが設けられていることを特徴とする木造建築用タイロッド緊結金物。
続きを表示(約 110 文字)
【請求項2】
請求項1記載のタイロッド用緊結金物において、
前記内側カプラの雄ネジ部のネジピッチは、前記内側カプラの雌ネジ部のネジピッチよりも大きく形成されていることを特徴とする木造建築用タイロッド緊結金物。
発明の詳細な説明
【技術分野】
【0001】
本発明は、木造建築物に使用されるタイロッドの浮き上りを防止する木造建築用タイロッド緊結金物に関する。
続きを表示(約 4,100 文字)
【背景技術】
【0002】
近年、中高層の建築物でも木造建築物が実現されており、このような比較的大規模な木造建築物では、地震や風圧などの水平方向に対する外力に耐えるため各階に耐力壁を配置し、各階の耐力壁をタイロッドで連結して補強する構造が採用される場合がある。しかしながら、木造建築物においては木材の乾燥や建物自重による沈み込み等により木材の収縮が発生することから、タイロッドを木材に固定するナットと座金との間に隙間が生じ、タイロッドが浮き上る場合がある。そこで木材の収縮時にナットと座金間の隙間を吸収してタイロッドの浮き上りを防止する木造建築用タイロッド緊結金物が提案されている(例えば、特許文献1参照。尚、特許文献1では、木造建築用タイロッド緊結金物をパッキンと称している。)。
【0003】
この木造建築用タイロッド緊結金物は、台風や地震の際に耐力壁端部に作用する引抜力が大きい場合においても耐力壁の浮き上がりを防止すると共に、汎用性が高く容易に施工することを目的として、タイロッドが挿通された壁体と、タイロッドに装着されたナットとの間に装着されタイロッドが挿通して、その外周部に雄ネジ部が形成された内筒部材と、内筒部材が挿通されるとともに内周部に雄ネジ部が螺合する雌ネジ部が形成された外筒部材と、内筒部材と外筒部材の一方に対して他方を相対回転させる回転力を付勢するコイルバネとを備えて、内筒部材はタイロッドを非係止状態で挿通させ、コイルバネは内筒部材が外筒部材から突出する向きの回転力を付勢し外筒部材を囲うように配置し、コイルバネの一端は内筒部材に接続する一方、コイルバネの他端は外筒部材に接続して、木材の収縮に追従してコイルバネが伸長し、内筒部材が外筒部材に対し回転して外筒部材より突出することよりナットと座金間の隙間を吸収し、タイロッドの浮き上がりを防止するように構成している。
【先行技術文献】
【特許文献】
【0004】
特許第7078773号公報
【発明の概要】
【発明が解決しようとする課題】
【0005】
しかしながら、上述の特許文献1の木造建築用タイロッド緊結金物は、ナットと座金との間にコイルバネや内筒部材および外筒部材の追従部材を挟み締付けた状態でナットが引抜力を受け持つような構成であるため、ナットの下部に位置する追従部材が大きな荷重を受け、外筒部材と内筒部材との螺合部分が常に競った状態となるので、摩擦抵抗が増えて筒部材と内筒部材との間のスムーズな回転を妨げ、タイロッドの浮き上りを防止できない場合がある、という問題があった。
【0006】
また、内筒部材は、外筒部材に対しては螺合するものの内筒部材の内周面にネジが形成されていないためタイロッドに螺合せず、タイロッドを通す構造であり、内筒部材の中心がタイロッド径に対し余裕を持った円筒穴となるので、タイロッドに対し偏心して設置される可能性がある。そのため、外筒部材と内筒部材との螺合部分が常に競った状態での摩擦抵抗に加え、内筒部材の内周面がタイロッドに接触して配置された場合におけるタイロッドとの接触による摩擦抵抗が増え、外筒部材または内筒部材のいずれかを相対回転させる回転力を妨げる場合があるので、この点でも筒部材と内筒部材との間のスムーズな回転が妨げられてタイロッドの浮き上りを防止できない場合がある、という問題もあった。
【0007】
そこで、本発明はこのような問題点に鑑みなされたもので、木造建築物において木材の収縮等が発生した場合であっても、タイロッドの浮き上がりを確実に防止することができる木造建築用タイロッド用金物を提供することを目的とする。
【課題を解決するための手段】
【0008】
上記問題点を解決するため、本発明に係る木造建築用タイロッド緊結金物は、木造建築物用のタイロッドの雄ネジ部に螺合する雌ネジ部を有すると共に、外周面に雄ネジ部を有する内側カプラと、前記内側カプラの雄ネジ部に螺合する雌ネジ部を有する外側カプラと、前記タイロッドを通すタイロッド通し孔を有し、前記内側カプラおよび外側カプラの上方に設置される締付リングと、前記締付リングに上端部が固定されると共に、下端部が前記外側カプラに固定され、前記外側カプラの外周面を覆うように設けられたコイルバネと、前記締付リングの上方にて前記タイロッドの雄ネジ部に螺合するナットとを備え、前記締付リングには、その外周面から前記タイロッド通し孔までを貫通するボルト孔が設けられ、そのボルト孔に挿入して螺合し先端部が前記タイロッド通し孔から突出して前記タイロッドに当接することにより当該締付リングを前記タイロッドに固定する締付リング固定ボルトが設けられていることを特徴とする。
また、本発明に係るタイロッド用緊結金物では、前記内側カプラの雄ネジ部のネジピッチは、前記内側カプラの雌ネジ部のネジピッチよりも大きく形成されていることも特徴とする。
【発明の効果】
【0009】
本発明に係る木造建築用タイロッド緊結金物を木造建築物の梁材等に設置し、締付リングを押し下げることによりコイルバネを圧縮させ、かつ、締付リングを半回転ないしは1,2回転させてコイルバネに捩じり力を付与した状態で、ナットで締付リングを挟みながら内側カプラに締め付け固定し、その後、締付リング固定ボルトを回転させて先端をタイロッドの雄ネジ部に固定し、締付リングの緩み止め防止をすることができる。柱材等の収縮時に梁材等が下降すると、コイルバネが伸長すると同時にコイルバネが捩じり状態がなくなるように外側カプラを回転させて外側カプラを内側カプラに対し下降させてタイロッドの浮き上がりを防止する。
そのため、本発明に係る木造建築用タイロッド緊結金物によれば、締付リングを押し下げることによりコイルバネを圧縮させ、かつ、締付リングを半回転ないしは1,2回転させてコイルバネに捩じり力を付与し、ナットで締め付け、更に締付リング固定ボルトによって締付リングをタイロッドに固定してコイルバネの圧縮状態、捩じり状態を維持することが可能となり、安全安心な木造建築用タイロッド緊結金物を木造建築物の梁材等に確実に設置できる。ナットを締め付ける際はコイルバネの弾性力がほとんど作用しなくなるので、ナットの締付作業の作業性を向上させることができる。
また、コイルバネの伸長によって回転して下降する外側カプラは内側カプラに螺合し、内側カプラはタイロッドの雄ネジ部に螺合しているため、内側カプラおよび外側カプラのカプラ全体がタイロッドに対して偏心することなく設置される。
そのため、木材の収縮等が発生して木造建築用タイロッド緊結金物と座金との間の間隔が大きくなった場合でも、コイルバネの伸長によって外側カプラは内側カプラに対しスムーズに回転して下降することができ、木造建築用タイロッド緊結金物は問題無く本来の性能を発揮することが可能となるので、タイロッドの浮き上がりを確実かつ円滑に防止することができる。
さらに、タイロッドの雄ネジ部に内側カプラが螺合するため、追随機能を持つ部材と荷重負担する部材が一体となり、応力伝達として内側カプラ下端部を木材に押し付けた初期の設置状態では木質構造体から内側カプラ、タイロッドの順に伝達され、その木材が沈み込む等して木造建築用タイロッド緊結金物が追随した際には木質構造体から外側カプラ、内側カプラ、タイロッドの順に伝達され、従来技術に比べ、応力伝達経路の部材が少なくなることで、不具合の発生を起き難くすることができる。
【図面の簡単な説明】
【0010】
本発明に係る実施形態の木造建築用タイロッド緊結金物の使用例を示す斜視図である。
図1におけるA部分の要部拡大斜視図である。
図1におけるA部分の要部拡大正面図である。
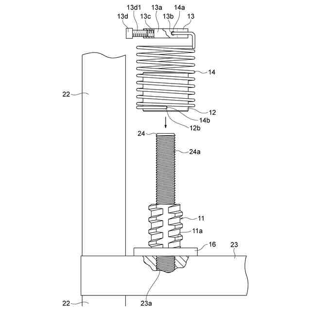
本発明に係る実施形態の木造建築用タイロッド緊結金物の設置手順を示す図であって、タイロッドに内側カプラを装着する直前の状態を示す図である。
本発明に係る実施形態の木造建築用タイロッド緊結金物の設置手順を示す図であって、内側カプラを装着したタイロッドに外側カプラと締付リングとコイルバネを連結した状態で装着する直前の状態を示す図である。
(a),(b)それぞれ本発明に係る実施形態の木造建築用タイロッド緊結金物の設置手順を示す図であって、タイロッドに内側カプラや外側カプラ、締付リング等を装着後、ナットを装着する直前の状態を示す図、ナットをタイロッドの雄ネジ部に螺合した状態を示す一部断面正面図である。
(a),(b)それぞれ本発明に係る実施形態の木造建築用タイロッド緊結金物の設置手順を示す図であって、締付リングを下降させてコイルバネを圧縮させた状態を示す図、下降させた締付リング上面までナットを下降させた状態を示す部断面正面図である。
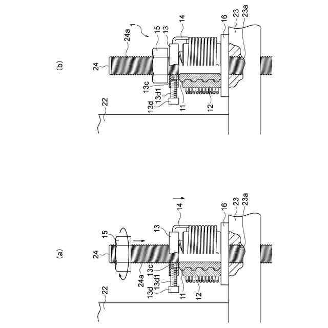
(a),(b)それぞれ本発明に係る実施形態の木造建築用タイロッド緊結金物の設置手順を示す図であって、コイルバネの圧縮状態まで締付リングを下降させた状態において、タイロッドにナットを締付固定した状態を示す図、柱材収縮時のタイロッド用緊結金物1の動作を示す部断面正面図である。
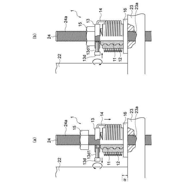
(a),(b)それぞれ本発明に係る実施形態の木造建築用タイロッド緊結金物の再設定手順を示す図であって、締付リングを再度下降させてコイルバネを圧縮させた状態、かつ、締付リングを回転させてコイルバネを捩じった状態で、締付リング上面までナットを再度下降させ締め付け、更に締付リング固定ボルトを締め付け固定した状態を示す部断面正面図である。
【発明を実施するための形態】
(【0011】以降は省略されています)
この特許をJ-PlatPat(特許庁公式サイト)で参照する
関連特許
岡部株式会社
浮魚礁
2か月前
岡部株式会社
木造建築用タイロッド緊結金物
1か月前
岡部株式会社
スタッド溶接用治具及びスタッド溶接方法
10日前
学校法人福岡大学
接続部材および木質構造
1か月前
岡部株式会社
ブレースの柱への取付構造
2か月前
個人
接合構造
1か月前
個人
タッチミー
1か月前
個人
屋台
1か月前
個人
野良猫ハウス
2か月前
個人
転落防止用手摺
2か月前
個人
安心補助てすり
17日前
個人
フェンス
2か月前
個人
ベンリナアングル
1か月前
個人
地下型マンション
4か月前
個人
筋交自動設定装置
1か月前
積水樹脂株式会社
柵体
2か月前
ニチハ株式会社
建築板
2か月前
個人
居住車両用駐車場
2か月前
個人
鋼管結合資材
4か月前
個人
熱抵抗多層断熱建材
2か月前
株式会社タナクロ
テント
4か月前
個人
補強部材
2か月前
個人
柵
3か月前
株式会社シンケン
住宅
18日前
鹿島建設株式会社
壁体
2か月前
個人
循環流水式屋根融雪装置
4か月前
成友建設株式会社
建物
2か月前
個人
防災建築物
23日前
個人
身体用シェルター
1か月前
個人
身体用シェルター
1か月前
イワブチ株式会社
組立柱
2か月前
株式会社大林組
接合構造
13日前
個人
可搬型供養墓
1か月前
三協立山株式会社
構造体
2日前
株式会社熊谷組
吊り治具
1か月前
インターマン株式会社
天井構造
2か月前
続きを見る
他の特許を見る