TOP
|
特許
|
意匠
|
商標
特許ウォッチ
Twitter
他の特許を見る
10個以上の画像は省略されています。
公開番号
2025121477
公報種別
公開特許公報(A)
公開日
2025-08-20
出願番号
2024016885
出願日
2024-02-07
発明の名称
浮魚礁
出願人
岡部株式会社
代理人
個人
主分類
A01K
61/75 20170101AFI20250813BHJP(農業;林業;畜産;狩猟;捕獲;漁業)
要約
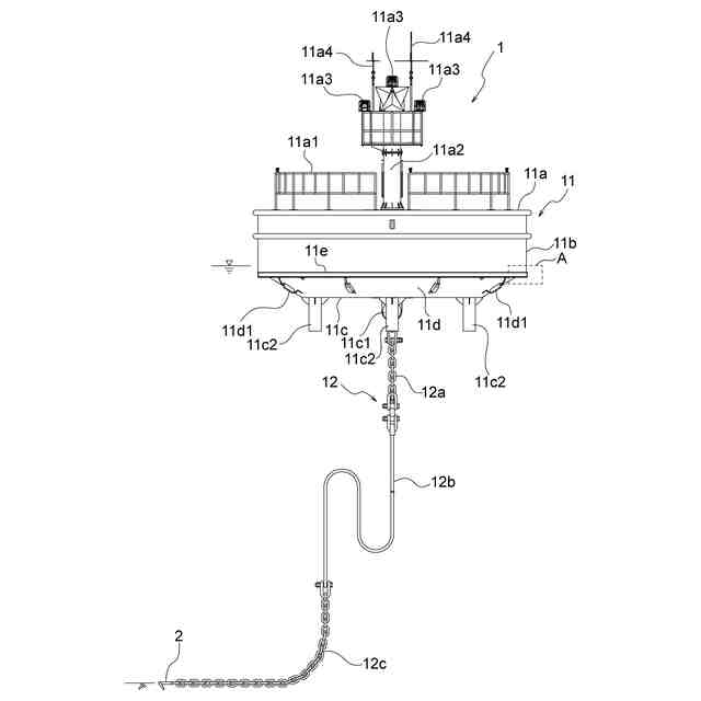
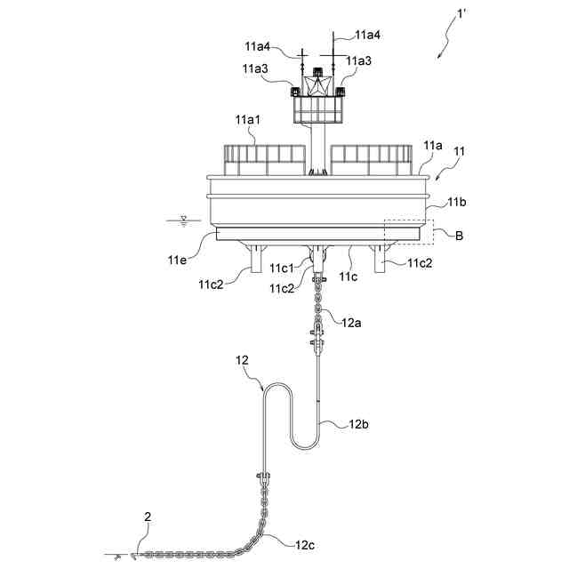
【課題】コンパクトな構造により海上での波力による横揺れ等の動揺を抑制する。
【解決手段】水面下に表層浮体11の一部を沈めて海洋に浮く表層型浮魚礁であって、その表層浮体11には、通常は海面上に飛び出ていて柵11a1やマスト11a2を介し灯火器11a3やアンテナ11a4等の計器類が設けられた甲板部11aと、甲板部11aの最外部から垂直に垂れ下がり側面となる外殻部11bと、外殻部11bの下端部から下方に向かうに従って中心方向に向かうように傾斜しながら延びる傾斜面部11dと、傾斜面部11dの下端部から甲板部11aに対向するように延びる底面部11cと、外殻部11bと傾斜面部11dとの境界から外殻部11bと一体で、かつ、面一で傾斜面部11cに対向しながら下方に延びることにより下方に向かって開口し、当該表層型浮魚礁1の動揺の際に抵抗となってその動揺を抑制する動揺抑制部11eを有する。
【選択図】図1
特許請求の範囲
【請求項1】
水面下に一部分を沈めて浮く表層浮体を有する浮魚礁であって、その表層浮体には下方に向かうに従って中心方向に向かうように傾斜した傾斜面部が設けられていると共に、その傾斜面部に対向しながら下方に延びることにより下方に向かって開口し、当該浮魚礁の動揺の際に抵抗となってその動揺を抑制する動揺抑制部を有することを特徴とする浮魚礁。
続きを表示(約 410 文字)
【請求項2】
請求項1記載の浮魚礁において、
さらに、前記傾斜面部の最外側から上方に向かって延びる外殻部を有しており、
前記動揺抑制部は、前記外殻部と面一または前記外殻部の外側面に接合されて下方に垂れ下がるように設けられていることを特徴とする浮魚礁。
【請求項3】
さらに、前記傾斜面部の最外側から上方に向かって延びる外殻部を有しており、
前記動揺抑制部は、前記外殻部から所定距離だけ離れて前記傾斜面部の途中から下方に垂れ下がるように設けられていることを特徴とする浮魚礁。
【請求項4】
請求項1記載の浮魚礁において、
前記傾斜面部と前記動揺抑制部との間には、補強板が設けられていることを特徴とする浮魚礁。
【請求項5】
請求項1記載の浮魚礁において、
前記動揺抑制部には、複数の孔部が設けられていることを特徴とする浮魚礁。
発明の詳細な説明
【技術分野】
【0001】
本発明は、海上での波力による横揺れ等の動揺を抑制することができる表層型浮魚礁に関する。
続きを表示(約 1,600 文字)
【背景技術】
【0002】
表層型浮魚礁は、波や潮の流れ、風等に対して構造上安全なものであることが求められ、詳細には、波や潮の流れ、風等の作用に対して浮体が静的かつ動的に安定した構造であることが求められている。特に、表層型浮魚礁の場合には、波力に対する影響が大きいため、波力に対して海面上にほぼ直立状態を維持することが求められている。
【0003】
そこで、表層型浮魚礁の安全性と波浪動揺の軽減の向上を目的として、海面上を浮遊する表層浮体と、この表層浮遊体の下端から海中に垂下した下部に係留ラインを連結するコラムと、このコラム下部に水平に設けた平面形状で広い面積を有する人工海底構造とからなる浮魚礁において、人工海底構造の平面一端に垂直尾翼と水平尾翼とを有する安定舵を突出するように設けた浮魚礁が提案されている(例えば、特許文献1参照。)
【0004】
この表層型浮魚礁では、人工海底構造に突出するように設けた安定舵が波浪動揺に対し安定板として機能するため、海上での波力による横揺れ等の動揺を抑制し、海洋での表層型浮魚礁の傾斜が大きくなることを防止している。
【先行技術文献】
【特許文献】
【0005】
実用新案登録第3011374号公報
【発明の概要】
【発明が解決しようとする課題】
【0006】
しかしながら、上述の特許文献1に記載の表層型浮魚礁は、表層浮体の下部に人工海底構造という大きな構造を設けているため、浮魚礁全体が大型化すると共にその重量が嵩み、表層型浮魚礁を陸上で運搬したり海洋に設置する際に作業の負担が大きいという問題があった。
【0007】
特に、特許文献1に記載の表層型浮魚礁は、人工海底構造の外側に突出するように安定舵を設けているため、この点でも表層型浮魚礁全体が大型化しており、運搬や設置の際の作業の負担が大きいという問題があった。
【0008】
また、特許文献1に記載の浮魚礁は、人工海底構造を備えることから浮力確保のため表層浮体が大きくなると共に、表層浮体が大きくなることから波等からの受圧面積も大きくなって係留索の負担が大きくなるので、設計上好ましくない、という問題がある。
【0009】
そこで、本発明はこのような問題点に鑑みなされたもので、コンパクトな構造により海上での波力による横揺れ等の動揺を抑制することができる表層型浮魚礁を提供することを目的とする。
【課題を解決するための手段】
【0010】
上記問題点を解決するため、本発明に係る表層型浮魚礁は、水面下に一部分を沈めて浮く表層浮体を有する浮魚礁であって、その表層浮体には下方に向かうに従って中心方向に向かうように傾斜した傾斜面部が設けられていると共に、その傾斜面部に対向しながら下方に延びることにより下方に向かって開口し、当該表層型浮魚礁の動揺の際に抵抗となってその動揺を抑制する動揺抑制部を有することを特徴とする。
また、本発明に係る表層型浮魚礁では、さらに、前記傾斜面部の最外側から上方に向かって延びる外殻部を有しており、前記動揺抑制部は、前記外殻部と面一または前記外殻部の外側面に接合されて下方に垂れ下がるように設けられていることも特徴とする。
また、本発明に係る表層型浮魚礁では、さらに、前記傾斜面部の最外側から上方に向かって延びる外殻部を有しており、前記動揺抑制部は、前記外殻部から所定距離だけ離れて前記傾斜面部の途中から下方に垂れ下がるように設けられていることも特徴とする。
また、本発明に係る表層型浮魚礁では、前記傾斜面部と前記動揺抑制部との間には、補強板が設けられていることも特徴とする。
また、本発明に係る表層型浮魚礁では、前記動揺抑制部には、複数の孔部が設けられていることも特徴とする。
【発明の効果】
(【0011】以降は省略されています)
この特許をJ-PlatPat(特許庁公式サイト)で参照する
関連特許
岡部株式会社
浮魚礁
2か月前
岡部株式会社
型枠緊結金具
3か月前
岡部株式会社
木造建築用タイロッド緊結金物
1か月前
岡部株式会社
スタッド溶接用治具及びスタッド溶接方法
4日前
学校法人福岡大学
接続部材および木質構造
1か月前
岡部株式会社
ブレースの柱への取付構造
2か月前
個人
草刈り鋏
17日前
個人
蠅捕獲器
13日前
個人
虫捕り器
1か月前
個人
刈込鋏保持具
1か月前
個人
蜜蜂保護装置
4日前
個人
草刈機用回転刃
13日前
個人
後付巻降ろし器
1か月前
個人
種子の製造方法
10日前
個人
イカ釣り用ヤエン
1か月前
株式会社丹勝
緑化工法
1か月前
個人
昆虫捕集器
10日前
井関農機株式会社
作業車両
25日前
井関農機株式会社
作業車両
1か月前
井関農機株式会社
作業車両
25日前
井関農機株式会社
作業車両
1か月前
株式会社シマノ
釣竿
1か月前
井関農機株式会社
作業車両
1か月前
個人
四足動物用装着具
18日前
大栄工業株式会社
捕獲器
25日前
井関農機株式会社
作業車両
18日前
井関農機株式会社
作業車両
13日前
井関農機株式会社
作業車両
1か月前
株式会社オーツボ
海苔箱船
17日前
松山株式会社
農作業機
1か月前
個人
伸縮する草刈り機の可動装置。
1か月前
松山株式会社
草刈作業機
4日前
トヨタ自動車株式会社
育苗装置
1か月前
スガノ農機株式会社
圃場作業装置
1か月前
みのる産業株式会社
茎葉処理装置
19日前
株式会社デンソー
農業用装置
27日前
続きを見る
他の特許を見る