TOP
|
特許
|
意匠
|
商標
特許ウォッチ
Twitter
他の特許を見る
10個以上の画像は省略されています。
公開番号
2025123473
公報種別
公開特許公報(A)
公開日
2025-08-22
出願番号
2025104725,2021107378
出願日
2025-06-20,2021-06-29
発明の名称
ブレースの柱への取付構造
出願人
岡部株式会社
,
個人
代理人
個人
,
個人
主分類
E04H
9/02 20060101AFI20250815BHJP(建築物)
要約
【課題】ブレースの軸力を負担する柱に面外変形が発生したり、座屈が生じることを防止
することが可能なブレースの柱への取付構造を提供する。
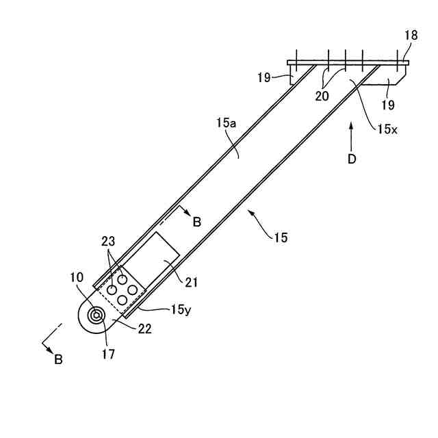
【解決手段】柱2と梁とを接合して構築される柱梁架構5内に設けられるブレース15の
柱側接合端15yを柱に取り付ける構造であって、柱に、柱幅方向両側の一対の柱面それ
ぞれと接合して設けられた一対の接合プレート24と、一対の接合プレート双方と接合さ
れ、柱梁架構内に柱と向かい合う配置で設けられたベースプレート25と、ベースプレー
トに接合して設けられ、ブレースの柱側接合端と連結されるブレース連結プレート26と
を備えた。
【選択図】図2
特許請求の範囲
【請求項1】
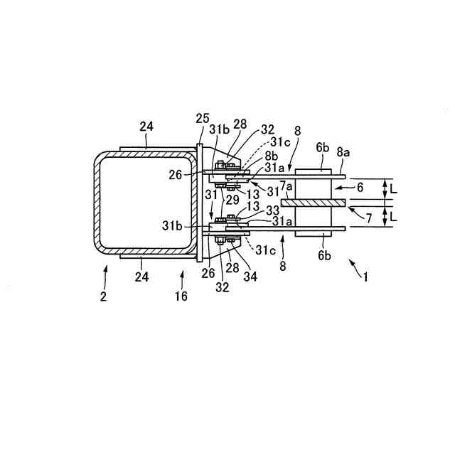
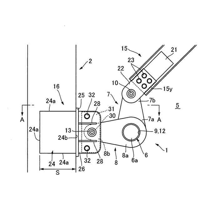
柱と梁とを接合して構築される架構内に設けられるブレースの柱側接合端を該柱に取り付ける構造であって、
上記柱に、柱幅方向両側の一対の柱面それぞれと接合して設けられた一対の接合プレートと、
上記一対の接合プレート双方と接合され、上記架構内に上記柱と向かい合う配置で設けられたベースプレートと、
上記ベースプレートに接合して設けられ、上記ブレースの上記柱側接合端と連結されるブレース連結プレートとを備え、
前記ベースプレートは、前記柱に接して配置され、かつ、前記柱とは接合されない
ことを特徴とするブレースの柱への取付構造。
続きを表示(約 700 文字)
【請求項2】
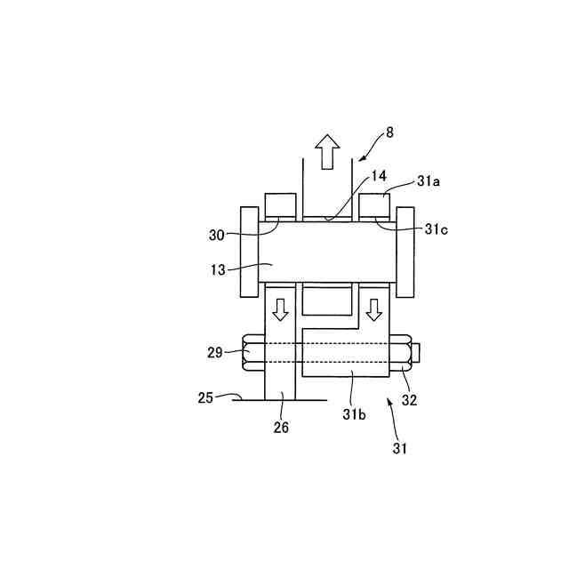
前記ベースプレートには、表裏にそれぞれ、前記一対の接合プレートとの一対の第1接合箇所及び前記ブレース連結プレートとの第2接合箇所が設定され、該一対の第1接合箇所の間に該第2接合箇所が位置されることを特徴とする請求項1に記載のブレースの柱への取付構造。
【請求項3】
前記ベースプレート及び前記ブレース連結プレート双方に接合して補強リブ材が設けられることを特徴とする請求項1または2に記載のブレースの柱への取付構造。
【請求項4】
前記ブレース連結プレートと前記ブレースとは、アームプレートを有しかつ捩りモーメントで振動外力を減衰する制振ダンパを介して接続され、
上記ブレース連結プレートと上記アームプレートとは、それらを連通するピン孔に挿通されるピンを介して、回転自在に連結されることを特徴とする請求項1~3いずれかの項に記載のブレースの柱への取付構造。
【請求項5】
前記ブレース連結プレートには、前記ピンの挿通方向に前記アームプレートを挟んで該ブレース連結プレートの反対側に位置されかつ該ピンが回転自在に挿通される追加のピン孔を有する一端部と、該ブレース連結プレートに接合される他端部とを有し、該アームプレートの両側で、該ブレース連結プレートと共に該ピンを両端支持する補強金物が設けられることを特徴とする請求項4に記載のブレースの柱への取付構造。
【請求項6】
前記補強リブ材は、前記ブレース連結プレートのピン孔近傍に配置されることを特徴とする請求項3~5いずれかの項に記載のブレースの柱への取付構造。
発明の詳細な説明
【技術分野】
【0001】
本発明は、ブレースの軸力を負担する柱に面外変形が発生したり、座屈が生じることを
防止することが可能なブレースの柱への取付構造に関する。
続きを表示(約 1,300 文字)
【背景技術】
【0002】
柱と梁とを接合して構築される架構内に設けられるブレースの柱側接合端を、柱に取り
付ける構造として、例えば特許文献1が知られている。特許文献1の「耐震補強用接合構
造」は、断面角形又は円形の構造部材に耐震補強用部材を接合する接合金具において、接
合金具は構造部材の一方の面と面接合する接合部を有し、接合金具と構造部材の一方の面
とを接着剤または高力ボルトで接合し、接合金具は接合部の反対側に補強部を有し、補強
部に少なくとも1枚の水平補強リブを固定して構成されている。
【先行技術文献】
【特許文献】
【0003】
特開2004-270320号公報
【発明の概要】
【発明が解決しようとする課題】
【0004】
背景技術では、接合金具が柱等の構造部材に接着剤等で面接合されている。このため、
接合金具と連結されるブレースの軸力によって、接合金具と一緒に、構造部材に面外変形
が発生してしまうおそれがあった。構造部材は、面外変形が生じると、当該構造部材が負
担する軸力によって座屈を生じやすくなってしまう。これにより、ブレースにその耐力を
十分に発揮させる前に、柱梁架構が破壊に至ってしまうという課題があった。
【0005】
本発明は上記従来の課題に鑑みて創案されたものであって、ブレースの軸力を負担する
柱に面外変形が発生したり、座屈が生じることを防止することが可能なブレースの柱への
取付構造を提供することを目的とする。
【課題を解決するための手段】
【0006】
本発明にかかるブレースの柱への取付構造は、柱と梁とを接合して構築される架構内に
設けられるブレースの柱側接合端を該柱に取り付ける構造であって、上記柱に、柱幅方向
両側の一対の柱面それぞれと接合して設けられた一対の接合プレートと、上記一対の接合
プレート双方と接合され、上記架構内に上記柱と向かい合う配置で設けられたベースプレ
ートと、上記ベースプレートに接合して設けられ、上記ブレースの上記柱側接合端と連結
されるブレース連結プレートとを備えたことを特徴とする。
【0007】
前記ベースプレートは、前記柱から隙間を空けて配置されることを特徴とする。
【0008】
前記ベースプレートは、前記柱に接して配置されることを特徴とする。
【0009】
前記ベースプレートには、表裏にそれぞれ、前記一対の接合プレートとの一対の第1接
合箇所及び前記ブレース連結プレートとの第2接合箇所が設定され、該一対の第1接合箇
所の間に該第2接合箇所が位置されることを特徴とする。
【0010】
前記ベースプレート及び前記ブレース連結プレート双方に接合して補強リブ材が設けら
れることを特徴とする。
(【0011】以降は省略されています)
この特許をJ-PlatPat(特許庁公式サイト)で参照する
関連特許
岡部株式会社
浮魚礁
1か月前
岡部株式会社
型枠緊結金具
3か月前
岡部株式会社
木造建築用タイロッド緊結金物
4日前
学校法人福岡大学
接続部材および木質構造
11日前
岡部株式会社
ブレースの柱への取付構造
1か月前
個人
接合構造
今日
個人
屋台
17日前
個人
野良猫ハウス
1か月前
個人
転落防止用手摺
27日前
個人
フェンス
1か月前
個人
キャチクランプ
4か月前
個人
筋交自動設定装置
7日前
ニチハ株式会社
建築板
1か月前
個人
居住車両用駐車場
1か月前
積水樹脂株式会社
柵体
26日前
個人
地下型マンション
3か月前
個人
鋼管結合資材
3か月前
個人
熱抵抗多層断熱建材
1か月前
株式会社タナクロ
テント
3か月前
個人
壁断熱パネル
4か月前
個人
補強部材
1か月前
個人
柵
1か月前
鹿島建設株式会社
壁体
1か月前
個人
身体用シェルター
7日前
成友建設株式会社
建物
1か月前
個人
身体用シェルター
7日前
個人
循環流水式屋根融雪装置
3か月前
三協立山株式会社
構造体
3か月前
三協立山株式会社
構造体
7日前
三協立山株式会社
構造体
7日前
三協立山株式会社
構造体
7日前
三協立山株式会社
構造体
7日前
三協立山株式会社
構造体
3か月前
三協立山株式会社
構造体
7日前
株式会社熊谷組
吊り治具
4日前
三協立山株式会社
構造体
7日前
続きを見る
他の特許を見る