TOP
|
特許
|
意匠
|
商標
特許ウォッチ
Twitter
他の特許を見る
10個以上の画像は省略されています。
公開番号
2025142679
公報種別
公開特許公報(A)
公開日
2025-10-01
出願番号
2024042179
出願日
2024-03-18
発明の名称
撮像装置の取付構造
出願人
本田技研工業株式会社
代理人
弁理士法人大島特許事務所
主分類
B60R
11/02 20060101AFI20250924BHJP(車両一般)
要約
【課題】走行風に起因する風切り音の発生を抑制することが可能な撮像装置の取付構造を提供する。
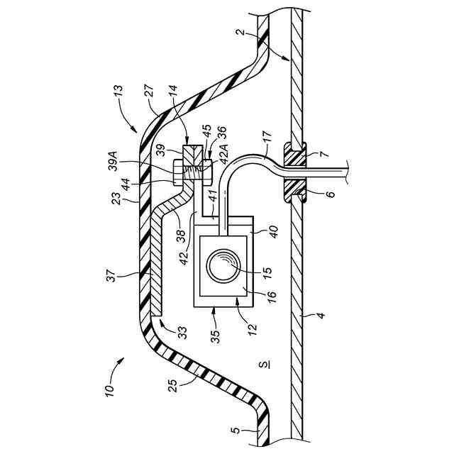
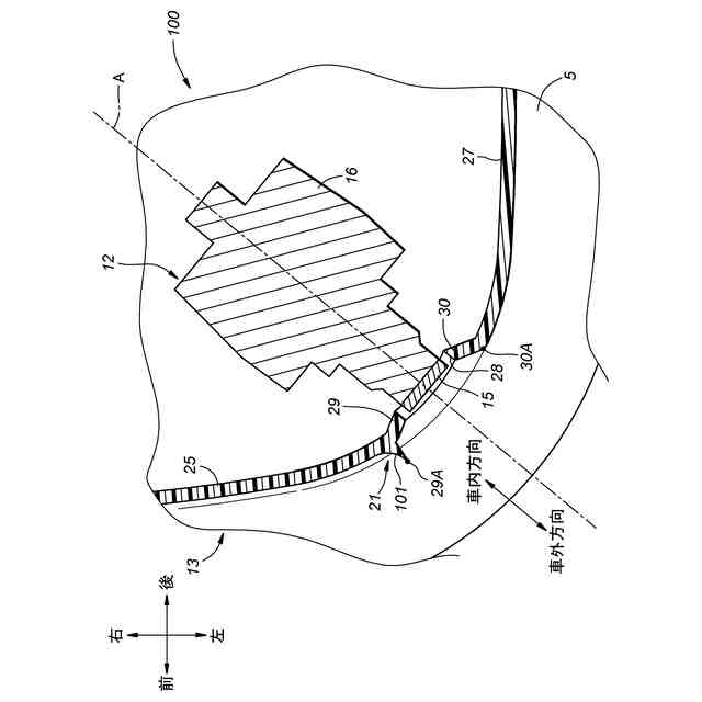
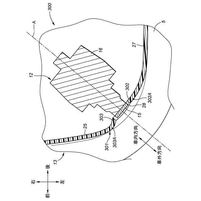
【解決手段】撮像装置の取付構造10は、車両1のルーフ2上に搭載される撮像装置12と、撮像装置の少なくとも一部を収容するハウジング13とを備える。撮像装置は、車両の前方且つ左右外方を向くレンズ15を有する。ハウジングは、レンズの外周に配置される周壁部21を有する。周壁部は、平面視でレンズの光軸Aよりも前方に配置される前壁部29と、平面視でレンズの光軸よりも後方に配置される後壁部30とを有する。レンズの光軸と平行に車両の前方且つ左右外方に向かう方向を車外方向とし、車外方向における先端側を車外側とした場合に、平面視で、前壁部の車外側の端部29Aは、後壁部の車外側の端部30Aよりも車外側に位置している。
【選択図】 図5
特許請求の範囲
【請求項1】
撮像装置の取付構造であって、
車両のルーフ上に搭載される撮像装置と、
前記撮像装置の少なくとも一部を収容するハウジングと、を備え、
前記撮像装置は、前記車両の前方且つ左右外方を向くレンズを有し、
前記ハウジングは、前記レンズの外周に配置される周壁部を有し、
前記周壁部は、
平面視で前記レンズの光軸よりも前方に配置される前壁部と、
平面視で前記レンズの前記光軸よりも後方に配置される後壁部と、を有し、
前記レンズの前記光軸と平行に前記車両の前方且つ左右外方に向かう方向を車外方向とし、前記車外方向における先端側を車外側とした場合に、平面視で、前記前壁部の前記車外側の端部は、前記後壁部の前記車外側の端部よりも前記車外側に位置している撮像装置の取付構造。
続きを表示(約 630 文字)
【請求項2】
前記前壁部には、前記車外側に向かって突出する凸部が形成されている請求項1に記載の撮像装置の取付構造。
【請求項3】
前記凸部は、前記車外側から視て、前記レンズの前記光軸を中心に円弧状に湾曲している請求項2に記載の撮像装置の取付構造。
【請求項4】
前記凸部は、前記車外側から視て、上下方向に直線状に延在している請求項2に記載の撮像装置の取付構造。
【請求項5】
前記凸部の前面は、平面視で後方に向かって凸となるように湾曲している請求項4に記載の撮像装置の取付構造。
【請求項6】
前記周壁部は、前記レンズの前記光軸を中心に前記車外側に向かって円環状に突出している請求項1に記載の撮像装置の取付構造。
【請求項7】
平面視で、前記前壁部及び前記後壁部は、前記車外側に向かって円弧状に湾曲しており、
前記後壁部の曲率半径は、前記前壁部の曲率半径よりも大きい請求項1に記載の撮像装置の取付構造。
【請求項8】
前記レンズの前記光軸と垂直であり、且つ前記前壁部の前記車外側の前記端部を通過する平面を第1平面とし、前記レンズの前記光軸と垂直であり、且つ前記後壁部の前記車外側の前記端部を通過する平面を第2平面とした場合に、前記第1平面は、前記第2平面よりも前記車外側に位置している請求項1から請求項6のいずれか1項に記載の撮像装置の取付構造。
発明の詳細な説明
【技術分野】
【0001】
本発明は、撮像装置の取付構造に関する。
続きを表示(約 1,500 文字)
【背景技術】
【0002】
近年、交通参加者の中でも脆弱な立場にある人々にも配慮した持続可能な輸送システムへのアクセスを提供する取り組みが活発化している。この実現に向けて予防安全技術に関する研究開発を通して交通の安全性や利便性をより一層改善する研究開発に注力している。
【0003】
例えば、特許文献1には、ルーフパネルの上に設けられた左右一対のルーフカメラ装置を含む車両が開示されている。特許文献1に記載のルーフカメラ装置は、望遠カメラユニット及び広角カメラユニット(撮像装置)と、望遠カメラユニット及び広角カメラユニットを上方から覆うカバー部(ハウジング)とを有する。
【先行技術文献】
【特許文献】
【0004】
特開2022-39110号公報
【発明の概要】
【発明が解決しようとする課題】
【0005】
特許文献1のように撮像装置が車両の外部に配置される場合、撮像装置のレンズを保護するために、撮像装置のレンズの外周に配置される周壁部をハウジングに設けたい要望がある。この場合、車両の走行により発生する走行風は、周壁部のうちの前側の部分にて渦になり、この渦は、周壁部のうちの後側の部分に当たる。このとき、空気の圧力変動が生じることで、空気が振動し、所謂風切り音が発生する。この風切り音は、ハウジングの内部にて反響することにより増幅され、乗員等に不快感を与える虞がある。
【0006】
本発明は、以上の背景を鑑み、走行風に起因する風切り音の発生を抑制することが可能な撮像装置の取付構造を提供することを目的とする。そして、延いては持続可能な輸送システムの発展に寄与するものである。
【課題を解決するための手段】
【0007】
上記課題を解決するために、本発明は、撮像装置の取付構造(10、100、200、300)であって、車両(1)のルーフ(2)上に搭載される撮像装置(12)と、前記撮像装置の少なくとも一部を収容するハウジング(13)と、を備え、前記撮像装置は、前記車両の前方且つ左右外方を向くレンズ(15)を有し、前記ハウジングは、前記レンズの外周に配置される周壁部(21、201、301)を有し、前記周壁部は、平面視で前記レンズの光軸(A)よりも前方に配置される前壁部(29、202、303)と、平面視で前記レンズの前記光軸よりも後方に配置される後壁部(30、203、302)と、を有し、前記レンズの前記光軸と平行に前記車両の前方且つ左右外方に向かう方向を車外方向とし、前記車外方向における先端側を車外側とした場合に、平面視で、前記前壁部の前記車外側の端部(29A、202A、303A)は、前記後壁部の前記車外側の端部(30A、203A、302A)よりも前記車外側に位置している。
【0008】
この態様によれば、走行風により周壁部の前壁部にて渦が発生しても、この渦は、周壁部の後壁部に当たり難くなる。したがって、走行風に起因する風切り音の発生を抑制することができる。
【0009】
上記の態様において、前記前壁部には、前記車外側に向かって突出する凸部(31、101)が形成されてよい。
【0010】
この態様によれば、前壁部の車外側の端部は、後壁部の車外側の端部に対して、車外側に大きく突出する。そのため、走行風により周壁部の前壁部にて渦が発生しても、この渦は、周壁部の後壁部に一層当たり難くなる。したがって、走行風に起因する風切り音の発生をより効果的に抑制することができる。
(【0011】以降は省略されています)
この特許をJ-PlatPat(特許庁公式サイト)で参照する
関連特許
本田技研工業株式会社
装置
5日前
本田技研工業株式会社
車両
6日前
本田技研工業株式会社
車両
1か月前
本田技研工業株式会社
モータ
2日前
本田技研工業株式会社
保管装置
今日
本田技研工業株式会社
車両構造
2日前
本田技研工業株式会社
電解装置
13日前
本田技研工業株式会社
受電装置
今日
本田技研工業株式会社
送電装置
今日
本田技研工業株式会社
断続装置
今日
本田技研工業株式会社
固体電池
今日
本田技研工業株式会社
ロボット
28日前
本田技研工業株式会社
回転機械
29日前
本田技研工業株式会社
車両構造
2日前
本田技研工業株式会社
保管装置
今日
本田技研工業株式会社
内燃機関
5日前
本田技研工業株式会社
通知装置
5日前
本田技研工業株式会社
内燃機関
5日前
本田技研工業株式会社
搬送装置
1か月前
本田技研工業株式会社
鞍乗型車両
1か月前
本田技研工業株式会社
触媒インク
1か月前
本田技研工業株式会社
鞍乗型車両
12日前
本田技研工業株式会社
リアクトル
5日前
本田技研工業株式会社
触媒インク
1か月前
本田技研工業株式会社
車両制御装置
6日前
本田技研工業株式会社
薄板搬送装置
1か月前
本田技研工業株式会社
車両制御装置
14日前
本田技研工業株式会社
電力変換装置
1か月前
本田技研工業株式会社
電流検出装置
1か月前
本田技研工業株式会社
運転制御装置
2日前
本田技研工業株式会社
潤滑システム
12日前
本田技研工業株式会社
車両制御装置
12日前
本田技研工業株式会社
固体二次電池
12日前
本田技研工業株式会社
電流検出装置
1か月前
本田技研工業株式会社
物体検出装置
1か月前
本田技研工業株式会社
外界認識装置
1か月前
続きを見る
他の特許を見る