TOP
|
特許
|
意匠
|
商標
特許ウォッチ
Twitter
他の特許を見る
10個以上の画像は省略されています。
公開番号
2025142326
公報種別
公開特許公報(A)
公開日
2025-09-30
出願番号
2025127311,2023047952
出願日
2025-07-30,2023-03-24
発明の名称
鍵盤楽器の製造方法及び鍵盤楽器
出願人
カシオ計算機株式会社
代理人
弁理士法人コスモ国際特許事務所
主分類
G10B
3/12 20060101AFI20250919BHJP(楽器;音響)
要約
【課題】鍵盤部を楽器ケースに良好に組立て可能な鍵盤楽器の製造方法及び鍵盤楽器を提供する。
【解決手段】鍵盤楽器10の製造方法は、複数の鍵(白鍵300、黒鍵400)を備える鍵盤部50及び楽器ケース200の何れか一方に左右溝225a及び左右溝225aと連通する前後溝225bを備える凹溝部225を備え、何れか他方に凹溝部225に係合可能な凸部630を備える凹凸係合構造により、鍵盤部50を楽器ケース200に組み付ける鍵盤楽器10の製造方法であって、凸部630を前後溝225bに係合させる前後溝係合工程及び、凸部630を左右溝225aに係合させる左右溝係合工程を有する。
【選択図】図13
特許請求の範囲
【請求項1】
複数の鍵を備える鍵盤部及び楽器ケースの何れか一方に左右溝及び前記左右溝と連通する前後溝を備える凹溝部を備え、何れか他方に前記凹溝部に係合可能な凸部を備える凹凸係合構造により、前記鍵盤部を前記楽器ケースに組み付ける鍵盤楽器の製造方法であって、
前記凸部を前記前後溝に係合させる前後溝係合工程及び、前記凸部を前記左右溝に係合させる左右溝係合工程、
を有する、鍵盤楽器の製造方法。
続きを表示(約 1,200 文字)
【請求項2】
前記鍵盤部は、前記複数の鍵を支持する鍵盤シャーシと、前記鍵盤シャーシの内部に設けられるマウント部材と、を含み、
前記前後溝係合工程は、前記楽器ケースに設けられた第1目印部に合わせて前記楽器ケースに前記マウント部材を配置する工程を含む、
請求項1に記載の鍵盤楽器の製造方法。
【請求項3】
前記前後溝係合工程は、前記楽器ケースに設けられた第2目印部に合わせて前記鍵盤シャーシを配置して前記マウント部材の上側に前記鍵盤シャーシを配置する工程を含む、
請求項2に記載の鍵盤楽器の製造方法。
【請求項4】
前記前後溝係合工程は、前記楽器ケースに設けられる接続部材と前記楽器ケースの棚板との間隙に、前記鍵盤部の一部を入れ込む鍵盤部入込工程を含む、
請求項1に記載の鍵盤楽器の製造方法。
【請求項5】
前記前後溝係合工程及び前記左右溝係合工程の後に、前記鍵盤部の鍵の配列方向における少なくとも一端に設けられる回転部材を回転させて、前記楽器ケースに前記鍵盤部を固定する鍵盤部固定工程、
を有する請求項1乃至請求項4の何れかに記載の鍵盤楽器の製造方法。
【請求項6】
左右溝及び前記左右溝と連通する前後溝を備える凹溝部及び、前記凹溝部に係合可能な凸部、の何れか一方を備える楽器ケースと、
前記楽器ケース内に配置されている鍵盤部であって、前記凹溝部及び、前記凸部、の何れか他方を備える鍵盤部と、
を備え、
前記凹溝部と前記凸部の係合構造により前記楽器ケースと前記鍵盤部が係合し、前記楽器ケースに前記鍵盤部が固定されている、鍵盤楽器。
【請求項7】
前記鍵盤部は、複数の鍵を支持する鍵盤シャーシと、前記鍵盤シャーシの内部に設けられるマウント部材と、を含み、
前記凹溝部及び、前記凸部、の何れか他方は、前記マウント部材に設けられる、
請求項6に記載の鍵盤楽器。
【請求項8】
前記凹溝部は、前側に前記左右溝が配置されるL字状に設けられる、
請求項7に記載の鍵盤楽器。
【請求項9】
前記凹溝部は、前記楽器ケースの下側に設けられる棚板の上面に設けられ、
前記棚板は、前記L字状の前記凹溝部を前記棚板の上面と平行な面内で180度回転した同幅のL字状に配置される目印部であって、前記楽器ケースに前記鍵盤部を載置させる際の目印部を有する、
請求項8に記載の鍵盤楽器。
【請求項10】
前記楽器ケースに設けられる接続部材と前記楽器ケースの棚板との間隙に、前記鍵盤部の一部が入り込んだ状態で、前記楽器ケースに前記鍵盤部が固定されている、
請求項6乃至請求項9の何れかに記載の鍵盤楽器。
発明の詳細な説明
【技術分野】
【0001】
本発明は、鍵盤楽器の製造方法及び鍵盤楽器に関する。
続きを表示(約 2,100 文字)
【背景技術】
【0002】
従来から、楽器ケースの下面を備える棚板に、複数の鍵を備える鍵盤シャーシ等の鍵盤部が取り付けられた鍵盤楽器が提供されている。例えば、特許文献1には、楽器ケースと接続される連結バーが設けられた鍵盤シャーシを備える鍵盤楽器が開示されている。鍵盤シャーシの棚板に対する固定は、棚板の下面に取り付けられる補強用のリブを介して、棚板の下面側からねじ部材を取り付けることで行われている。
【先行技術文献】
【特許文献】
【0003】
特開2006-047837号公報
【発明の概要】
【発明が解決しようとする課題】
【0004】
上記従来の鍵盤楽器の組立は、楽器ケースの下側に潜り込んで複数のねじ締めを行うか、鍵盤シャーシや連結バーを支持する治具を用いて楽器ケースを反転して複数のねじ締めを行う等、煩雑な作業が行われる。
【0005】
本発明は、鍵盤部を楽器ケースに良好に組立て可能な鍵盤楽器の製造方法及び鍵盤楽器を提供することを目的とする。
【課題を解決するための手段】
【0006】
本発明に係る鍵盤楽器の製造方法は、複数の鍵を備える鍵盤部及び楽器ケースの何れか一方に左右溝及び前記左右溝と連通する前後溝を備える凹溝部を備え、何れか他方に前記凹溝部に係合可能な凸部を備える凹凸係合構造により、前記鍵盤部を前記楽器ケースに組み付ける鍵盤楽器の製造方法であって、前記凸部を前記前後溝に係合させる前後溝係合工程及び、前記凸部を前記左右溝に係合させる左右溝係合工程、を有する。
【0007】
本発明に係る鍵盤楽器は、左右溝及び前記左右溝と連通する前後溝を備える凹溝部及び、前記凹溝部に係合可能な凸部、の何れか一方を備える楽器ケースと、前記楽器ケース内に配置されている鍵盤部であって、前記凹溝部及び、前記凸部、の何れか他方を備える鍵盤部と、を備え、前記凹溝部と前記凸部の係合構造により前記楽器ケースと前記鍵盤部が係合し、前記楽器ケースに前記鍵盤部が固定されている。
【発明の効果】
【0008】
本発明によれば、鍵盤部を楽器ケースに良好に組立て可能な鍵盤楽器の製造方法及び鍵盤楽器を提供することができる。
【図面の簡単な説明】
【0009】
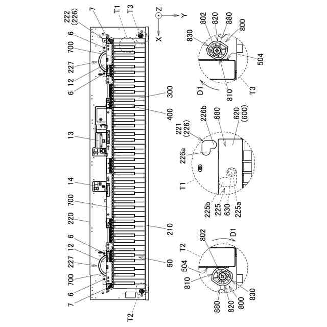
本発明の実施形態に係る鍵盤楽器を示す斜視図である。
本発明の実施形態に係る鍵盤楽器の図1のII-II断面図である。
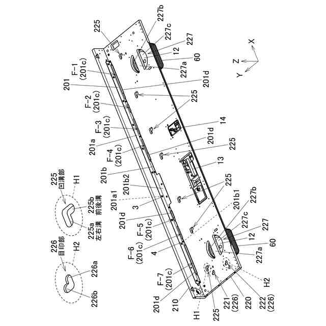
本発明の実施形態に係る鍵盤楽器の前板と棚板を組み合わせた状態を後側から見た斜視図である。
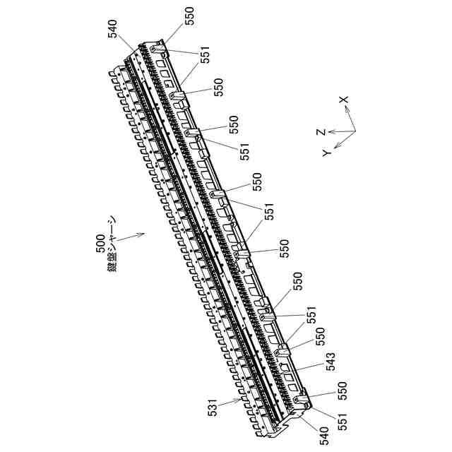
本発明の実施形態に係る鍵盤楽器の鍵盤シャーシを前側から見た斜視図である。
本発明の実施形態に係る鍵盤楽器の鍵盤シャーシを後側から見た斜視図である。
本発明の実施形態に係る鍵盤楽器のマウント部材を前上側から見た斜視図である。
本発明の実施形態に係る鍵盤楽器のマウント部材を後下側から見た斜視図である。
本発明の実施形態に係る鍵盤楽器の組立方法の説明図であって、前板が接続された棚板にマウント部材を載置した状態を示す平面図である。
本発明の実施形態に係る鍵盤楽器の組立方法の説明図であって、図8のマウント部材に複数の鍵を支持する鍵盤シャーシを嵌合させる様子を示す図8のIX-IX断面に相当する断面図である。なお、複数の鍵は断面とせず、基板やスイッチ等、一部の部材は省略されている。
本発明の実施形態に係る鍵盤楽器の組立方法の説明図であって、図8のマウント部材に複数の鍵を支持する鍵盤シャーシを載置して嵌合させた状態を示す平面図である。
本発明の実施形態に係る鍵盤楽器の組立方法の説明図であって、マウント部材に鍵盤シャーシを載置して嵌合させた状態を示す図10のXI-XI断面に相当する断面図である。なお、複数の鍵は断面とせず、基板やスイッチ等、一部の部材は省略されている。
本発明の実施形態に係る鍵盤楽器の組立方法の説明図であって、図11の状態から鍵盤部を前進させた状態を示す、図10のXI-XI断面に相当する断面図である。なお、複数の鍵は断面とせず、基板やスイッチ等、一部の部材は省略されている。
本発明の実施形態に係る鍵盤楽器の組立方法の説明図であって、鍵盤部を前側及び右側に移動して正規の位置とし、固定部材及び回転部材を取り付けた状態を示す平面図である。
本発明の実施形態に係る鍵盤楽器の回転部材を下側から見た斜視図である。
【発明を実施するための形態】
【0010】
以下、本発明の実施形態を図に基づいて説明する。図1に示すように、鍵盤楽器10は、楽器ケース200に、複数の白鍵300と複数の黒鍵400を含むフルサイズ(88鍵)の複数の鍵が設けられている。鍵盤楽器10は、楽器ケース200に着脱自在の譜面台30を有して、楽器スタンド20により支持されている。
(【0011】以降は省略されています)
この特許をJ-PlatPat(特許庁公式サイト)で参照する
関連特許
カシオ計算機株式会社
支持台
4日前
カシオ計算機株式会社
減音器具
6日前
カシオ計算機株式会社
減音器具
6日前
カシオ計算機株式会社
電子鍵盤楽器
4日前
カシオ計算機株式会社
装飾板及び時計
5日前
カシオ計算機株式会社
光源装置及び投影装置
18日前
カシオ計算機株式会社
光源装置及び投影装置
6日前
カシオ計算機株式会社
光源装置及び投影装置
6日前
カシオ計算機株式会社
端末装置及びプログラム
6日前
カシオ計算機株式会社
外装部品ユニット及び時計
4日前
カシオ計算機株式会社
電子機器、及び表示制御方法
8日前
カシオ計算機株式会社
カッターユニット及び切断装置
4日前
カシオ計算機株式会社
制御装置、方法およびプログラム
8日前
カシオ計算機株式会社
制御装置、方法およびプログラム
8日前
カシオ計算機株式会社
補助バスマスタ回路及び電子機器
8日前
カシオ計算機株式会社
演奏装置、方法およびプログラム
6日前
カシオ計算機株式会社
演奏装置、方法およびプログラム
5日前
カシオ計算機株式会社
発音装置及び音出力制御システム
18日前
カシオ計算機株式会社
ロボット、及びロボットの製造方法
4日前
カシオ計算機株式会社
制御装置、制御方法、及びプログラム
5日前
カシオ計算機株式会社
外装部品、外装部品ユニット及び時計
4日前
カシオ計算機株式会社
情報処理装置、方法およびプログラム
4日前
カシオ計算機株式会社
プログラム、電子機器及び登録処理方法
4日前
カシオ計算機株式会社
電子機器、登録処理方法及びプログラム
4日前
カシオ計算機株式会社
情報処理装置、表示方法、及びプログラム
8日前
カシオ計算機株式会社
情報提供装置、情報提供方法及びプログラム
6日前
カシオ計算機株式会社
情報処理装置、プログラム及び情報処理方法
4日前
カシオ計算機株式会社
切断制御装置、切断制御方法及びプログラム
18日前
カシオ計算機株式会社
音声提供装置、音声提供方法及びプログラム
4日前
カシオ計算機株式会社
印刷装置、印刷装置の制御方法及びプログラム
4日前
カシオ計算機株式会社
電子時計、電子時計の制御方法及びプログラム
8日前
カシオ計算機株式会社
投影装置、投影装置の調整方法及びプログラム
5日前
カシオ計算機株式会社
投影装置、投影装置の調整方法及びプログラム
5日前
カシオ計算機株式会社
電子楽器、電子楽器の制御方法及びプログラム
4日前
カシオ計算機株式会社
情報処理装置、表示制御方法、及びプログラム
4日前
カシオ計算機株式会社
電子機器、電子機器の制御方法及びプログラム
8日前
続きを見る
他の特許を見る