TOP
|
特許
|
意匠
|
商標
特許ウォッチ
Twitter
他の特許を見る
10個以上の画像は省略されています。
公開番号
2025142095
公報種別
公開特許公報(A)
公開日
2025-09-29
出願番号
2025120796,2023135760
出願日
2025-07-17,2019-08-19
発明の名称
光学部材、該光学部材を含むレーザーモジュール及びレーザーデバイス
出願人
株式会社ダイセル
代理人
弁理士法人G-chemical
主分類
H01S
5/02 20060101AFI20250919BHJP(基本的電気素子)
要約
【課題】面発光レーザーを有するレーザーモジュールに用いられる光学部材において、損傷(クラック、剥離など)を検出可能な光学部材、及びその製造方法、該光学部材を含むレーザーモジュール、レーザーデバイスを提供すること。
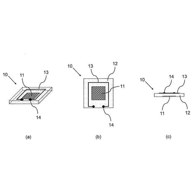
【解決手段】面発光レーザー光源を有するレーザーモジュールに用いるための光学部材10であって、導電性物質を含む配線13を有することを特徴とする光学部材10。光学部材10は、好ましくは、回折光学素子及びマイクロレンズアレイからなる群から選択される少なくとも1種の光学素子を有する光学素子領域11を含んでいる。光学部材10は、印刷方式により導電性物質を含むインクを光学部材に塗布して配線13を形成する工程を含む方法により好適に製造される。
【選択図】図1
特許請求の範囲
【請求項1】
面発光レーザー光源を有するレーザーモジュールに用いるための光学部材であって、
導電性物質を含む配線を有することを特徴とする光学部材。
続きを表示(約 640 文字)
【請求項2】
前記導電性物質が金属を含む、請求項1に記載の光学部材。
【請求項3】
前記導電性物質が銀を含む、請求項1又は2に記載の光学部材。
【請求項4】
前記光学部材が、回折光学素子及びマイクロレンズアレイからなる群から選択される少なくとも1種の光学素子を有する、請求項1~3のいずれか1項に記載の光学部材。
【請求項5】
前記光学部材が、プラスチック、又はプラスチックと無機ガラスの積層体である、請求項1~4のいずれか1項に記載の光学部材。
【請求項6】
前記プラスチックが、硬化性エポキシ樹脂組成物の硬化物である、請求項5に記載の光学部材。
【請求項7】
請求項1~6のいずれか1項に記載の光学部材と、面発光レーザー光源とを有するレーザーモジュール。
【請求項8】
さらに、前記光学部材が有する導電性物質を含む配線の通電状態を検出する通電検出機構を有する、請求項7に記載のレーザーモジュール。
【請求項9】
請求項7又は8に記載のレーザーモジュールを有する、レーザーデバイス。
【請求項10】
請求項1~6のいずれか1項に記載の光学部材の製造方法であって、
印刷方式により導電性物質を含むインクを光学部材に塗布して配線を形成する工程を含むことを特徴とする、前記光学部材の製造方法。
(【請求項11】以降は省略されています)
発明の詳細な説明
【技術分野】
【0001】
本発明は、面発光レーザー光源を有するレーザーモジュールに用いられる光学部材、及びその製造方法、並びに該光学部材を含むレーザーモジュール、レーザーデバイスに関する。
続きを表示(約 2,000 文字)
【背景技術】
【0002】
スマートフォンの普及に伴うセキュリティリスク回避のための顔認証、3Dマッピングの認識用カメラ、ゲーム機のジェスチャー認識コントローラー、自動車の自動運転、工場のマシンビジョンなど、物体の立体形状を認識する3Dセンシングの需要が近年急速に増大している。このような3Dセンシングとしては、TOF(Time Of Flight)方式、ストラクチャードライト方式などが採用されており、これらは、垂直共振器面発光レーザー(Vertical Cavity Surface Emitting Laser:VCSEL)などのレーザー光源から対象物に対してレーザー光を照射し、反射してきた光から情報を得るものである。
【0003】
これらの3Dセンシングにおいては、その用途・目的に応じて、拡散板、回折光学素子、レンズ、プリズム、偏光板等の光学素子を有する光学部材を用いてレーザー光が制御・整形される。例えば、TOF方式では、均一なレーザー光とするための光学素子として拡散板が用いられ、ストラクチャードライト方式では、回折光学素子を用いてレーザー光がドットパターンなどの構造光(ストラクチャードライト)に制御・整形される(例えば、特許文献1~3)。
【先行技術文献】
【特許文献】
【0004】
特開2017-26662号公報
特表2018-511034公報
特表2006-500621公報
【発明の概要】
【発明が解決しようとする課題】
【0005】
3Dセンシングでは、レーザー光として850nmや940nmの比較的安全性が高い近赤外線が用いられることが多い。しかしながら、スマートフォンの顔認証の場合はレーザー光のような高出力の光が目に直接照射されるため、失明などの害をもたらす可能性がある。拡散板や回折光学素子等を有する光学部材はレーザー光を拡散するため、そのような害を軽減する役割も果たしているが、落下や衝撃などによって、光学部材にクラックや剥離などの損傷が発生した場合には、拡散されていないレーザー光が直接目に照射されることが考えられる。また、自動車の自動運転など屋外で使用され、太陽光、振動などの過酷な環境で使用される3Dセンシングシステムにおいて光学部材が劣化・損傷した場合、誤作動により事故が発生する恐れがあり、そのような不具合は早急に検出する必要がある。しかしながら、従来の3Dセンシングシステムでは、光学部材の損傷を検出する手段は知られておらず、気が付かずに継続使用されているのが現状である。
【0006】
従って、本発明の目的は、面発光レーザーを有するレーザーモジュールに用いられる光学部材において、損傷(クラック、剥離など)を検出可能な光学部材、及びその製造方法を提供することである。
本発明の他の目的は、前記光学部材を有するレーザーモジュールを提供することにある。
また、本発明の他の目的は、前記レーザーモジュールを有するレーザーデバイスを提供することにある。
【0007】
なお、レーザーモジュールは、はんだ付けにより電極を配線基板に接合するためのリフロー工程を経るのが一般的である。近年、接合材としてのはんだとして、融点の高い無鉛はんだが使用されるようになってきており、リフロー工程での加熱処理がより高温(例えば、ピーク温度が240~260℃)になってきている。このような状況下、従来のレーザーモジュールにおいては、リフロー工程での加熱処理によりマイクロレンズアレイ、回折光学素子などの光学素子を有する光学部材にクラックが生じたりする等の劣化の問題が生じていた。従って、レーザーモジュールに用いる光学部材は優れた耐熱性、特に、リフロー工程において加熱処理された際にもクラックや剥離が生じにくい特性も求められている。
【課題を解決するための手段】
【0008】
本発明者等は上記課題を解決するため鋭意検討した結果、レーザーモジュールに用いられる光学部材に導電性物質を含む配線を施し、当該配線の通電状態をモニターすることにより、光学部材の損傷を検出できることを見出した。また、該配線は、印刷方式により導電性物質を含むインクを光学部材に塗布することにより、簡便かつ効率的に形成できることも見出した。本発明は、これらの知見に基づいて完成されたものである。
【0009】
すなわち、本発明は、面発光レーザー光源を有するレーザーモジュールに用いるための光学部材であって、
導電性物質を含む配線を有することを特徴とする光学部材を提供する。
【0010】
前記光学部材において、前記導電性物質は金属を含んでいてもよい。
(【0011】以降は省略されています)
この特許をJ-PlatPat(特許庁公式サイト)で参照する
関連特許
個人
フレキシブル電気化学素子
5日前
株式会社ユーシン
操作装置
5日前
ローム株式会社
半導体装置
7日前
日新イオン機器株式会社
イオン源
1日前
株式会社GSユアサ
蓄電設備
5日前
オムロン株式会社
電磁継電器
6日前
太陽誘電株式会社
コイル部品
5日前
株式会社GSユアサ
蓄電設備
5日前
ノリタケ株式会社
熱伝導シート
5日前
トヨタ自動車株式会社
バッテリ
6日前
トヨタ自動車株式会社
蓄電装置
5日前
日東電工株式会社
積層体
6日前
サクサ株式会社
電池の固定構造
5日前
ローム株式会社
半導体装置
7日前
ローム株式会社
半導体装置
7日前
古河電気工業株式会社
端子
5日前
東レエンジニアリング株式会社
実装装置
6日前
ローム株式会社
半導体装置
6日前
SMK株式会社
キートップ及びスイッチ
7日前
ベストテック株式会社
装置支持具
5日前
株式会社ダイヘン
搬送装置
5日前
日本製紙株式会社
導電性フィルム
6日前
日本製紙株式会社
導電性フィルム
6日前
APB株式会社
二次電池モジュール
5日前
APB株式会社
二次電池モジュール
5日前
太陽誘電株式会社
コイル部品
6日前
日本電気株式会社
レーザモジュール
6日前
太陽誘電株式会社
コイル部品
1日前
太陽誘電株式会社
コイル部品
5日前
エイブリック株式会社
半導体集積回路装置
1日前
株式会社村田製作所
コイル部品
5日前
矢崎総業株式会社
フラット導体
7日前
株式会社湯原製作所
熱マネジメント用パネル
6日前
本田技研工業株式会社
固体電池
5日前
本田技研工業株式会社
発電セル
5日前
太陽誘電株式会社
セラミック電子部品
5日前
続きを見る
他の特許を見る