TOP
|
特許
|
意匠
|
商標
特許ウォッチ
Twitter
他の特許を見る
10個以上の画像は省略されています。
公開番号
2025142092
公報種別
公開特許公報(A)
公開日
2025-09-29
出願番号
2025120648,2021069265
出願日
2025-07-17,2021-04-15
発明の名称
半導体装置、表示装置、撮像装置、電子機器
出願人
キヤノン株式会社
代理人
弁理士法人大塚国際特許事務所
主分類
H01L
21/60 20060101AFI20250919BHJP(基本的電気素子)
要約
【課題】素子基板の端子に対して配線基板の電極がずれて圧着された場合でも、素子基板と配線基板の導通不良を低減することができる半導体装置を提供する。
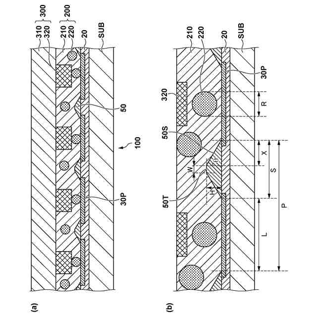
【解決手段】第一基板と、第一基板の主面上に配された機能素子と、機能素子と電気的に接続され、第一基板とは異なる第二基板に配された電極と接続される端子と、端子の端を覆う絶縁部と、端子と絶縁部の上に配され、導電粒子を含有する導電膜と、を備え、第一基板の主面に垂直な断面において、絶縁部は、上辺と、上辺に対して傾斜した側辺とを有し、上辺の幅が、導電粒子の直径よりも小さい。
【選択図】図2
特許請求の範囲
【請求項1】
第一基板と、前記第一基板の主面上に配された機能素子と、
前記機能素子と電気的に接続され、前記第一基板とは異なる第二基板に配された電極と接続される端子と、
前記端子の端を覆う絶縁部と、
前記端子と前記絶縁部の上に配され、導電粒子を含有する導電膜と、を備え、
前記第一基板の主面に垂直な断面において、前記絶縁部は、上辺と、該上辺に対して傾斜した側辺とを有し、前記上辺の幅が、前記導電粒子の直径よりも小さいことを特徴とする半導体装置。
発明の詳細な説明
【技術分野】
【0001】
本発明は、配線基板と接続される半導体装置に関する。
続きを表示(約 1,500 文字)
【背景技術】
【0002】
撮像または表示を行う半導体装置は、素子及び外部接続端子が配置された素子基板を有し、素子基板は外部の回路と接続するための配線基板と接続される。配線基板(例えばフレキシブルプリント基板(以下、FPC))は、異方性導電膜(ACF)を介して素子基板の外部接続端子に接合される。
【0003】
近年、半導体装置の小型化に向けて、外部接続端子の領域を狭くするために外部接続端子間のピッチをより小さくすることが求められている。外部接続端子間のピッチが狭くなるにつれて、素子基板の外部接続端子と配線基板とのアライメントずれによる接合不良が発生しやすくなるという課題がある。
【0004】
特許文献1には、素子基板側の外部接続端子間に絶縁部を設け、FPCの配線のズレに対するガイド部材とすることが開示されている。
【先行技術文献】
【特許文献】
【0005】
特開2015-232660号公報
【発明の概要】
【発明が解決しようとする課題】
【0006】
しかしながら、外部接続端子間の絶縁部をガイド部材とするには、配線基板の電極が素子基板の外部接続端子上に確実に収まるように、配線基板と素子基板をアライメントする必要がある。そのため、アライメントマージンを考慮して広めに外部接続端子を設計する必要があり、結果として、外部接続端子間のピッチを狭くすることが難しいという課題があった。
【0007】
本発明は上述した課題に鑑みてなされたものであり、その目的は、素子基板の端子に対して配線基板の電極がずれて圧着された場合でも、素子基板と配線基板の導通不良を低減することができる半導体装置を提供することである。
【課題を解決するための手段】
【0008】
本発明に係わる半導体装置は、第一基板と、前記第一基板の主面上に配された機能素子と、前記機能素子と電気的に接続され、前記第一基板とは異なる第二基板に配された電極と接続される端子と、前記端子の端を覆う絶縁部と、前記端子と前記絶縁部の上に配され、導電粒子を含有する導電膜と、を備え、前記第一基板の主面に垂直な断面において、前記絶縁部は、上辺と、該上辺に対して傾斜した側辺とを有し、前記上辺の幅が、前記導電粒子の直径よりも小さいことを特徴とする。
【発明の効果】
【0009】
本発明によれば、素子基板の端子に対して配線基板の電極がずれて圧着された場合でも、素子基板と配線基板の導通不良を低減することが可能となる。
【図面の簡単な説明】
【0010】
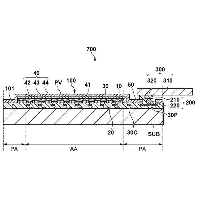
本発明の一実施形態に係る半導体装置を説明する模式図。
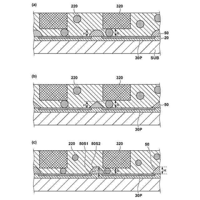
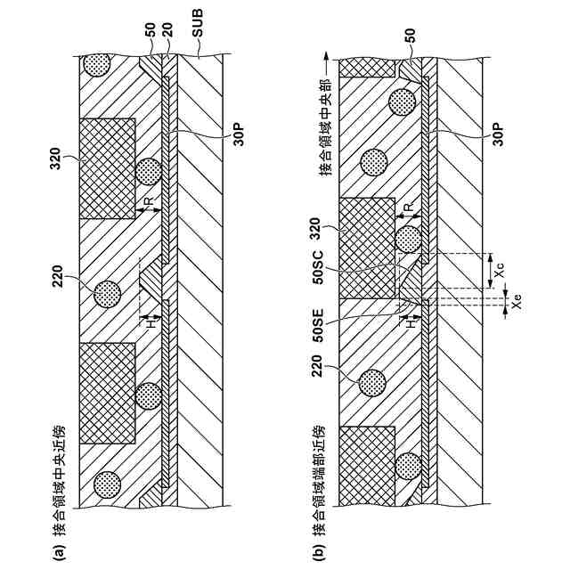
一実施形態の半導体装置における接合領域の断面模式図。
一実施形態の半導体装置における接合領域の断面模式図。
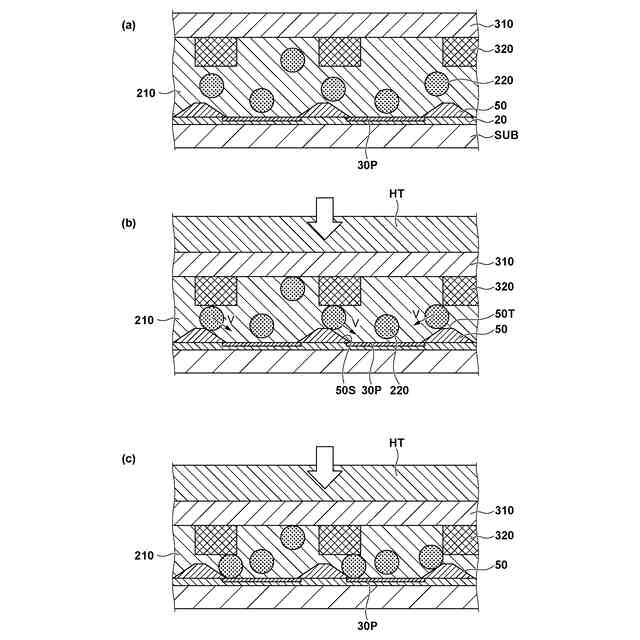
一実施形態の半導体装置におけるACF圧着工程における接合領域の断面模式図。
一実施形態における有機EL表示装置の接合領域の断面模式図。
有機EL表示装置の製造方法について説明する図。
端子間絶縁層をエッチバック法で形成する場合の接合領域の断面模式図。
一実施形態に係る発光装置の画素を表す断面模式図。
一実施形態に係る表示装置を表す模式図。
一実施形態に係る撮像装置と電子機器を表す模式図。
一実施形態に係る表示装置を表す模式図。
一実施形態に係る照明装置と移動体の模式図。
一実施形態に係るウェアラブルデバイスを示す模式図。
【発明を実施するための形態】
(【0011】以降は省略されています)
この特許をJ-PlatPat(特許庁公式サイト)で参照する
関連特許
キヤノン株式会社
トナー
29日前
キヤノン株式会社
撮像装置
1か月前
キヤノン株式会社
電子機器
14日前
キヤノン株式会社
表示装置
5日前
キヤノン株式会社
収容装置
6日前
キヤノン株式会社
定着装置
6日前
キヤノン株式会社
電子機器
6日前
キヤノン株式会社
電子機器
6日前
キヤノン株式会社
撮像装置
6日前
キヤノン株式会社
定着装置
12日前
キヤノン株式会社
撮像装置
12日前
キヤノン株式会社
記録装置
13日前
キヤノン株式会社
撮像装置
13日前
キヤノン株式会社
記録装置
14日前
キヤノン株式会社
撮像装置
14日前
キヤノン株式会社
電子機器
2日前
キヤノン株式会社
定着装置
21日前
キヤノン株式会社
定着装置
21日前
キヤノン株式会社
電子機器
21日前
キヤノン株式会社
撮像装置
23日前
キヤノン株式会社
電子機器
23日前
キヤノン株式会社
撮像装置
26日前
キヤノン株式会社
電子機器
26日前
キヤノン株式会社
光学装置
26日前
キヤノン株式会社
現像装置
29日前
キヤノン株式会社
電子機器
29日前
キヤノン株式会社
撮像装置
1か月前
キヤノン株式会社
発光装置
5日前
キヤノン株式会社
定着装置
21日前
キヤノン株式会社
電子機器
今日
キヤノン株式会社
半導体装置
今日
キヤノン株式会社
容器構造体
1か月前
キヤノン株式会社
容器構造体
1か月前
キヤノン株式会社
光学測定装置
21日前
キヤノン株式会社
撮像システム
14日前
キヤノン株式会社
有機発光素子
12日前
続きを見る
他の特許を見る