TOP
|
特許
|
意匠
|
商標
特許ウォッチ
Twitter
他の特許を見る
10個以上の画像は省略されています。
公開番号
2025142025
公報種別
公開特許公報(A)
公開日
2025-09-29
出願番号
2025118794,2021144255
出願日
2025-07-15,2021-09-03
発明の名称
駐車管理システム、駐車管理方法および情報処理装置
出願人
TOPPANエッジ株式会社
,
日産自動車株式会社
代理人
弁理士法人酒井国際特許事務所
主分類
G08G
1/14 20060101AFI20250919BHJP(信号)
要約
【課題】駐車管理に関する利便性を向上させる。
【解決手段】本開示に係る情報処理システムは、車両に搭載されるRF(Radio Frequency)タグと、車両の運転者が着用する衣服または着用具に収納される情報処理装置と、駐車管理装置とを含む。情報処理装置は、前記RFタグの情報を読み取り可能なRFリーダと、前記RFタグの読み取りを開始するための信号を発信可能なトリガーユニットと、前記トリガーユニットから発せられる信号を受信したことを契機として、前記RFリーダに前記RFタグの読み取りを開始させる信号を発信可能な情報通信端末と、を含む。前記トリガーユニットは、前記衣服または着用具において、前記運転者の身体前方側に配置される。
【選択図】図1
特許請求の範囲
【請求項1】
車両に搭載されるRF(Radio Frequency)タグと、前記車両の運転者が着用する衣服または着用具に収納される情報処理装置と、駐車管理装置とを含む駐車管理システムであって、
前記情報処理装置は、
前記RFタグの情報を読み取り可能なRFリーダと、
前記RFタグの読み取りを開始するための信号を発信可能なトリガーユニットと、
前記トリガーユニットから発せられる信号を受信したことを契機として、前記RFリーダに前記RFタグの読み取りを開始させる信号を発信可能な情報通信端末と、を含み、
前記トリガーユニットは、前記衣服または着用具において、前記運転者の身体前方側に配置され、
前記情報通信端末は、
前記運転者による第1の行動を検出したことを契機として、前記RFタグに保持された車両情報および前記車両の位置情報を取得する取得部と、
前記取得部によって取得された位置情報を前記車両の駐車位置と判定し、前記車両情報と当該駐車位置とを紐づけて前記駐車管理装置に送信する送信部と、を備え、
前記駐車管理装置は、
前記送信部によって送信された前記車両情報と前記駐車位置とを、前記車両の駐車領域情報と紐づけて記憶する記憶部と、
前記記憶部によって記憶された情報に基づいて、駐車領域における前記車両の駐車位置を地図上に表示する表示制御部と、
を備えることを特徴とする駐車管理システムであって、
前記取得部は、
前記第1の行動として、前記トリガーユニットであるボタンを前記運転者が押下したことを契機として、前記RFタグに保持された車両情報および前記車両の位置情報を取得する、
駐車管理システム。
続きを表示(約 1,500 文字)
【請求項2】
前記トリガーユニットおよび前記RFリーダは、
前記衣服または着用具が備える収納部に収納され、かつ、前記衣服または着用具を着用する前記運転者に対し前記運転者の身体から離れた側である外側に配置される、
請求項1に記載の駐車管理システム。
【請求項3】
前記情報通信端末は、
前記収納部に収納され、かつ、前記RFリーダよりも前記運転者の身体に近い側である内側に配置される、
請求項2に記載の駐車管理システム。
【請求項4】
車両に搭載されるRF(Radio Frequency)タグと、前記車両の運転者が着用する衣服または着用具に収納される情報処理装置と、駐車管理装置とを含む駐車管理システムによって実行される駐車管理方法であって、
前記情報処理装置は、
前記RFタグの情報を読み取り可能なRFリーダと、
前記RFタグの読み取りを開始するための信号を発信可能なトリガーユニットと、
前記トリガーユニットから発せられる信号を受信したことを契機として、前記RFリーダに前記RFタグの読み取りを開始させる信号を発信可能な情報通信端末と、を含み、
前記トリガーユニットは、前記衣服または着用具において、前記運転者の身体前方側に配置され、
前記情報通信端末が、
前記運転者による第1の行動を検出したことを契機として、前記RFタグに保持された車両情報および前記車両の位置情報を取得し、
前記取得された位置情報を前記車両の駐車位置と判定し、前記車両情報と当該駐車位置とを紐づけて前記駐車管理装置に送信し、
前記駐車管理装置が、
前記送信された前記車両情報と前記駐車位置とを、前記車両の駐車領域情報と紐づけて記憶し、
前記記憶された情報に基づいて、駐車領域における前記車両の駐車位置を地図上に表示する、
ことを特徴とする駐車管理方法であって、
さらに、前記情報通信端末が、
前記第1の行動として、前記トリガーユニットであるボタンを前記運転者が押下したことを契機として、前記RFタグに保持された車両情報および前記車両の位置情報を取得する、
駐車管理方法。
【請求項5】
車両の運転者が着用する衣服または着用具に収納される情報処理装置であって、
前記情報処理装置は、
RF(Radio Frequency)タグの情報を読み取り可能なRFリーダと、
前記RFタグの読み取りを開始するための信号を発信可能なトリガーユニットと、
前記トリガーユニットから発せられる信号を受信したことを契機として、前記RFリーダに前記RFタグの読み取りを開始させる信号を発信可能な情報通信端末と、を含み、
前記トリガーユニットは、前記衣服または着用具において、前記運転者の身体前方側に配置され、
前記情報通信端末は、
前記運転者による第1の行動を検出したことを契機として、車両に搭載されるRFタグに保持された車両情報および前記車両の位置情報を取得する取得部と、
前記取得部によって取得された位置情報を前記車両の駐車位置と判定し、前記車両情報と当該駐車位置とを紐づけて、当該車両情報を管理する駐車管理装置に送信する送信部と、
を備え、
前記取得部は、
前記第1の行動として、前記トリガーユニットであるボタンを前記運転者が押下したことを契機として、前記RFタグに保持された車両情報および前記車両の位置情報を取得する、
ことを特徴とする情報処理装置。
発明の詳細な説明
【技術分野】
【0001】
本開示は、駐車管理システム、駐車管理方法および情報処理装置に関する。
続きを表示(約 2,100 文字)
【背景技術】
【0002】
自動車等、車両の在庫を効率的に管理するための技術が求められている。例えば、出荷前の車両は広大な駐車場に一時的に駐車されることになるが、どの車両がどこに駐車されたかが適切に管理されていなければ、車両の捜索に手間を要することになる。
【0003】
駐車管理に関する技術として、RFタグを利用して車両の位置を特定する技術が知られている(下記特許文献1を参照)。また、従業員の作業の邪魔をせずにRFリーダーを装着するための技術も知られている(下記特許文献2を参照)。
【先行技術文献】
【特許文献】
【0004】
特許第6232657号公報
特許第5992616号公報
【発明の概要】
【発明が解決しようとする課題】
【0005】
従来技術によれば、新たに特別な通信インターフェイスを備えることなく、車両の位置を特定することができる。
【0006】
しかしながら、従来技術は、あくまでRFタグを利用して車両の駐車位置を特定するに過ぎない。車両の駐車管理は、車両の移動を行うドライバーや、駐車管理を担う管理者にとって負担の大きい業務であるため、それら関係者の負担を軽減する技術が望まれる。
【0007】
そこで、本開示では、駐車管理に関する利便性を向上させることのできる駐車管理システム、駐車管理方法および情報処理装置を提案する。
【課題を解決するための手段】
【0008】
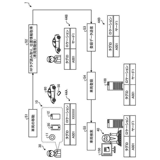
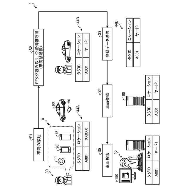
上記の課題を解決するために、本開示に係る一形態の駐車管理システムは、車両に搭載されるRF(Radio Frequency)タグと、前記車両の運転者が着用する衣服または着用具に収納される情報処理装置と、駐車管理装置とを含む。前記情報処理装置は、前記RFタグの情報を読み取り可能なRFリーダと、前記RFタグの読み取りを開始するための信号を発信可能なトリガーユニットと、前記トリガーユニットから発せられる信号を受信したことを契機として、前記RFリーダに前記RFタグの読み取りを開始させる信号を発信可能な情報通信端末と、を含む。前記トリガーユニットは、前記衣服または着用具において、前記運転者の身体前方側に配置される。前記情報通信端末は、前記運転者による第1の行動を検出したことを契機として、前記RFタグに保持された車両情報および前記車両の位置情報を取得する取得部と、前記取得部によって取得された位置情報を前記車両の駐車位置と判定し、前記車両情報と当該駐車位置とを紐づけて前記駐車管理装置に送信する送信部と、を備える。前記駐車管理装置は、前記送信部によって送信された前記車両情報と前記駐車位置とを、前記車両の駐車領域情報と紐づけて記憶する記憶部と、前記記憶部によって記憶された情報に基づいて、駐車領域における前記車両の駐車位置を地図上に表示する表示制御部と、を備え、前記取得部は、前記第1の行動として、前記トリガーユニットであるボタンを前記運転者が押下したことを契機として、前記RFタグに保持された車両情報および前記車両の位置情報を取得する。
【図面の簡単な説明】
【0009】
実施形態に係る駐車管理システムが実行する処理の流れを模式的に示すブロック図である。
実施形態に係る携帯ユニットの構造を示す図(1)である。
実施形態に係る携帯ユニットの構造を示す図(2)である。
実施形態に係る携帯ユニットの構造を示す図(3)である。
実施形態に係る駐車管理システムの構成例を示す図である。
実施形態に係る通信端末および管理装置の構成例を示す図である。
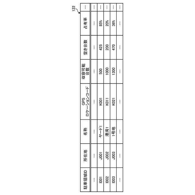
実施形態に係る位置情報記憶部の一例を示す図である。
実施形態に係る車両情報記憶部の一例を示す図である。
実施形態に係る駐車領域記憶部の一例を示す図である。
実施形態に係る駐車位置記憶部の一例を示す図である。
実施形態に係るユーザインターフェイスを示す図(1)である。
実施形態に係るユーザインターフェイスを示す図(2)である。
実施形態に係る画面表示処理を示す図(1)である。
実施形態に係る画面表示処理を示す図(2)である。
実施形態に係る情報処理の手順を示すフローチャート(1)である。
実施形態に係る情報処理の手順を示すフローチャート(2)である。
変形例に係る駐車管理システムが実行する処理の流れを模式的に示すブロック図である。
変形例に係る情報処理の手順を示すフローチャートである。
情報処理装置の機能を実現するコンピュータの一例を示すハードウェア構成図である。
【発明を実施するための形態】
【0010】
以下に、本開示の実施形態について図面に基づいて詳細に説明する。なお、以下の実施形態において、同一の部位には同一の符号を付することにより重複する説明を省略する。
(【0011】以降は省略されています)
この特許をJ-PlatPat(特許庁公式サイト)で参照する
関連特許
日本精機株式会社
路面投影装置
3か月前
日本精機株式会社
警報システム
1か月前
個人
自動電動車椅子
14日前
エムケー精工株式会社
車両誘導装置
1か月前
スズキ株式会社
運転支援装置
1か月前
ニッタン株式会社
検知器
今日
ニッタン株式会社
検知器
22日前
ニッタン株式会社
検知器
22日前
ニッタン株式会社
発信機
1か月前
個人
防犯に特化したアプリケーション
3か月前
株式会社国際電気
防災システム
1か月前
ニッタン株式会社
発信機
1か月前
ニッタン株式会社
検知器
24日前
ニッタン株式会社
発信機
2か月前
ニッタン株式会社
発信機
3か月前
個人
磁気路上での車両の路線離脱防御
3日前
東京都公立大学法人
液滴検出装置
3か月前
TOA株式会社
拡声放送システム
3か月前
トヨタ自動車株式会社
車両
1か月前
トヨタ自動車株式会社
サーバ
7日前
個人
乗り物の移動を支援する方法及び装置
2か月前
株式会社JVCケンウッド
警報装置
2か月前
株式会社小糸製作所
移動体検出装置
24日前
株式会社SUBARU
運転支援装置
1日前
株式会社アジラ
データ転送システム
3か月前
日本信号株式会社
情報提供システム
2か月前
日本信号株式会社
異常走行検出装置
7日前
日本信号株式会社
信号情報システム
2か月前
日本精機株式会社
報知装置及び報知システム
13日前
株式会社CCT
通信装置及び表示方法
今日
株式会社小糸製作所
車両検出システム
24日前
トヨタ自動車株式会社
回避動作判別装置
2か月前
株式会社JVCケンウッド
情報処理装置
3か月前
個人
現示内容に関する情報放送機能付き信号機
2か月前
日本信号株式会社
交通信号制御システム
2か月前
能美防災株式会社
火災感知器
27日前
続きを見る
他の特許を見る