TOP
|
特許
|
意匠
|
商標
特許ウォッチ
Twitter
他の特許を見る
公開番号
2025141461
公報種別
公開特許公報(A)
公開日
2025-09-29
出願番号
2024041404
出願日
2024-03-15
発明の名称
通信装置、画像形成装置、保護方法およびプログラム
出願人
株式会社リコー
代理人
個人
,
個人
主分類
H04N
1/32 20060101AFI20250919BHJP(電気通信技術)
要約
【課題】雷サージ等による過電流保護機能の誤動作で通信を中断することを回避できる通信装置の提供を目的とする。
【解決手段】本発明の一態様に係る通信装置は、回線を捕捉したときに過電流を検知し、前記過電流から自装置に含まれる回路を保護する過電流保護機能を含む通信装置であって、前記回線の電流値を測定する測定部と、前記過電流保護機能の動作を確認した後、測定した前記回線の電流値が閾値未満であった場合、前記過電流保護機能の動作を一旦停止させた後、再度前記過電流保護機能を動作させ、測定した前記回線の電流値が前記閾値以上であった場合、前記回線を開放するとともに前記過電流保護機能の動作を停止させる制御部と、を備える。
【選択図】図1
特許請求の範囲
【請求項1】
回線を捕捉したときに過電流を検知し、前記過電流から自装置に含まれる回路を保護する過電流保護機能を含む通信装置であって、
前記回線の電流値を測定する測定部と、
前記過電流保護機能の動作を確認した後、測定した前記回線の電流値が閾値未満であった場合、前記過電流保護機能の動作を一旦停止させた後、再度前記過電流保護機能を動作させ、測定した前記回線の電流値が前記閾値以上であった場合、前記回線を開放するとともに前記過電流保護機能の動作を停止させる制御部と、
を備える通信装置。
続きを表示(約 1,100 文字)
【請求項2】
前記制御部は、前記回線を捕捉すると前記過電流保護機能を動作させるとともに、
前記測定部は、前記回線の電流値の測定を開始する、
請求項1に記載の通信装置。
【請求項3】
前記通信装置に含まれるSiDAA(LSD)は、前記過電流を検知すると自動でインピーダンスを高くする、
請求項1に記載の通信装置。
【請求項4】
前記測定部は、さらに前記回線の電圧値を測定するとともに、
前記過電流保護機能が動作しており、測定した前記回線の電圧値が閾値以上であったときは、さらに所定時間間隔で、所定回数、前記回線の電圧値を測定し、
前記制御部は、
前記所定回数連続で前記回線の電圧値が前記閾値以上であった場合、前記回線を開放するとともに前記過電流保護機能の動作を停止させ、
前記回線の電圧値が前記閾値以上となった状態が、前記所定回数連続でなかった場合、前記過電流保護機能の動作を一旦停止させた後、再度前記過電流保護機能を動作させる、
請求項1に記載の通信装置。
【請求項5】
前記測定部が前記回線の電圧値を測定する前記所定時間間隔および前記所定回数は、任意に設定可能である、
請求項4に記載の通信装置。
【請求項6】
請求項1から5のいずれか一項に記載の通信装置を備える画像形成装置。
【請求項7】
回線を捕捉したときに過電流を検知し、前記過電流から自装置に含まれる回路を保護する過電流保護機能を含む通信装置が行う保護方法であって、
前記回線の電流値を測定するステップと、
前記過電流保護機能の動作を確認した後、測定した前記回線の電流値が閾値未満であった場合、前記過電流保護機能の動作を一旦停止させた後、再度前記過電流保護機能を動作させ、測定した前記回線の電流値が前記閾値以上であった場合、前記回線を開放するとともに前記過電流保護機能の動作を停止させるステップと、
を含む保護方法。
【請求項8】
回線を捕捉したときに過電流を検知し、前記過電流から自装置に含まれる回路を保護する過電流保護機能を含む通信装置を機能させるプログラムであって、
前記回線の電流値を測定する処理と、
前記過電流保護機能の動作を確認した後、測定した前記回線の電流値が閾値未満であった場合、前記過電流保護機能の動作を一旦停止させた後、再度前記過電流保護機能を動作させ、測定した前記回線の電流値が前記閾値以上であった場合、前記回線を開放するとともに前記過電流保護機能の動作を停止させる処理と、
を実行させるためのプログラム。
発明の詳細な説明
【技術分野】
【0001】
本発明は、通信装置、画像形成装置、保護方法およびプログラムに関する。
続きを表示(約 1,500 文字)
【背景技術】
【0002】
回線から印可される電流が所定値以上であれば、SiDAA(Silicone Data Access Arrangement)などの、自装置に含まれる回路に流れる電流を減少させるように制御する過電流保護機能を有する装置が知られている。特許文献1には、呼出信号を検知すると、過電流保護機能を働かないよう制御した後でオフフックを行い、呼出信号を検知していない状態では、過電流保護機能を働くよう制御する技術が開示されている。
【発明の概要】
【発明が解決しようとする課題】
【0003】
呼出信号を検知していない状態で過電流保護機能が働くよう制御すると、過電流保護機能が雷などのサージノイズでも動作してオンフック状態となり、通信が遮断する。このような動作を回避するために、通信の途中では過電流保護機能が働かないようにする。その結果、雷サージ等による過電流保護機能の誤動作で通信を中断することを回避している。
【0004】
本発明は、上記の課題を解決するため、雷サージ等による過電流保護機能の誤動作で通信を中断することを回避できる通信装置の提供を目的とする。
【課題を解決するための手段】
【0005】
本発明の一態様に係る通信装置は、回線を捕捉したときに過電流を検知し、前記過電流から自装置に含まれる回路を保護する過電流保護機能を含む通信装置であって、前記回線の電流値を測定する測定部と、前記過電流保護機能の動作を確認した後、測定した前記回線の電流値が閾値未満であった場合、前記過電流保護機能の動作を一旦停止させた後、再度前記過電流保護機能を動作させ、測定した前記回線の電流値が前記閾値以上であった場合、前記回線を開放するとともに前記過電流保護機能の動作を停止させる制御部と、を備える。
【発明の効果】
【0006】
本発明に係る通信装置によれば、雷サージ等による過電流保護機能の誤動作で通信を中断することを回避できる。
【図面の簡単な説明】
【0007】
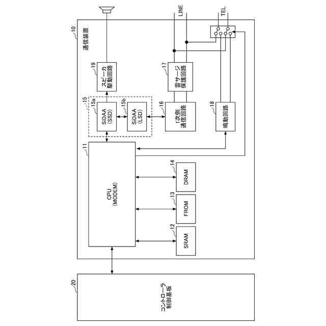
本発明の一実施形態に係る通信装置の構成を示すブロック図である。
本発明の一実施形態に係る通信装置のハードウェア構成図である。
本発明の一実施形態に係る通信装置が行う、過電流保護の処理の例を示すフロー図である。
本発明の一実施形態に係る通信装置が行う、過電流保護の処理の他の例を示すフロー図である。
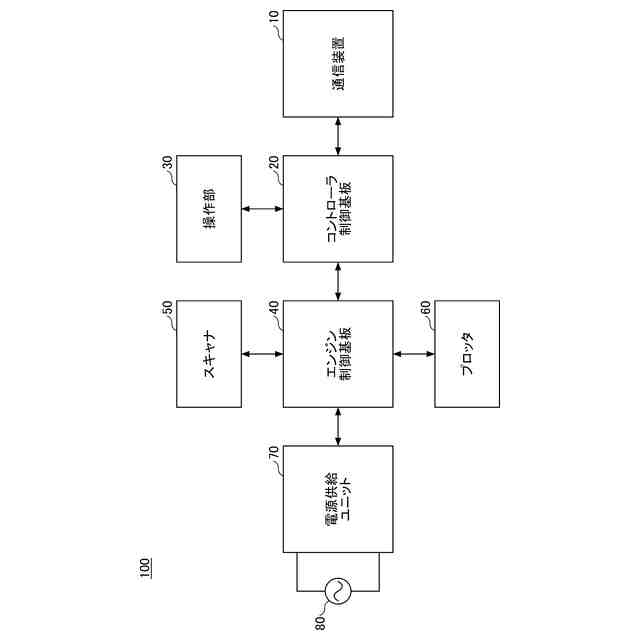
本発明の一実施形態に係る通信装置を備える画像形成装置の構成図である。
【発明を実施するための形態】
【0008】
以下、図面を参照して発明を実施するための形態について説明する。各図面において、同一構成部分には同一符号を付し、重複した説明を省略する場合がある。
【0009】
[実施形態]
<通信装置10の構成>
図1は、本発明の一実施形態に係る通信装置10の機能構成を示す図である。通信装置10は、過電流保護機能1、測定部2および制御部3を備える。過電流保護機能1は、回線を捕捉したときに過電流を検知し、過電流から自装置に含まれる回路を保護する。回線は、公衆回線など、様々な回線であってもよい。
【0010】
測定部2は、回線の電流値および電圧値を測定する。また、制御部3が、過電流保護機能1の動作を確認した後に測定した回線の電圧値が閾値以上であったときは、測定部2は、さらに所定時間間隔で、所定回数、回線の電圧値を測定する。測定部2が回線の電圧値を測定する所定時間間隔および所定回数は、任意に設定可能である。
(【0011】以降は省略されています)
この特許をJ-PlatPat(特許庁公式サイト)で参照する
関連特許
個人
店内配信予約システム
2か月前
WHISMR合同会社
収音装置
22日前
サクサ株式会社
中継装置
2か月前
キヤノン株式会社
撮像装置
1か月前
キヤノン株式会社
電子機器
2か月前
アイホン株式会社
電気機器
16日前
個人
ワイヤレスイヤホン対応耳掛け
14日前
日本精機株式会社
画像投映システム
2か月前
株式会社リコー
画像形成装置
1か月前
キヤノン電子株式会社
モバイル装置
2か月前
株式会社リコー
画像形成装置
1か月前
キヤノン電子株式会社
画像読取装置
23日前
株式会社リコー
画像形成装置
1か月前
株式会社ニコン
撮像装置
2か月前
ブラザー工業株式会社
読取装置
1か月前
キヤノン株式会社
撮像システム
16日前
DXO株式会社
情報処理システム
2か月前
株式会社小糸製作所
画像照射装置
1か月前
パテントフレア株式会社
水中電波通信法
2か月前
有限会社フィデリックス
マイクロフォン
今日
沖電気工業株式会社
画像形成装置
4日前
国立大学法人電気通信大学
小型光学装置
1か月前
株式会社松平商会
携帯機器カバー
25日前
大日本印刷株式会社
写真撮影装置
15日前
株式会社JVCケンウッド
通信システム
今日
キヤノン電子株式会社
シート材搬送装置
1か月前
パテントフレア株式会社
超高速電波通信
1か月前
テックス通信株式会社
電話システム
2か月前
株式会社大林組
監視システム
1か月前
日本無線株式会社
無線通信システム
1か月前
日本無線株式会社
無線通信システム
1か月前
株式会社JVCケンウッド
スピーカ
23日前
株式会社リコー
画像形成装置
1か月前
日本無線株式会社
無線通信システム
8日前
日本無線株式会社
無線通信システム
25日前
日本無線株式会社
無線通信システム
1か月前
続きを見る
他の特許を見る