TOP
|
特許
|
意匠
|
商標
特許ウォッチ
Twitter
他の特許を見る
10個以上の画像は省略されています。
公開番号
2025141022
公報種別
公開特許公報(A)
公開日
2025-09-29
出願番号
2024040735
出願日
2024-03-15
発明の名称
撮像制御プログラム、及び、印刷システム
出願人
セイコーエプソン株式会社
代理人
個人
主分類
H04N
23/60 20230101AFI20250919BHJP(電気通信技術)
要約
【課題】適切なテストパターンを撮像可能な構成を提供する。
【解決手段】撮像制御プログラムは、テストパターンを含む撮像対象領域の撮像を撮像部に実行させる撮像条件が満たされたか否かを判断する判断機能と、前記撮像条件が満たされたことをトリガーとして前記撮像対象領域の撮像を前記撮像部に実行させることにより撮像画像を取得する撮像制御機能と、をコンピューターに実現させる。前記判断機能は、前記撮像部と媒体との相対的な位置関係の変化量を繰り返し取得する。前記撮像条件は、前記撮像対象領域が前記撮像部の画角に含まれる第一条件、且つ、取得される前記変化量が基準変化量以下である第二条件が少なくとも満たされる条件である。前記判断機能は、前記撮像部から繰り返し取得されるフレームに基づいて前記第一条件が満たされるか否かを判断し、取得した前記変化量に基づいて前記第二条件が満たされるか否かを判断する。
【選択図】図5
特許請求の範囲
【請求項1】
記録ヘッドを備える印刷装置の印刷特性を調整するためのテストパターンを有する媒体を撮像するための撮像制御プログラムであって、
前記テストパターンを含む撮像対象領域の撮像を撮像部に実行させる撮像条件が満たされたか否かを判断する判断機能と、
前記撮像条件が満たされたことをトリガーとして前記撮像対象領域の撮像を前記撮像部に実行させることにより撮像画像を取得する撮像制御機能と、をコンピューターに実現させ、
前記判断機能は、前記撮像部と前記媒体との相対的な位置関係の変化量を繰り返し取得し、
前記撮像条件は、前記撮像対象領域が前記撮像部の画角に含まれる第一条件、且つ、取得される前記変化量が基準変化量以下である第二条件が少なくとも満たされる条件であり、
前記判断機能は、前記撮像部から繰り返し取得されるフレームに基づいて前記第一条件が満たされるか否かを判断し、取得した前記変化量に基づいて前記第二条件が満たされるか否かを判断する、撮像制御プログラム。
続きを表示(約 1,900 文字)
【請求項2】
前記撮像条件は、前記第一条件、前記第二条件、且つ、前記撮像部が前記撮像対象領域に対して所定の正対範囲内である第三条件が少なくとも満たされる条件であり、
前記判断機能は、前記フレームに含まれる前記撮像対象領域の形状に基づいて前記第三条件が満たされるか否かを判断する、請求項1に記載の撮像制御プログラム。
【請求項3】
前記撮像条件は、前記第一条件、前記第二条件、且つ、前記フレームに含まれる前記テストパターンの歪みを示す歪み量が基準歪み量以下である第四条件が少なくとも満たされる条件であり、
前記判断機能は、前記フレームに含まれる前記テストパターンの形状に基づいて前記第四条件が満たされるか否かを判断する、請求項1に記載の撮像制御プログラム。
【請求項4】
前記判断機能は、前記撮像部と前記媒体との間の間隔に対応する間隔量を繰り返し検出し、
前記撮像条件は、前記第一条件、前記第二条件、且つ、前記間隔量が基準間隔量以下である第五条件が少なくとも満たされる条件であり、
前記判断機能は、検出した前記間隔量に基づいて前記第五条件が満たされるか否かを判断する、請求項1に記載の撮像制御プログラム。
【請求項5】
前記判断機能は、前記フレームに基づいて前記媒体の地色の明るさを示す明るさ量を取得し、
前記撮像条件は、前記第一条件、前記第二条件、且つ、前記明るさ量が基準明るさ量以上である第六条件が少なくとも満たされる条件であり、
前記判断機能は、取得した前記明るさ量に基づいて前記第六条件が満たされるか否かを判断する、請求項1に記載の撮像制御プログラム。
【請求項6】
前記撮像条件は、
前記第一条件、
前記第二条件、
前記撮像部が前記撮像対象領域に対して所定の正対範囲内である第三条件、
前記フレームに含まれる前記テストパターンの歪みを示す歪み量が基準歪み量以下である第四条件、
前記間隔量が基準間隔量以下である第五条件、且つ、
前記明るさ量が基準明るさ量以上である第六条件が少なくとも満たされている条件であり、
前記判断機能は、
前記フレームに含まれる前記撮像対象領域の形状に基づいて前記第三条件が満たされるか否かを判断し、
前記フレームに含まれる前記テストパターンの形状に基づいて前記第四条件が満たされるか否かを判断し、
前記撮像部と前記媒体との間の間隔に対応する間隔量を繰り返し検出し、検出した前記間隔量に基づいて前記第五条件が満たされるか否かを判断し、
前記フレームに基づいて前記媒体の地色の明るさを示す明るさ量を取得し、取得した前記明るさ量に基づいて前記第六条件が満たされるか否かを判断する、請求項1に記載の撮像制御プログラム。
【請求項7】
前記撮像制御機能は、前記撮像対象領域の撮像を繰り返す回数の入力を受け付け、前記撮像条件が満たされている時に前記撮像対象領域の撮像を前記撮像部に繰り返し前記回数、実行させる、請求項1に記載の撮像制御プログラム。
【請求項8】
前記撮像条件に含まれる複数の条件のうち満たされていない条件がある場合に該条件を満たすためのガイダンスを出力するガイダンス機能をさらに前記コンピューターに実現させる、請求項1~請求項7のいずれか一項に記載の撮像制御プログラム。
【請求項9】
記録ヘッドを含む印刷装置と、該印刷装置の印刷特性を調整するためのテストパターンを有する媒体を撮像する情報端末と、を備える印刷システムであって、
前記情報端末は、
撮像部と、
前記撮像部から得られる撮像画像を格納するためのメモリーを含み、前記テストパターンを含む撮像対象領域の撮像を前記撮像部に実行させる制御部と、を備え、
前記制御部は、前記撮像部と前記媒体との相対的な位置関係の変化量を繰り返し取得し、前記撮像対象領域の撮像を前記撮像部に実行させる撮像条件が満たされたか否かを判断し、前記撮像条件が満たされたことをトリガーとして前記撮像対象領域の撮像を前記撮像部に実行させることにより前記撮像画像を取得し、
前記撮像条件は、前記撮像対象領域が前記撮像部の画角に含まれる第一条件、且つ、取得される前記変化量が基準変化量以下である第二条件が少なくとも満たされる条件であり、
前記制御部は、前記撮像部から繰り返し取得されるフレームに基づいて前記第一条件が満たされるか否かを判断し、取得した前記変化量に基づいて前記第二条件が満たされるか否かを判断する、印刷システム。
発明の詳細な説明
【技術分野】
【0001】
本発明は、印刷特性調整用のテストパターンを有する媒体を撮像するための撮像制御プログラム、及び、印刷システムに関する。
続きを表示(約 2,900 文字)
【背景技術】
【0002】
インクジェットプリンター等の印刷装置の印刷特性を調整するためのテストパターンをスキャナーに読み取らせることが行われている。
特許文献1には、プリンターが印刷した印刷補正テストパターンをデジタルカメラで撮影することにより印刷補正のデータを生成する印刷補正方法が開示されている。
【先行技術文献】
【特許文献】
【0003】
特開2006-121486号公報
【発明の概要】
【発明が解決しようとする課題】
【0004】
印刷装置にスキャナーが備わっていないことがあり、印刷装置にスキャナーがあっても印刷特性の調整方法が分からないユーザーもいる。しかし、ユーザーがカメラ付き携帯端末等を手で持ってテストパターンを撮像する場合、テストパターンが適切に撮像されないことが想定される。
【課題を解決するための手段】
【0005】
本発明の撮像制御プログラムは、記録ヘッドを備える印刷装置の印刷特性を調整するためのテストパターンを有する媒体を撮像するための撮像制御プログラムであって、
前記テストパターンを含む撮像対象領域の撮像を撮像部に実行させる撮像条件が満たされたか否かを判断する判断機能と、
前記撮像条件が満たされたことをトリガーとして前記撮像対象領域の撮像を前記撮像部に実行させることにより撮像画像を取得する撮像制御機能と、をコンピューターに実現させ、
前記判断機能は、前記撮像部と前記媒体との相対的な位置関係の変化量を繰り返し取得し、
前記撮像条件は、前記撮像対象領域が前記撮像部の画角に含まれる第一条件、且つ、取得される前記変化量が基準変化量以下である第二条件が少なくとも満たされる条件であり、
前記判断機能は、前記撮像部から繰り返し取得されるフレームに基づいて前記第一条件が満たされるか否かを判断し、取得した前記変化量に基づいて前記第二条件が満たされるか否かを判断する、態様を有する。
【0006】
また、本発明の印刷システムは、記録ヘッドを含む印刷装置と、該印刷装置の印刷特性を調整するためのテストパターンを有する媒体を撮像する情報端末と、を備える印刷システムであって、
前記情報端末は、
撮像部と、
前記撮像部から得られる撮像画像を格納するためのメモリーを含み、前記テストパターンを含む撮像対象領域の撮像を前記撮像部に実行させる制御部と、を備え、
前記制御部は、前記撮像部と前記媒体との相対的な位置関係の変化量を繰り返し取得し、前記撮像対象領域の撮像を前記撮像部に実行させる撮像条件が満たされたか否かを判断し、前記撮像条件が満たされたことをトリガーとして前記撮像対象領域の撮像を前記撮像部に実行させることにより前記撮像画像を取得し、
前記撮像条件は、前記撮像対象領域が前記撮像部の画角に含まれる第一条件、且つ、取得される前記変化量が基準変化量以下である第二条件が少なくとも満たされる条件であり、
前記制御部は、前記撮像部から繰り返し取得されるフレームに基づいて前記第一条件が満たされるか否かを判断し、取得した前記変化量に基づいて前記第二条件が満たされるか否かを判断する、態様を有する。
【図面の簡単な説明】
【0007】
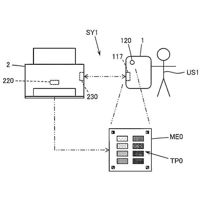
印刷システムの例を模式的に示す図。
印刷システムの構成例を模式的に示す図。
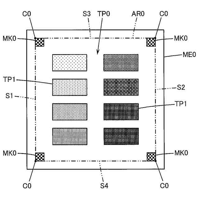
テストパターンを有する媒体の例を模式的に示す図。
撮像時の情報端末の動作例を模式的に示す図。
撮像制御処理の例を模式的に示すフローチャート。
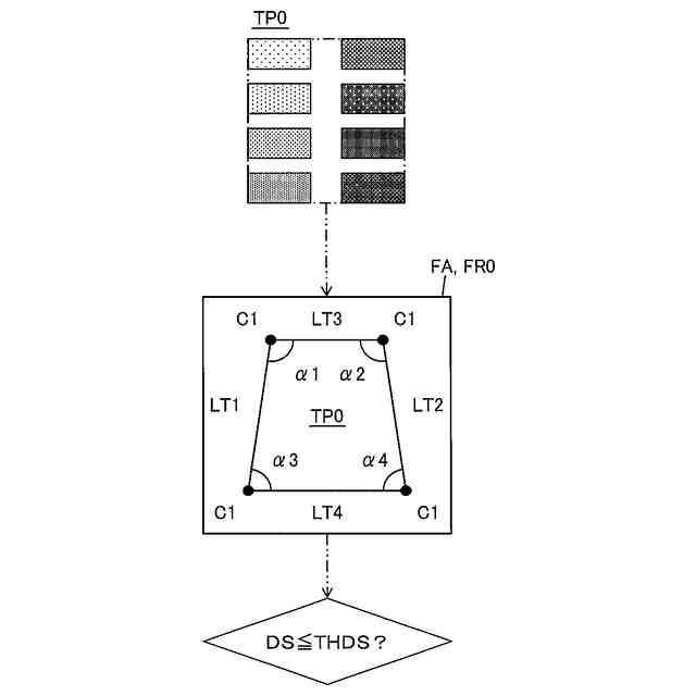
撮像対象領域が撮像部の画角に含まれる第一条件が満たされるか否かの例を模式的に示す図。
撮像部と媒体との相対的な位置関係の変化量が基準変化量以下である第二条件が満たされるか否かの例を模式的に示す図。
撮像部が撮像対象領域に対して所定の正対範囲内である第三条件が満たされるか否かの例を模式的に示す図。
フレームに含まれるテストパターンの歪み量が基準歪み量以下である第四条件が満たされるか否かの例を模式的に示す図。
撮像部と媒体との間の間隔量が基準間隔量以下である第五条件が満たされるか否かの例を模式的に示す図。
図11A,11Bは媒体の地色の明るさ量が基準明るさ量以上である第六条件が満たされるか否かの例を模式的に示す図。
撮像条件の判断基準の例を模式的に示す図。
印刷特性の調整の例を模式的に示す図。
連写制御処理の例を模式的に示すフローチャート。
【発明を実施するための形態】
【0008】
以下、本発明の実施形態を説明する。むろん、以下の実施形態は本発明を例示するものに過ぎず、実施形態に示す特徴の全てが発明の解決手段に必須になるとは限らない。
【0009】
(1)本発明に含まれる態様の概要:
まず、図1~14に示される例を参照して本発明に含まれる態様の概要を説明する。尚、本願の図は模式的に例を示す図であり、これらの図に示される各方向の拡大率は異なることがあり、各図は整合していないことがある。むろん、本態様の各要素は、符号で示される具体例に限定されない。「本発明に含まれる態様の概要」において、括弧内は直前の語の補足説明を意味する。
【0010】
[態様1]
一態様に係る撮像制御プログラムPR0は、図2,5等に例示するように、記録ヘッド220を備える印刷装置2の印刷特性を調整するためのテストパターンTP0を有する媒体ME0を撮像するための撮像制御プログラムPR0であって、判断機能FU1と撮像制御機能FU2とをコンピューター(例えば情報端末1)に実現させる。前記判断機能FU1は、前記テストパターンTP0を含む撮像対象領域AR0の撮像を撮像部120に実行させる撮像条件(例えば図12参照)が満たされたか否かを判断する。前記撮像制御機能FU2は、前記撮像条件が満たされたことをトリガーとして前記撮像対象領域AR0の撮像を前記撮像部120に実行させることにより撮像画像IM0を取得する。前記判断機能FU1は、前記撮像部120と前記媒体ME0との相対的な位置関係の変化量Vを繰り返し取得する。前記撮像条件は、前記撮像対象領域AR0が前記撮像部120の画角FAに含まれる第一条件(例えば図6参照)、且つ、取得される前記変化量Vが基準変化量(例えば閾値THV)以下である第二条件(例えば図7参照)が少なくとも満たされる条件である。前記判断機能FU1は、前記撮像部120から繰り返し取得されるフレームFR0に基づいて前記第一条件が満たされるか否かを判断し、取得した前記変化量Vに基づいて前記第二条件が満たされるか否かを判断する。
(【0011】以降は省略されています)
この特許をJ-PlatPat(特許庁公式サイト)で参照する
関連特許
個人
監視カメラシステム
6日前
キーコム株式会社
光伝送線路
7日前
サクサ株式会社
中継装置
12日前
個人
スキャン式車載用撮像装置
6日前
サクサ株式会社
中継装置
13日前
WHISMR合同会社
収音装置
1か月前
キヤノン株式会社
撮像装置
1か月前
アイホン株式会社
電気機器
1か月前
キヤノン電子株式会社
画像読取装置
1か月前
サクサ株式会社
無線通信装置
12日前
サクサ株式会社
無線通信装置
12日前
株式会社リコー
画像形成装置
1か月前
個人
ワイヤレスイヤホン対応耳掛け
1か月前
株式会社リコー
画像形成装置
2か月前
キヤノン電子株式会社
画像読取装置
5日前
株式会社リコー
画像形成装置
1か月前
サクサ株式会社
無線システム
11日前
個人
発信機及び発信方法
11日前
キヤノン株式会社
撮像システム
1か月前
株式会社ニコン
撮像装置
2か月前
日本電気株式会社
海底分岐装置
7日前
ブラザー工業株式会社
読取装置
2か月前
株式会社NTTドコモ
端末
7日前
沖電気工業株式会社
画像形成装置
22日前
キヤノン電子株式会社
画像処理システム
5日前
株式会社NTTドコモ
端末
6日前
株式会社小糸製作所
画像照射装置
1か月前
シャープ株式会社
端末装置
4日前
パテントフレア株式会社
水中電波通信法
2か月前
株式会社NTTドコモ
端末
6日前
国立大学法人電気通信大学
小型光学装置
1か月前
株式会社NTTドコモ
端末
6日前
DXO株式会社
情報処理システム
2か月前
株式会社松平商会
携帯機器カバー
1か月前
株式会社NTTドコモ
端末
7日前
大日本印刷株式会社
写真撮影装置
1か月前
続きを見る
他の特許を見る