TOP
|
特許
|
意匠
|
商標
特許ウォッチ
Twitter
他の特許を見る
公開番号
2025140862
公報種別
公開特許公報(A)
公開日
2025-09-29
出願番号
2024040477
出願日
2024-03-14
発明の名称
画像処理装置、撮像装置および画像撮像装置の制御方法
出願人
キヤノン株式会社
代理人
個人
,
個人
,
個人
,
個人
,
個人
主分類
H04N
23/63 20230101AFI20250919BHJP(電気通信技術)
要約
【課題】 長秒露光に相当する画像の合成を行う際に合成画像を経時的な変化を確認しながら、領域ごとに合成停止の指示を行うことが可能な撮像装置を提供する。
【解決手段】 複数フレームの画像データを取得する取得手段と、前記複数フレームの画像データを合成する合成手段と、前記合成手段によって得られた合成画像を逐次表示する合成画像表示手段と、画像データを領域分割する領域分割手段と、前記領域分割手段によって分割された分割領域ごとに合成処理を中断する合成処理中断手段を有し、合成処理中断手段に応じて合成処理を停止する。
【選択図】 図2
特許請求の範囲
【請求項1】
経時的に撮影された複数の画像のそれぞれに対して同じ領域分割を行う分割手段と、
前記複数の画像から合成画像を作成する合成手段と、
前記合成手段による合成の終了を指示する指示手段と、
前記合成画像を表示する表示部と、を有し、
前記合成手段は、前記指示手段による指示に基づいて、前記分割手段によって分割された領域ごとに合成処理を終了することを特徴とする画像処理装置。
続きを表示(約 810 文字)
【請求項2】
前記分割手段は前記複数の画像のそれぞれに対して2つ以上の領域に分割を行うことを特徴とする請求項1に記載の画像処理装置。
【請求項3】
前記指示手段は、前記分割領域の少なくとも一つを選択可能であることを特徴とする請求項1に記載の画像処理装置。
【請求項4】
前記合成画像は、第1の時点までに撮影された複数の画像から作成された第1の合成画像と、第1の時点より後に撮影された画像を用いて第2の合成画像を新たに作成することを特徴とする請求項1に記載の画像処理装置。
【請求項5】
前記表示部の表示を制御する制御手段と、をさらに有し、
前記制御手段は前記合成手段が作成した合成画像を前記表示部に表示することを特徴とする請求項4に記載の画像処理装置。
【請求項6】
前記制御手段は、前記表示部における表示を前記合成手段が合成画像を新たに作成するたびに変更するように制御することを特徴とする請求項5に記載の画像処理装置。
【請求項7】
前記制御手段は、前記表示部における前記合成手段が合成を終了した合成画像の領域の表示の形態を変更することを特徴とする請求項1に記載の画像処理装置。
【請求項8】
前記制御手段は、前記合成手段が合成を終了した合成画像の領域を強調表示することを特徴とする請求項7に記載の画像処理装置。
【請求項9】
前記合成画像は、前記合成画像の作成に用いられた前記経時的に撮影された複数の画像よりも長秒の撮影の効果が付与されたものであることを特徴とする請求項1に記載の画像処理装置。
【請求項10】
前記合成手段は加算合成、加算平均、比較明のいずれかで前記合成画像の作成を行うことを特徴とする請求項1に記載の画像処理装置。
(【請求項11】以降は省略されています)
発明の詳細な説明
【技術分野】
【0001】
本発明は、画像処置装置、撮像装置および画像処理装置の制御方法、に関し、特には画像合成技術に関する。
続きを表示(約 1,300 文字)
【背景技術】
【0002】
長秒の露光を行う撮影としてバルブ撮影という方法が知られている。バルブ撮影では露光開始から露光終了までを撮影者が指示して撮影を行うものが知られている。露光中はセンサーからの画像信号の読み出しが行われないため、撮影されている画像の明るさを確認できない。すなわち、撮影者が、所望する明るさで撮影ができているのかを途中で確認することが難しい。
【0003】
これに対し、特許文献1のように露光中に定期的に画像信号の読み出しを行い、逐次加算合成を行い、画像の合成結果を表示デバイスに表示する技術がある。この技術を活用し、撮影開始後に明るさの変化を確認しながら、露光終了、すなわち合成の終了を指示することが可能となる。
【先行技術文献】
【特許文献】
【0004】
特開2005-117395号公報
【発明の概要】
【発明が解決しようとする課題】
【0005】
しかしながら、特許文献1に記載の技術では読み出した画像データで画像の全域を加算合成していくので、合成画像の全体の明るさが一律で変化していく。そのため、画像内に輝度差がある被写体が存在する場合に合成画像全体で適切な明るさの画像を得ることが難しい。
【0006】
本発明はこのような従来技術の課題に鑑みてなされたものであり、その一態様において、画像の合成を行う際に合成画像の明るさの経時的な変化を確認しながら、領域ごとに合成停止の指示を行うことが可能な撮像装置を提供する。
【課題を解決するための手段】
【0007】
本発明に係る撮像装置は、複数フレームの画像データを取得する取得手段と、前記複数フレームの画像データを合成する合成手段と、前記合成手段によって得られた合成画像を逐次表示する合成画像表示手段と、画像データを領域分割する領域分割手段と、前記領域分割手段によって分割された分割領域ごとに合成処理を中断する合成処理中断手段を有し、合成処理中断手段に応じて合成処理を停止する。
【発明の効果】
【0008】
本発明によれば画像の合成を行う際に合成画像の明るさの経時的な変化を確認しながら、領域ごとに合成停止の指示を行うことが可能な画像処理装置を提供することができる
【図面の簡単な説明】
【0009】
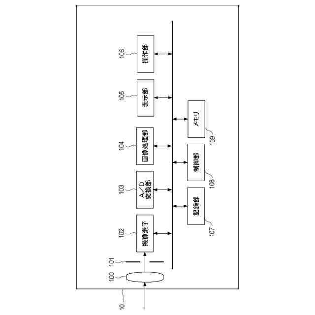
実施形態に係る撮像装置の機能構成例を示すブロック図
実施形態における合成撮影モードの動作に関するフローチャート
実施形態における分割領域設定方法の説明図
実施形態における合成画像および撮影中表示の説明図
【発明を実施するための形態】
【0010】
以下、添付図面を参照して本発明をその例示的な実施形態に基づいて詳細に説明する。なお、以下の実施形態は特許請求の範囲に係る発明を限定しない。また、実施形態には複数の特徴が記載されているが、その全てが発明に必須のものとは限らず、また、複数の特徴は任意に組み合わせられてもよい。さらに、添付図面においては、同一若しくは同様の構成に同一の参照番号を付し、重複した説明は省略する。
(【0011】以降は省略されています)
この特許をJ-PlatPat(特許庁公式サイト)で参照する
関連特許
キヤノン株式会社
トナー
2日前
キヤノン株式会社
トナー
1か月前
キヤノン株式会社
定着装置
10日前
キヤノン株式会社
電子機器
4日前
キヤノン株式会社
撮像装置
18日前
キヤノン株式会社
電子機器
1か月前
キヤノン株式会社
現像装置
1か月前
キヤノン株式会社
発光装置
1か月前
キヤノン株式会社
発光装置
9日前
キヤノン株式会社
光学装置
1か月前
キヤノン株式会社
光学機器
1か月前
キヤノン株式会社
電子機器
1か月前
キヤノン株式会社
撮像装置
1か月前
キヤノン株式会社
定着装置
25日前
キヤノン株式会社
定着装置
25日前
キヤノン株式会社
定着装置
25日前
キヤノン株式会社
記録装置
18日前
キヤノン株式会社
電子機器
1か月前
キヤノン株式会社
電子機器
27日前
キヤノン株式会社
撮像装置
1か月前
キヤノン株式会社
撮像装置
17日前
キヤノン株式会社
記録装置
17日前
キヤノン株式会社
撮像装置
16日前
キヤノン株式会社
撮像装置
1か月前
キヤノン株式会社
定着装置
16日前
キヤノン株式会社
電子機器
6日前
キヤノン株式会社
撮像装置
1か月前
キヤノン株式会社
撮像装置
10日前
キヤノン株式会社
電子機器
10日前
キヤノン株式会社
表示装置
9日前
キヤノン株式会社
電子機器
10日前
キヤノン株式会社
収容装置
10日前
キヤノン株式会社
記録装置
2日前
キヤノン株式会社
電子機器
18日前
キヤノン株式会社
発光装置
1か月前
キヤノン株式会社
電子機器
25日前
続きを見る
他の特許を見る