TOP
|
特許
|
意匠
|
商標
特許ウォッチ
Twitter
他の特許を見る
公開番号
2025140743
公報種別
公開特許公報(A)
公開日
2025-09-29
出願番号
2024040306
出願日
2024-03-14
発明の名称
車両の情報表示装置
出願人
トヨタ自動車株式会社
代理人
個人
,
個人
,
個人
,
個人
主分類
B60K
35/22 20240101AFI20250919BHJP(車両一般)
要約
【課題】提供情報に係る自車両の車載部品をユーザーに直感的に認識させることができる車両の情報表示装置を提供する。
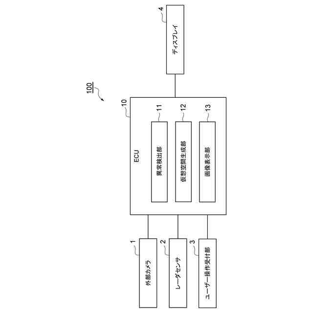
【解決手段】車両の情報表示装置100は、自車両の外部カメラ1の検出情報に基づいて自車両の周辺環境を表す画像をディスプレイ4に表示する。車両の情報表示装置100は、自車両の車載部品への異常の発生を検出する異常検出部11と、自車両に対応する自車両アイコンをディスプレイ4に表示する画像表示部13と、を備える。画像表示部13は、異常の発生が検出された場合、異常が発生した車載部品の自車両における位置に対応するように、異常の発生を示す異常表示を自車両アイコンに重畳させて表示する。
【選択図】図1
特許請求の範囲
【請求項1】
自車両の外部センサの検出情報に基づいて前記自車両の周辺環境を表す画像をディスプレイに表示する車両の情報表示装置であって、
前記自車両の車載部品について前記自車両のユーザーへ提供される情報である提供情報を取得する提供情報取得部と、
前記自車両に対応する自車両アイコンを前記ディスプレイに表示する画像表示部と、を備え、
前記画像表示部は、前記提供情報が取得された場合、前記提供情報に係る前記車載部品の前記自車両における位置に対応するように、前記提供情報を表す情報提供表示を前記自車両アイコンに重畳させて表示する、車両の情報表示装置。
続きを表示(約 360 文字)
【請求項2】
前記外部センサの検出情報に基づいて前記自車両の周辺環境に対応する仮想空間を生成する仮想空間生成部を備え、
前記画像表示部は、前記自車両のユーザーの操作する仮想視点から見た前記仮想空間内の画像を前記ディスプレイに表示し、
前記自車両アイコンは、前記仮想空間に配置された前記自車両に対応する立体のアイコンである、請求項1に記載の車両の情報表示装置。
【請求項3】
前記画像表示部は、前記自車両の外装以外の前記車載部品についての前記提供情報が取得された場合、前記自車両アイコンの外装画像を消去して前記自車両の内部構造に対応する内部構造画像を前記ディスプレイに表示し、前記情報提供表示を前記内部構造画像に重畳させて表示する、請求項1又は2に記載の車両の情報表示装置。
発明の詳細な説明
【技術分野】
【0001】
本発明は、車両の情報表示装置に関する。
続きを表示(約 1,800 文字)
【背景技術】
【0002】
従来、警告灯に関する情報として、警告灯の点灯又は点滅時の対処方法及び警告灯の意味等がメータディスプレイに教示される情報提供装置が知られている。
【先行技術文献】
【特許文献】
【0003】
特開2020―088697号公報
【発明の概要】
【発明が解決しようとする課題】
【0004】
上述した従来の装置では、対処方法及び警告灯の意味等が具体的な文章等でメータディスプレイに表示される。車両の情報表示装置においては、例えば異常の発生等、ユーザーへ提供される情報である提供情報に係る自車両の車載部品をユーザーに直感的に認識させるには改善の余地がある。
【課題を解決するための手段】
【0005】
本発明の一態様は、自車両の外部センサの検出情報に基づいて自車両の周辺環境を表す画像をディスプレイに表示する車両の情報表示装置であって、自車両の車載部品について自車両のユーザーへ提供される情報である提供情報を取得する提供情報取得部と、自車両に対応する自車両アイコンをディスプレイに表示する画像表示部と、を備え、画像表示部は、提供情報が取得された場合、提供情報に係る車載部品の自車両における位置に対応するように、提供情報を表す情報提供表示を自車両アイコンに重畳させて表示する。
【0006】
本発明の一態様に係る車両の情報表示装置では、自車両の外部センサの検出情報に基づいて、自車両の周辺環境を表す画像が自車両に対応する自車両アイコンと共にディスプレイに表示される。提供情報が取得された場合、提供情報に係る車載部品の自車両における位置に対応するように、提供情報を表す情報提供表示が自車両アイコンに重畳させて表示される。これにより、例えば提供情報として車載部品の異常の発生が検出された場合に、法規で定められたテルテールの警告灯のみの点灯、又は、テルテールの警告灯の意味等を具体的に文章で表示する場合と比べて、提供情報に係る自車両の車載部品をユーザーに直感的に認識させることができる。
【0007】
一実施形態において、車両の情報表示装置は、外部センサの検出情報に基づいて自車両の周辺環境に対応する仮想空間を生成する仮想空間生成部を備える。画像表示部は、自車両のユーザーの操作する仮想視点から見た仮想空間内の画像をディスプレイに表示し、自車両アイコンは、仮想空間に配置された自車両に対応する立体のアイコンであってもよい。この場合、立体的な自車両アイコンに重畳させて情報提供表示が表示されるため、提供情報に係る自車両の車載部品をより直感的にユーザーに認識させることができる。
【0008】
一実施形態において、画像表示部は、自車両の外装以外の車載部品についての提供情報が取得された場合、自車両アイコンの外装画像を消去して自車両の内部構造に対応する内部構造画像をディスプレイに表示し、情報提供表示を内部構造画像に重畳させて表示してもよい。この場合、自車両の内部構造においてどの車載部品に提供情報が発生したのかをユーザーに容易に認識させることができる。
【発明の効果】
【0009】
本発明の種々の態様によれば、提供情報に係る自車両の車載部品をユーザーに直感的に認識させることができる。
【図面の簡単な説明】
【0010】
一実施形態に係る車両の情報表示装置を示すブロック図である。
自車両アイコン及び仮想視点を説明するための図である。
周辺環境に対応する画像及び自車両アイコンの表示例を示す図である。
(a)は、自車両アイコンに異常表示を重畳させて表示する表示例を示す図である。(b)は、自車両アイコンに異常表示を重畳させて表示する他の表示例を示す図である。
(a)異常が発生した車載部品の仮想部品位置がディスプレイに表示されている範囲に含まれていない状況の一例を説明するための図である。(b)異常が発生した車載部品の仮想部品位置がディスプレイに表示されている範囲に含まれている状況の一例を説明するための図である。
図1のECUの処理の一例を示すフローチャートである。
【発明を実施するための形態】
(【0011】以降は省略されています)
この特許をJ-PlatPat(特許庁公式サイト)で参照する
関連特許
トヨタ自動車株式会社
車両
10日前
トヨタ自動車株式会社
車両
3日前
トヨタ自動車株式会社
車両
4日前
トヨタ自動車株式会社
電池
5日前
トヨタ自動車株式会社
車両
14日前
トヨタ自動車株式会社
電池
6日前
トヨタ自動車株式会社
車両
10日前
トヨタ自動車株式会社
ケース
5日前
トヨタ自動車株式会社
加熱器
3日前
トヨタ自動車株式会社
電動車
6日前
トヨタ自動車株式会社
電動車
10日前
トヨタ自動車株式会社
電動車
10日前
トヨタ自動車株式会社
電動車
10日前
トヨタ自動車株式会社
固定子
4日前
トヨタ自動車株式会社
電解液
10日前
トヨタ自動車株式会社
電動車
12日前
トヨタ自動車株式会社
回転子
10日前
トヨタ自動車株式会社
ロータ
12日前
トヨタ自動車株式会社
蓄電セル
12日前
トヨタ自動車株式会社
製造装置
4日前
トヨタ自動車株式会社
二次電池
4日前
トヨタ自動車株式会社
蓄電装置
14日前
トヨタ自動車株式会社
塗工装置
4日前
トヨタ自動車株式会社
バッテリ
4日前
トヨタ自動車株式会社
バッテリ
4日前
トヨタ自動車株式会社
制御装置
14日前
トヨタ自動車株式会社
路側装置
5日前
トヨタ自動車株式会社
制御装置
5日前
トヨタ自動車株式会社
蓄電装置
5日前
トヨタ自動車株式会社
ロボット
6日前
トヨタ自動車株式会社
電動車両
10日前
トヨタ自動車株式会社
蓄電セル
12日前
トヨタ自動車株式会社
蓄電装置
12日前
トヨタ自動車株式会社
塗布装置
12日前
トヨタ自動車株式会社
育苗装置
11日前
トヨタ自動車株式会社
蓄電セル
10日前
続きを見る
他の特許を見る