TOP
|
特許
|
意匠
|
商標
特許ウォッチ
Twitter
他の特許を見る
10個以上の画像は省略されています。
公開番号
2025140701
公報種別
公開特許公報(A)
公開日
2025-09-29
出願番号
2024040248
出願日
2024-03-14
発明の名称
磁気ヘッド及び磁気記録装置
出願人
株式会社東芝
,
東芝デバイス&ストレージ株式会社
代理人
弁理士法人iX
主分類
G11B
5/31 20060101AFI20250919BHJP(情報記憶)
要約
【課題】特性の向上が可能な磁気ヘッド及び磁気記録装置を提供する。
【解決手段】実施形態によれば、磁気ヘッドは、第1、第2磁極及び磁気素子を含む。第1磁極は、媒体対向面と、第1面と、を含む。第2磁極は、第2面を含む。磁気素子は、第1磁性層と第2磁性層とを含む。第1面は、第1部分及び第2部分を含む。第2方向は、媒体対向面と交差し、第1方向と交差する。第1部分及び第2部分は、第1条件及び第2条件の一方を満たす。第1条件において、第2方向における第1部分の位置は、第2方向における媒体対向面の媒体対向面位置と、第2方向における第2部分の第2部分位置と、の間にある。第2条件において、第2部分位置は、媒体対向面位置と、第1部分位置と、の間にある。第1部分と第2面との間の第1方向に沿う距離は、第2部分と第2面との間の第1方向に沿う距離よりも短い。
【選択図】図1
特許請求の範囲
【請求項1】
媒体対向面と、前記媒体対向面と交差する第1面と、を含む第1磁極と、
第2面を含む第2磁極であって、前記第1面は第1方向において前記第2面と対向する、前記第2磁極と、
前記第1面と前記第2面との間に設けられた磁気素子であって、前記磁気素子は、第1磁性層と、前記第1磁性層と前記第2磁極との間に設けられた第2磁性層と、を含む、前記磁気素子と、
を備え、
前記第1面は、第1部分及び第2部分を含み、
第2方向は、前記媒体対向面と交差し、前記第1方向と交差し、
前記第1部分及び前記第2部分は、第1条件及び第2条件の一方を満たし、
前記第1条件において、前記第2方向における前記第1部分の第1部分位置は、前記第2方向における前記媒体対向面の媒体対向面位置と、前記第2方向における前記第2部分の第2部分位置と、の間にあり、
前記第2条件において、前記第2部分位置は、前記媒体対向面位置と、前記第1部分位置と、の間にあり、
前記第1部分と前記第2面との間の前記第1方向に沿う第1距離は、前記第2部分と前記第2面との間の前記第1方向に沿う第2距離よりも短い、磁気ヘッド。
続きを表示(約 1,700 文字)
【請求項2】
前記第1部分は、前記第2部分を基準にして、前記第2面に向かって突出する、請求項1に記載の磁気ヘッド。
【請求項3】
前記第2面は、第1対向部分と第2対向部分とを含み、
前記第1部分から前記第1対向部分への方向は、前記第1方向に沿い、
前記第2部分から前記第2対向部分への方向は、前記第1方向に沿い、
前記第1対向部分は、前記第2対向部分を基準にして、前記第1面に向かって突出する、請求項1に記載の磁気ヘッド。
【請求項4】
前記第1面は、第3部分をさらに含み、
前記第2部分位置は、前記第1部分位置と、前記第2方向における前記第3部分の第3部分位置と、の間にあり、
前記第3部分と前記第2面との間の前記第1方向に沿う第3距離は、前記第2距離よりも短い、請求項1に記載の磁気ヘッド。
【請求項5】
前記第3部分は、前記第2部分を基準にして、前記第2面に向かって突出する、請求項4に記載の磁気ヘッド。
【請求項6】
前記第2面は、第1対向部分、第2対向部分及び第3対向部分を含み、
前記第1部分から前記第1対向部分への方向は、前記第1方向に沿い、
前記第2部分から前記第2対向部分への方向は、前記第1方向に沿い、
前記第3部分から前記第3対向部分への方向は、前記第1方向に沿い、
前記第1対向部分は、前記第2対向部分を基準にして、前記第1面に向かって突出し、
前記第3対向部分は、前記第2対向部分を基準にして、前記第1面に向かって突出する、請求項4に記載の磁気ヘッド。
【請求項7】
前記第1面は、第4部分、第5部分及び第6部分を含み、
第3方向は、前記媒体対向面に沿い、前記第1方向と交差し、
前記第3方向における前記第5部分の第5部分位置は、前記第3方向における前記第4部分の第4部分位置と、前記第3方向における前記第6部分の第6部分位置と、の間にあり、
前記第4部分と前記第2面との間の前記第1方向に沿う第4距離は、前記第5部分と前記第2面との間の前記第1方向に沿う第5距離よりも短く、
前記第6部分と前記第2面との間の前記第1方向に沿う第6距離は、前記第5距離よりも短い、請求項1~6のいずれか1つに記載の磁気ヘッド。
【請求項8】
媒体対向面と、前記媒体対向面と交差する第1面と、を含む第1磁極と、
第2面を含む第2磁極であって、前記第1面は第1方向において前記第2面と対向する、前記第2磁極と、
前記第1面と前記第2面との間に設けられた磁気素子であって、前記磁気素子は、第1磁性層と、前記第1磁性層と前記第2磁極との間に設けられた第2磁性層と、を含む、前記磁気素子と、
を備え、
前記第1面は、第1部分、第2部分及び第3部分を含み、
第2方向は、前記媒体対向面に沿い、前記第1方向と交差し、
前記第2方向における前記第2部分の第2部分位置は、前記第2方向における前記第1部分の第1部分位置と、前記第2方向における前記第3部分の第3部分位置と、の間にあり、
前記第1部分と前記第2面との間の前記第1方向に沿う第1距離は、前記第2部分と前記第2面との間の前記第1方向に沿う第2距離よりも短く、
前記第3部分と前記第2面との間の前記第1方向に沿う第3距離は、前記第2距離よりも短く、
前記磁気素子の少なくとも一部は、前記第2部分と前記第2面との間にある、磁気ヘッド。
【請求項9】
前記磁気素子は、前記第1方向において前記第1部分と重ならず、前記第1方向において前記第3部分と重ならない、請求項8に記載の磁気ヘッド。
【請求項10】
請求項1または8に記載の磁気ヘッドと、
磁気記録媒体と、
を備え、
前記媒体対向面は前記磁気記録媒体と対向し、
前記磁気ヘッドは前記磁気記録媒体に情報を記録するように構成された、磁気記録装置。
発明の詳細な説明
【技術分野】
【0001】
本発明の実施形態は、磁気ヘッド及び磁気記録装置に関する。
続きを表示(約 2,400 文字)
【背景技術】
【0002】
磁気ヘッドを用いて、HDD(Hard Disk Drive)などの磁気記録媒体に情報が記録される。磁気ヘッドにおいて、特性向上が望まれる。
【先行技術文献】
【特許文献】
【0003】
特開2020-4468号公報
【発明の概要】
【発明が解決しようとする課題】
【0004】
本発明の実施形態は、特性の向上が可能な磁気ヘッド及び磁気記録装置を提供する。
【課題を解決するための手段】
【0005】
実施形態によれば、磁気ヘッドは、第1磁極、第2磁極及び磁気素子を含む。前記第1磁極は、媒体対向面と、前記媒体対向面と交差する第1面と、を含む。前記第2磁極は、第2面を含む。前記第1面は第1方向において前記第2面と対向する。前記磁気素子は、前記第1面と前記第2面との間に設けられる。前記磁気素子は、第1磁性層と、前記第1磁性層と前記第2磁極との間に設けられた第2磁性層と、を含む。前記第1面は、第1部分及び第2部分を含む。第2方向は、前記媒体対向面と交差し、前記第1方向と交差する。前記第1部分及び前記第2部分は、第1条件及び第2条件の一方を満たす。前記第1条件において、前記第2方向における前記第1部分の第1部分位置は、前記第2方向における前記媒体対向面の媒体対向面位置と、前記第2方向における前記第2部分の第2部分位置と、の間にある。前記第2条件において、前記第2部分位置は、前記媒体対向面位置と、前記第1部分位置と、の間にある。前記第1部分と前記第2面との間の前記第1方向に沿う第1距離は、前記第2部分と前記第2面との間の前記第1方向に沿う第2距離よりも短い。
【図面の簡単な説明】
【0006】
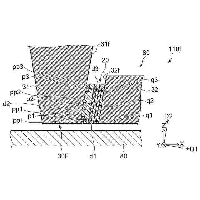
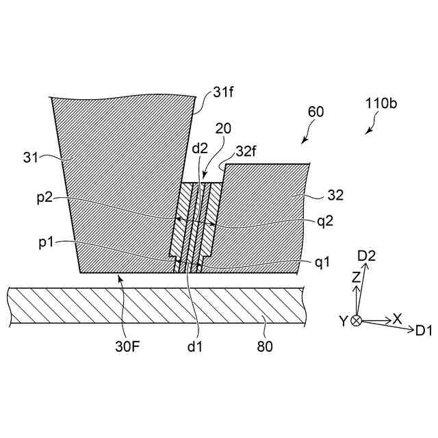
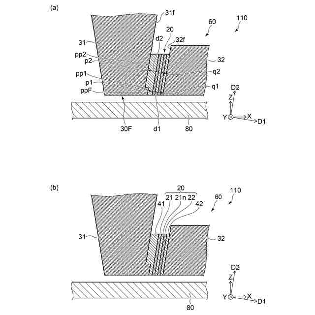
図1(a)及び図1(b)は、第1実施形態に係る磁気ヘッドを例示する模式的断面図である。
図2は、第1実施形態に係る磁気ヘッドを例示する模式的平面図である。
図3は、第1実施形態に係る磁気ヘッドを例示する模式的断面図である。
図4は、第1実施形態に係る磁気ヘッドを例示する模式的断面図である。
図5は、第1実施形態に係る磁気ヘッドを例示する模式的断面図である。
図6は、第1実施形態に係る磁気ヘッドを例示する模式的断面図である。
図7は、第1実施形態に係る磁気ヘッドを例示する模式的断面図である。
図8は、第1実施形態に係る磁気ヘッドを例示する模式的断面図である。
図9は、第1実施形態に係る磁気ヘッドを例示する模式的断面図である。
図10は、第1実施形態に係る磁気ヘッドを例示する模式的断面図である。
図11は、第1実施形態に係る磁気ヘッドを例示する模式的断面図である。
図12は、第1実施形態に係る磁気ヘッドを例示する模式的断面図である。
図13は、第1実施形態に係る磁気ヘッドを例示する模式的断面図である。
図14は、第1実施形態に係る磁気ヘッドを例示する模式的断面図である。
図15は、第1実施形態に係る磁気ヘッドを例示する模式的断面図である。
図16(a)及び図16(b)は、第1実施形態に係る磁気ヘッドを例示する模式図である。
図17(a)及び図17(b)は、第1実施形態に係る磁気ヘッドを例示する模式図である。
図18(a)及び図18(b)は、第2実施形態に係る磁気ヘッドを例示する模式図である。
図19は、第2実施形態に係る磁気ヘッドを例示する模式的平面図である。
図20は、第2実施形態に係る磁気ヘッドを例示する模式的平面図である。
図21は、第2実施形態に係る磁気ヘッドを例示する模式的平面図である。
図22は、第2実施形態に係る磁気ヘッドを例示する模式的平面図である。
図23は、第2実施形態に係る磁気ヘッドを例示する模式的平面図である。
図24は、実施形態に係る磁気記録装置を例示する模式的斜視図である。
図25は、実施形態に係る磁気記録装置の一部を例示する模式的斜視図である。
図26は、実施形態に係る磁気記録装置を例示する模式的斜視図である。
図27(a)及び図27(b)は、実施形態に係る磁気記録装置の一部を例示する模式的斜視図である。
【発明を実施するための形態】
【0007】
(第1実施形態)
図1(a)及び図1(b)は、第1実施形態に係る磁気ヘッドを例示する模式的断面図である。
図2は、第1実施形態に係る磁気ヘッドを例示する模式的平面図である。
図3は、第1実施形態に係る磁気ヘッドを例示する模式的断面図である。
図1(a)、図1(b)及び図3は、図2のA1-A2線断面図である。
【0008】
図1(a)及び図1(b)に示すように、実施形態に係る磁気ヘッド110は、第1磁極31、第2磁極32、及び、磁気素子20を含む。磁気ヘッド110は、記録部60を含む。第1磁極31、第2磁極32及び磁気素子20は、記録部60に含まれる。後述するように、磁気ヘッド110は、再生部を含んでも良い。
【0009】
第1磁極31は、媒体対向面30F及び第1面31fを含む。第1面31fは、媒体対向面30Fと交差する。図2は、媒体対向面30Fを見た平面図に対応する。
【0010】
媒体対向面30Fは、例えば、Z軸方向に対して垂直である。Z軸方向に対して垂直な1つの方向をX軸方向とする。Z軸方向及びX軸方向に対して垂直な方向をY軸方向とする。
(【0011】以降は省略されています)
この特許をJ-PlatPat(特許庁公式サイト)で参照する
関連特許
株式会社東芝
センサ
14日前
株式会社東芝
センサ
2か月前
株式会社東芝
センサ
14日前
株式会社東芝
固定子
1か月前
株式会社東芝
センサ
1か月前
株式会社東芝
モータ
9日前
株式会社東芝
回路素子
2か月前
株式会社東芝
ドア構造
1か月前
株式会社東芝
電子装置
8日前
株式会社東芝
金型構造
14日前
株式会社東芝
吸音装置
9日前
株式会社東芝
半導体装置
11日前
株式会社東芝
電動送風機
1か月前
株式会社東芝
粒子加速器
8日前
株式会社東芝
半導体装置
23日前
株式会社東芝
ラック装置
1か月前
株式会社東芝
半導体装置
21日前
株式会社東芝
半導体装置
11日前
株式会社東芝
半導体装置
11日前
株式会社東芝
半導体装置
11日前
株式会社東芝
半導体装置
11日前
株式会社東芝
半導体装置
11日前
株式会社東芝
半導体装置
11日前
株式会社東芝
アイソレータ
1か月前
株式会社東芝
ディスク装置
1か月前
株式会社東芝
重量測定装置
7日前
株式会社東芝
電力変換装置
2か月前
株式会社東芝
ディスク装置
1か月前
株式会社東芝
開発支援装置
1か月前
株式会社東芝
音響制御装置
7日前
株式会社東芝
ディスク装置
1か月前
株式会社東芝
ディスク装置
1か月前
株式会社東芝
海水用構造体
21日前
株式会社東芝
ディスク装置
11日前
株式会社東芝
走行システム
29日前
株式会社東芝
ディスク装置
29日前
続きを見る
他の特許を見る