TOP
|
特許
|
意匠
|
商標
特許ウォッチ
Twitter
他の特許を見る
10個以上の画像は省略されています。
公開番号
2025141390
公報種別
公開特許公報(A)
公開日
2025-09-29
出願番号
2024041294
出願日
2024-03-15
発明の名称
ディスク装置
出願人
株式会社東芝
,
東芝デバイス&ストレージ株式会社
代理人
弁理士法人スズエ国際特許事務所
主分類
G11B
33/12 20060101AFI20250919BHJP(情報記憶)
要約
【課題】アウトガスに起因する障害を抑制し、信頼性の向上を図ることが可能なディスク装置を提供することにある。
【解決手段】実施形態によれば、ディスク装置は、ディスク状の記録媒体と、回動可能に設けられたアクチュエータアッセンブリと、アクチュエータアッセンブリに支持された磁気ヘッドと、アクチュエータアッセンブリに当接可能に配置された第1ストッパおよび第2ストッパと、を備えている。第1ストッパおよび第2ストッパの少なくとも一方のストッパは、アクチュエータアッセンブリに当接可能な当接面を有する緩衝部材と、当接面を除いて緩衝部材を囲んで設けられたガス吸着材と、を具備している。
【選択図】図3
特許請求の範囲
【請求項1】
ディスク状の記録媒体と、
回動可能に設けられたアクチュエータアッセンブリと、
前記アクチュエータアッセンブリに支持された磁気ヘッドと、
前記アクチュエータアッセンブリに当接可能に配置された第1ストッパおよび第2ストッパと、を備え、
前記第1ストッパおよび前記第2ストッパの少なくとも一方のストッパは、前記アクチュエータアッセンブリに当接可能な当接面を有する緩衝部材と、前記当接面を除いて前記緩衝部材を囲んで設けられたガス吸着材と、を具備している、ディスク装置。
続きを表示(約 500 文字)
【請求項2】
前記緩衝部材は、前記当接面を含む周面を有し、
前記ガス吸着材は、前記当接面を除いて前記周面を覆う吸着面を有している、請求項1に記載のディスク装置。
【請求項3】
前記吸着面は、前記周面に接触している、請求項2に記載のディスク装置。
【請求項4】
前記緩衝部材は、前記当接面を含む周面と端面とを有し、
前記ガス吸着材は、前記当接面を除いて前記周面を覆う第1吸着面と、前記端面を覆う第2吸着面とを有している、請求項1に記載のディスク装置。
【請求項5】
前記少なくとも一方のストッパは、前記吸着面を除く前記ガス吸着材の外面を覆う外ケースを備えている、請求項2に記載のディスク装置。
【請求項6】
前記少なくとも一方のストッパは、ストッパピンと、前記ストッパピンに取り付けられた前記緩衝部材と、を含んでいる、請求項1に記載のディスク装置。
【請求項7】
前記少なくとも一方のストッパは、支持スリーブと、前記支持スリーブに取り付けられた前記緩衝部材と、を含んでいる、請求項1に記載のディスク装置。
発明の詳細な説明
【技術分野】
【0001】
この発明の実施形態は、ディスク装置に関する。
続きを表示(約 3,500 文字)
【背景技術】
【0002】
ディスク装置として、例えば、ハードディスクドライブ(HDD)は、筐体内に設けられた回転可能な磁気ディスクと、磁気ヘッドを支持した回動可能なアクチュエータアッセンブリ(ヘッドサスペンションアッセンブリ(HSA)と称する場合もある)とを備えている。筐体には、アクチュエータアッセンブリの移動範囲を制限するインナストッパおよびアウタストッパが設けられている。
アクチュエータアッセンブリがストッパに衝突する際の衝撃を緩和するため、インナストッパおよびアウタストッパの各々は、弾性を持つゴムやエラストマーなどの緩衝部材を有している。
【0003】
一方、緩衝部材としてのゴムやエラストマーはアウトガスを発生する可能性がある。これらの材料から発生するアウトガスは、長期間にわたりHDDの内部に拡散して磁気ヘッドや磁気ディスク上に堆積し、HDDの動作に障害を発生させる要因となり得る。
アウトガス対策としては、活性炭などのガス吸着材が入ったフィルタ等を筐体内に設置している。通常、フィルタ等は、ストッパから離れた場所に設置されている。そのため、上記フィルタ等では、ストッパから発生するアウトガスを十分に捕集することが困難となる。
【先行技術文献】
【特許文献】
【0004】
特開2000-48537号公報
米国特許第4,777,549号明細書
特開2001-035131号公報
米国特許第7,133,249号明細書
米国特許第7,564,647号明細書
特開2010-238344号公報
【発明の概要】
【発明が解決しようとする課題】
【0005】
この発明の実施形態の課題は、アウトガスに起因する障害を抑制し、信頼性の向上を図ることが可能なディスク装置を提供することにある。
【課題を解決するための手段】
【0006】
実施形態によれば、ディスク装置は、ディスク状の記録媒体と、回動可能に設けられたアクチュエータアッセンブリと、前記アクチュエータアッセンブリに支持された磁気ヘッドと、前記アクチュエータアッセンブリに当接可能に配置された第1ストッパおよび第2ストッパと、を備えている。前記第1ストッパおよび第2ストッパの少なくとも一方は、前記アクチュエータアッセンブリに当接可能な当接面を有する緩衝部材と、前記当接面を除いて前記緩衝部材を囲んで設けられたガス吸着材と、を具備している。
【図面の簡単な説明】
【0007】
図1は、トップカバーを分解して示す、第1実施形態に係るハードディスクドライブ(HDD)の分解斜視図。
図2は、前記HDDの平面図。
図3は、前記HDDのヘッドアクチュエータアッセンブリおよびFPCユニットを示す斜視図。
図4は、ヘッドアクチュエータアッセンブリ、FPCユニット、および上部ヨークを取り外した状態の前記HDDの斜視図。
図5は、インナストッパ部分を示す前記HDDの断面図。
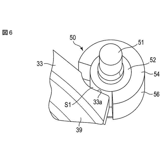
図6は、前記インナストッパの斜視図。
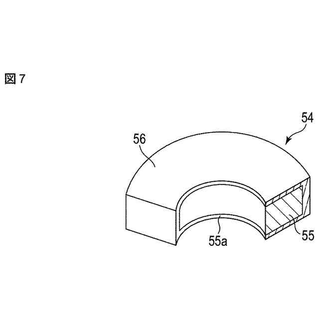
図7は、前記インナストッパの吸着ユニットを一部破断して示す斜視図。
図8は、アウタストッパの斜視図。
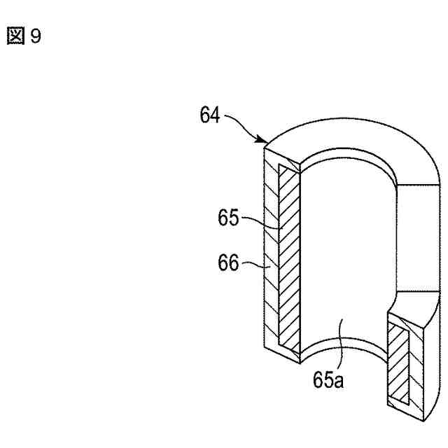
図9は、前記アウタストッパの吸着ユニットを一部破断して示す斜視図。
図10は、前記アウタストッパの断面図。
図11は、第2実施形態に係るHDDのインナストッパを示す斜視図。
図12は、前記インナストッパの緩衝部材および吸着ユニットを一部破断して示す斜視図。
図13は、第2実施形態におけるアウタストッパの斜視図および断面図。
図14は、第3実施形態に係るHDDのインナストッパを示す斜視図。
図15は、第4実施形態に係るHDDのインナストッパを示す斜視図。
図16は、第5実施形態および第6実施形態に係るアウタストッパを示す斜視図。
図17は、第7実施形態に係るHDDのインナストッパ部分を示す前記HDDの断面図。
図18は、第7実施形態に係るインナストッパの斜視図。
図19は、第7実施形態に係るHDDのアウタストッパ部分を示す前記HDDの断面図。
図20は、第7実施形態に係るアウタストッパの斜視図。
図21は、第8実施形態に係るHDDのインナストッパ部分を示す前記HDDの断面図。
図22は、第8実施形態に係るインナストッパの斜視図。
図23は、第8実施形態に係るHDDのアウタストッパ部分を示す前記HDDの断面図。
図24は、第8実施形態に係るアウタストッパの斜視図。
図25は、第9実施形態に係るHDDのインナストッパ部分を示す前記HDDの断面図。
図26は、第9実施形態に係るインナストッパの斜視図。
図27は、第10実施形態に係るHDDのインナストッパを示す斜視図。
図28は、第9実施形態に係るHDDのアウタストッパ部分を示す前記HDDの断面図。
図29は、第9実施形態に係るアウタストッパの斜視図。
図30は、第10実施形態に係るHDDのアウタストッパ示す斜視図。
図31は、他の実施例11-26の組合せ例を示す図表。
【発明を実施するための形態】
【0008】
以下図面を参照しながら、実施形態に係るディスク装置について説明する。
なお、開示はあくまで一例にすぎず、当業者において、発明の主旨を保っての適宜変更であって容易に想到し得るものについては、当然に本発明の範囲に含有されるものである。また、図面は説明をより明確にするため、実際の態様に比べ、各部の大きさ、形状等について模式的に表される場合があるが、あくまで一例であって、本発明の解釈を限定するものではない。また、本明細書と各図において、既出の図に関して前述したものと同様の要素には、同一の符号を付して、詳細な説明を適宜省略することがある。
【0009】
(第1実施形態)
ディスク装置として、第1実施形態に係るハードディスクドライブ(HDD)について詳細に説明する。図1は、カバーを分解して示す第1実施形態に係るHDDの分解斜視図、図2は、カバーを取外した状態のHDDの平面図である。
図1に示すように、HDDは、ほぼ矩形状の筐体10を備えている。筐体10は、上面の開口した矩形箱状のベース12と、複数のねじ13によりベース12にねじ止めされベース12の上部開口を閉塞するカバー(トップカバー)14と、を有している。ベース12は、カバー14と隙間を置いて対向する矩形状の底壁12aと、底壁12aの周縁に沿って立設された側壁12bとを有し、例えば、アルミニウム合金により一体に成形されている。側壁12bは、互いに対向する一対の長辺壁と互いに対向する一対の短辺壁とを含んでいる。カバー14は、例えば、ステンレスにより矩形板状に形成されている。カバー14は、その周縁部がねじ13により側壁12bの上面にねじ止めされる。
【0010】
筐体10内には、ディスク状の記録媒体として複数枚、例えば、10枚の磁気ディスク18、および磁気ディスク18を支持および回転させるスピンドルモータ19が設けられている。スピンドルモータ19は、底壁12a上に配設されている。各磁気ディスク18は、例えば、直径96mm(3.5インチ)の円板状に形成され、非磁性体、例えば、ガラスあるいはアルミニウムからなる基板と、基板の上面(第1面)および下面(第2面)に形成された磁気記録層とを有している。一例では、アルミニウムの基板を用いている。各磁気ディスク18は、スピンドルモータ19のハブに互いに同軸的に嵌合されて、更に、クランプばね20によりクランプされている。これにより、磁気ディスク18は、ベース12の底壁12aと平行に位置した状態に支持されている。複数枚の磁気ディスク18は、スピンドルモータ19により所定の回転数で回転される。なお、磁気ディスク18の搭載枚数は、10枚に限らず、9枚以下、あるいは、11枚以上としてもよい。
(【0011】以降は省略されています)
この特許をJ-PlatPat(特許庁公式サイト)で参照する
関連特許
株式会社東芝
端子台
10日前
株式会社東芝
電子装置
23日前
株式会社東芝
電子回路
19日前
株式会社東芝
除去装置
3日前
株式会社東芝
電子装置
1か月前
株式会社東芝
半導体装置
25日前
株式会社東芝
半導体装置
25日前
株式会社東芝
真空バルブ
18日前
株式会社東芝
半導体装置
19日前
株式会社東芝
半導体装置
19日前
株式会社東芝
高周波回路
19日前
株式会社東芝
半導体装置
19日前
株式会社東芝
半導体装置
19日前
株式会社東芝
半導体装置
19日前
株式会社東芝
半導体装置
26日前
株式会社東芝
半導体装置
23日前
株式会社東芝
真空バルブ
24日前
株式会社東芝
半導体装置
24日前
株式会社東芝
半導体装置
25日前
株式会社東芝
半導体装置
23日前
株式会社東芝
半導体装置
25日前
株式会社東芝
半導体装置
23日前
株式会社東芝
半導体装置
25日前
株式会社東芝
台車搬送装置
1か月前
株式会社東芝
コントローラ
19日前
株式会社東芝
超電導コイル
26日前
株式会社東芝
音響制御装置
1か月前
株式会社東芝
ディスク装置
2日前
株式会社東芝
重量測定装置
1か月前
株式会社東芝
補修システム
16日前
株式会社東芝
半導体スイッチ
17日前
株式会社東芝
半導体集積回路
18日前
株式会社東芝
アーク溶接方法
1か月前
株式会社東芝
電気車制御装置
5日前
株式会社東芝
磁気ディスク装置
1か月前
株式会社東芝
光量子乱数生成器
1か月前
続きを見る
他の特許を見る