TOP
|
特許
|
意匠
|
商標
特許ウォッチ
Twitter
他の特許を見る
10個以上の画像は省略されています。
公開番号
2025140404
公報種別
公開特許公報(A)
公開日
2025-09-29
出願番号
2024039788
出願日
2024-03-14
発明の名称
処理システム、処理方法、およびプログラム
出願人
日本電気株式会社
代理人
個人
,
個人
主分類
G06F
21/60 20130101AFI20250919BHJP(計算;計数)
要約
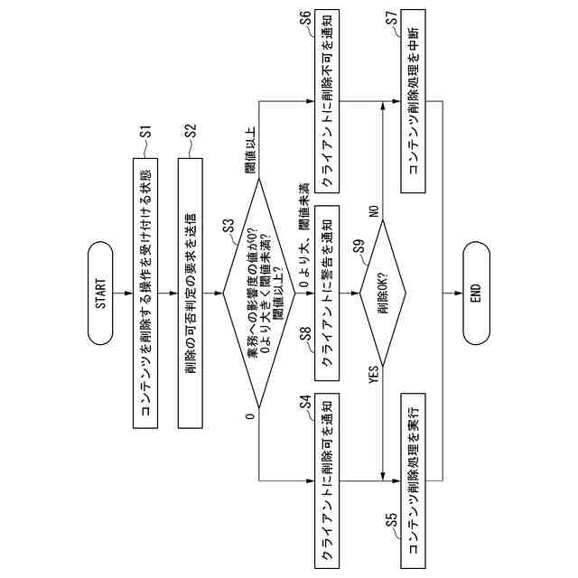
【課題】誤操作によるコンテンツの削除を抑制することのできる処理システムを提供する。
【解決手段】処理システムは、コンテンツへアクセス可能なユーザの数であるアクセス可能者数に対する実際にアクセスしたユーザ数であるアクセス者数の比を他者への影響度として算出する第1算出部と、前記他者への影響度に基づいて、前記コンテンツの削除に係る判定を行う判定部と、を備える。
【選択図】図7
特許請求の範囲
【請求項1】
コンテンツへアクセス可能なユーザの数であるアクセス可能者数に対する実際にアクセスしたユーザ数であるアクセス者数の比を他者への影響度として算出する第1算出部と、
前記他者への影響度に基づいて、前記コンテンツの削除に係る判定を行う判定部と、
を備える処理システム。
続きを表示(約 990 文字)
【請求項2】
前記アクセス者数から自身の情報を除外する除外処理部、
を備える請求項1に記載の処理システム。
【請求項3】
前記判定部は、
前記他者への影響度が閾値以上である場合、前記コンテンツを削除できないと判定し、前記コンテンツを削除できないことを通知する、
請求項1に記載の処理システム。
【請求項4】
前記判定部は、
前記他者への影響度が0である場合、前記コンテンツを削除できると判定し、前記コンテンツを削除できることを通知する、
請求項1に記載の処理システム。
【請求項5】
前記判定部は、
前記他者への影響度が0を超えかつ閾値未満である場合、前記コンテンツの削除について警告を通知する、
請求項1に記載の処理システム。
【請求項6】
前記コンテンツへのアクセスがどの程度直近であるかを数値化し、直近の業務への影響度とする第2算出部、
を備え、
前記判定部は、
前記他者への影響度と前記直近の業務への影響度とに基づいて前記コンテンツの削除に係る判定を行う、
請求項1から請求項5の何れか一項に記載の処理システム。
【請求項7】
前記他者への影響度と前記直近の業務への影響度との乗算により業務への影響度を算出する第3算出部、
を備え、
前記判定部は、
前記業務への影響度に基づいて前記コンテンツの削除に係る判定を行う、
請求項6に記載の処理システム。
【請求項8】
コンテンツへアクセス可能なユーザの数であるアクセス可能者数に対する実際にアクセスしたユーザ数であるアクセス者数の比を他者への影響度として算出することと、
前記他者への影響度に基づいて、前記コンテンツの削除に係る判定を行うことと、
を含む処理方法。
【請求項9】
コンピュータに、
コンテンツへアクセス可能なユーザの数であるアクセス可能者数に対する実際にアクセスしたユーザ数であるアクセス者数の比を他者への影響度として算出することと、
前記他者への影響度に基づいて、前記コンテンツの削除に係る判定を行うことと、
を実行させるプログラム。
発明の詳細な説明
【技術分野】
【0001】
本開示は、処理システム、処理方法、およびプログラムに関する。
続きを表示(約 1,300 文字)
【背景技術】
【0002】
インターネットの普及によりさまざまなコンテンツについてサービスが提供されている。特許文献1には、関連する技術として、計算機システムのファイル管理装置に関する技術が開示されている。
【先行技術文献】
【特許文献】
【0003】
特開平08-249219号公報
【発明の概要】
【発明が解決しようとする課題】
【0004】
特許文献1に関連するファイルの管理に関する技術では、誤操作によるコンテンツの削除を抑制することのできる技術が求められている。
【0005】
本開示の各態様は、上記の課題を解決することのできる処理システム、処理方法、およびプログラムを提供することを目的の1つとしている。
【課題を解決するための手段】
【0006】
本開示の一態様によれば、処理システムは、コンテンツへアクセス可能なユーザの数であるアクセス可能者数に対する実際にアクセスしたユーザ数であるアクセス者数の比を他者への影響度として算出する第1算出部と、前記他者への影響度に基づいて、前記コンテンツの削除に係る判定を行う判定部と、を備える。
【0007】
本開示の別の態様によれば、処理方法は、コンテンツへアクセス可能なユーザの数であるアクセス可能者数に対する実際にアクセスしたユーザ数であるアクセス者数の比を他者への影響度として算出することと、前記他者への影響度に基づいて、前記コンテンツの削除に係る判定を行うことと、を含む。
【0008】
本開示の別の態様によれば、プログラムは、コンピュータに、コンテンツへアクセス可能なユーザの数であるアクセス可能者数に対する実際にアクセスしたユーザ数であるアクセス者数の比を他者への影響度として算出することと、前記他者への影響度に基づいて、前記コンテンツの削除に係る判定を行うことと、を実行させる。
【発明の効果】
【0009】
本開示の各態様によれば、誤操作によるコンテンツの削除を抑制することができる。
【図面の簡単な説明】
【0010】
本開示のいくつかの実施形態にかかる処理システムの構成の一例を示す図である。
本開示のいくつかの実施形態にかかる処理システムの処理フローの一例を示す図である。
本開示のいくつかの実施形態にかかるデータベースの一例を示す図である。
本開示のいくつかの実施形態にかかる削除可否判定サーバが行うアクセスログの情報を取得する処理の一例を示す図である。
本開示のいくつかの実施形態にかかるデータテーブルの一例を示す図である。
本開示のいくつかの実施形態にかかる影響度計算部が行う業務への影響度を算出する処理の一例を示す図である。
本開示のいくつかの実施形態にかかる処理システムの構成の一例を示す図である。
本開示のいくつかの実施形態にかかる処理システムの処理フローの一例を示す図である。
少なくとも1つの実施形態に係るコンピュータの構成を示す概略ブロック図である。
【発明を実施するための形態】
(【0011】以降は省略されています)
この特許をJ-PlatPat(特許庁公式サイト)で参照する
関連特許
日本電気株式会社
分析装置
7日前
日本電気株式会社
学習装置
1か月前
日本電気株式会社
原子発振器
1か月前
日本電気株式会社
超伝導量子回路
27日前
日本電気株式会社
マルチバンドバラン
25日前
日本電気株式会社
検知装置および検知方法
7日前
日本電気株式会社
量子回路装置と制御方法
7日前
日本電気株式会社
量子回路装置と制御方法
7日前
日本電気株式会社
送信装置および通信装置
3日前
日本電気株式会社
通信装置および通信方法
3日前
日本電気株式会社
分析方法および分析システム
4日前
日本電気株式会社
端末装置および無線通信方法
18日前
日本電気株式会社
機器冷却装置及びその冷却方法
19日前
日本電気株式会社
共振器及びそれを備えた導波回路
5日前
日本電気株式会社
処理装置、方法、及びプログラム
1か月前
日本電気株式会社
TS合成装置および放送システム
1か月前
日本電気株式会社
プログラム、算出装置、及び方法
19日前
日本電気株式会社
推定装置、推定方法及びプログラム
10日前
日本電気株式会社
ピーク抑圧装置及びピーク抑圧方法
17日前
日本電気株式会社
リング共振器、およびその製造方法
1か月前
日本電気株式会社
リング共振器、およびその製造方法
1か月前
日本電気株式会社
システム及びマイグレーション方法
7日前
日本電気株式会社
推定装置、推定方法及びプログラム
10日前
日本電気株式会社
画像管理システムおよび画像管理方法
5日前
日本電気株式会社
処理装置、処理方法、及びプログラム
7日前
日本電気株式会社
推定装置、推定方法、及び、記録媒体
4日前
日本電気株式会社
波長可変レーザ装置及びその構成方法
3日前
日本電気株式会社
判定装置、判定方法、及び、プログラム
27日前
日本電気株式会社
通信システム及びパケット順序補正方法
18日前
日本電気株式会社
管理システム、管理方法及びプログラム
17日前
日本電気株式会社
通信装置、通信方法及び通信プログラム
4日前
日本電気株式会社
予測システム、予測方法及びプログラム
10日前
日本電気株式会社
注文端末、注文受付方法及びプログラム
3日前
日本電気株式会社
映像処理装置、映像処理方法、プログラム
7日前
日本電気株式会社
映像伝送装置、映像伝送方法、プログラム
7日前
日本電気株式会社
処理システム、処理方法およびプログラム
10日前
続きを見る
他の特許を見る