TOP
|
特許
|
意匠
|
商標
特許ウォッチ
Twitter
他の特許を見る
10個以上の画像は省略されています。
公開番号
2025140207
公報種別
公開特許公報(A)
公開日
2025-09-29
出願番号
2024039432
出願日
2024-03-13
発明の名称
巻線界磁型回転電機
出願人
株式会社デンソー
代理人
個人
,
個人
,
個人
,
個人
,
個人
主分類
H02K
9/19 20060101AFI20250919BHJP(電力の発電,変換,配電)
要約
【課題】ロータにおいて冷媒から電気部品を適切に保護し、かつ高い冷却性能を実現することができる巻線界磁型回転電機を提供する。
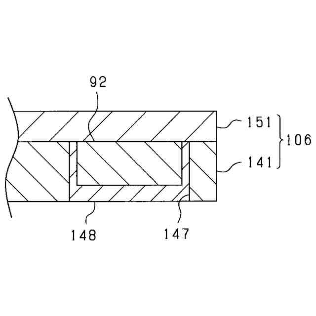
【解決手段】回転電機では、ロータの軸方向端部に向けて軸方向から冷媒が噴射される。ロータにおいて界磁巻線の軸方向端部に対向する位置には、回転軸に固定された状態で、電気部品を有する回路モジュール106が設けられている。回路モジュール106は、電気部品を収容する部品ホルダ141を有する。部品ホルダ141の軸方向両側の端面のうち一方の端面には、部品ホルダ141において電気部品が収容された収容エリアを軸方向から覆うようにして放熱板151が固定され、他方の端面では、収容エリアが、電気部品が露出しない状態で閉鎖部148により封鎖されている。
【選択図】 図15
特許請求の範囲
【請求項1】
ステータ巻線(52)を有するステータ(50)と、
ロータコア(61)と、前記ロータコアに巻回された界磁巻線(70)とを有し、回転軸(32)と一体回転するロータ(60)と、
を備え、前記ロータの軸方向端部に向けて軸方向から冷媒を噴射させるようにした巻線界磁型回転電機(40)であって、
前記ロータにおいて前記界磁巻線の軸方向端部に対向する位置には、前記回転軸に固定された状態で、前記界磁巻線に接続された電気部品を有する回路モジュール(106)が設けられており、
前記回路モジュールは、前記電気部品を収容する部品ホルダ(141)を有し、
前記部品ホルダの軸方向両側の端面のうち一方の端面には、前記部品ホルダにおいて前記電気部品が収容された収容エリアを軸方向から覆うようにして放熱板(151)が固定され、他方の端面では、前記収容エリアが、前記電気部品が露出しない状態で閉鎖部(148)により封鎖されている、巻線界磁型回転電機。
続きを表示(約 1,100 文字)
【請求項2】
前記部品ホルダの軸方向両側の端面のうち前記ロータコアとは反対側の端面に、前記放熱板が固定されている、請求項1に記載の巻線界磁型回転電機。
【請求項3】
前記部品ホルダ及び前記放熱板は互いに同心の円盤状をなし、
前記部品ホルダは、前記回転軸を囲む位置に設けられた収容部(147)を有し、
前記収容部に収容された状態で、複数の前記電気部品が前記回転軸の周りに周方向に並べて配置されており、
前記放熱板は、前記部品ホルダにおいて周方向に並ぶ前記各電気部品の収容エリアを軸方向から覆うようにして前記部品ホルダの軸方向片側の端面に固定されている、請求項1又は2に記載の巻線界磁型回転電機。
【請求項4】
前記ロータは、前記界磁巻線において前記ロータコアよりも軸方向外側となるコイルエンドと前記回路モジュールとを覆う状態で設けられるコイルエンドカバー(103)を有し、
前記コイルエンドカバーにおいて前記回転軸から径方向に延びる端板部(201)に対して軸方向から冷媒が噴射される構成となっており、
前記端板部には、軸方向に貫通し、冷媒を前記界磁巻線の反対側から前記界磁巻線の側に通過させる冷媒流路(211~213)が設けられており、
前記回路モジュールの前記部品ホルダ及び前記放熱板には、軸方向に延び、かつ互いに連通する貫通孔(146,153)が設けられており、前記貫通孔の前記界磁巻線側の開口は、軸方向において前記界磁巻線のコイルエンドに対向している、請求項1又は2に記載の巻線界磁型回転電機。
【請求項5】
前記ロータは、前記界磁巻線において前記ロータコアよりも軸方向外側となるコイルエンドと前記回路モジュールとを覆う状態で設けられるコイルエンドカバー(103)を有し、
前記コイルエンドカバーにおいて前記回転軸から径方向に延びる端板部(201)に対して軸方向から冷媒が噴射される構成となっており、
前記端板部には、軸方向に貫通し、冷媒を前記界磁巻線の反対側から前記界磁巻線の側に通過させる冷媒流路(211~213)が設けられており、
前記回路モジュールにおいて前記放熱板が前記コイルエンドカバーの前記端板部に軸方向に対向しており、
前記放熱板において前記端板部と対向する対向面に径方向に延びる溝部(155)が設けられ、前記冷媒流路から流出する冷媒が前記溝部を流れる構成となっている、請求項1又は2に記載の巻線界磁型回転電機。
【請求項6】
前記部品ホルダと前記放熱板との互いの接合面には、シール材が介在している、請求項1又は2に記載の巻線界磁型回転電機。
発明の詳細な説明
【技術分野】
【0001】
この明細書における開示は、巻線界磁型回転電機に関する。
続きを表示(約 3,000 文字)
【背景技術】
【0002】
巻線界磁型回転電機において、ロータは、周方向に並ぶ複数の主極部(磁気突極部)を有するロータコアと、主極部に巻回された界磁巻線と、を有する。また、ロータにおいて軸方向両側のうち一方の側に、電気部品としてダイオードやコンデンサを具備する回路モジュールが設けられた構成が知られている(特許文献1参照)。回路モジュールは、樹脂等の絶縁材料により構成された部品ホルダを有し、部品ホルダに設けられた収容部にダイオードやコンデンサが収容されるようになっている。
【先行技術文献】
【特許文献】
【0003】
特開2020-124100号公報
【発明の概要】
【発明が解決しようとする課題】
【0004】
ロータの回路モジュールでは、通電に伴い熱が生じる。熱対策としては、回転電機のハウジング内において冷媒を用いて回路モジュールを冷却する構成が考えられる。しかしながら、回路モジュールの部品ホルダに対して冷媒をかける場合には、冷媒が電気部品に接触することに起因する不都合の発生が懸念される。この点、ロータに一体的に設けられる回路モジュールの冷却に関して技術的な改善が望まれる。
【0005】
本開示は、上記事情に鑑みてなされたものであり、ロータにおいて冷媒から電気部品を適切に保護し、かつ高い冷却性能を実現することができる巻線界磁型回転電機を提供することを目的とする。
【課題を解決するための手段】
【0006】
本開示は、
ステータ巻線を有するステータと、
ロータコアと、前記ロータコアに巻回された界磁巻線とを有し、回転軸と一体回転するロータと、
を備え、前記ロータの軸方向端部に向けて軸方向から冷媒を噴射させるようにした巻線界磁型回転電機であって、
前記ロータにおいて前記界磁巻線の軸方向端部に対向する位置には、前記回転軸に固定された状態で、前記界磁巻線に接続された電気部品を有する回路モジュールが設けられており、
前記回路モジュールは、前記電気部品を収容する部品ホルダを有し、
前記部品ホルダの軸方向両側の端面のうち一方の端面には、前記部品ホルダにおいて前記電気部品が収容された収容エリアを軸方向から覆うようにして放熱板が固定され、他方の端面では、前記収容エリアが、前記電気部品が露出しない状態で閉鎖部により封鎖されている。
【0007】
巻線界磁型の回転電機において、ロータは、界磁巻線の軸方向端部に対向する位置に回路モジュールを有し、その回路モジュールが、界磁巻線に接続された電気部品を収容する部品ホルダと、部品ホルダの軸方向両側の端面のうち一方の端面に固定された放熱板とを有する構成とした。そして、ロータの軸方向端部に向けて軸方向から冷媒を噴射させる構成とした。この場合、放熱板は、部品ホルダにおいて電気部品が収容された収容エリアを軸方向から覆うようにして固定されており、電気部品の熱を効率良く放出できる。また、部品ホルダにおいて放熱板の逆側の端面では、電気部品が露出しない状態で収容エリアが封鎖されており、電気部品が冷媒に晒されるといった不都合が抑制される。その結果、ロータにおいて冷媒から電気部品を適切に保護し、かつ高い冷却性能を実現することができる。
【図面の簡単な説明】
【0008】
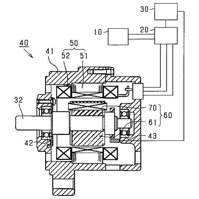
回転電機の制御システムの全体構成図。
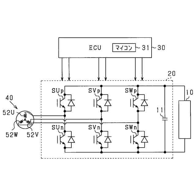
インバータ及びその周辺構成を示す図。
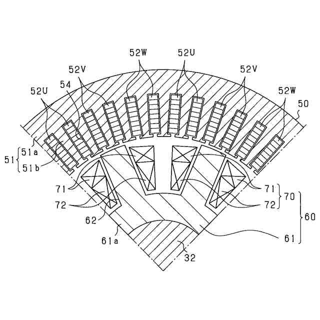
ロータ及びステータの横断面図。
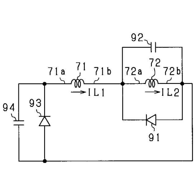
ロータが備える電気回路を示す図。
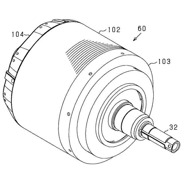
ロータの全体の構成を示す斜視図。
ロータにおいて被覆部とコイルエンドカバーを取り外した状態を示す斜視図。
ロータの分解斜視図。
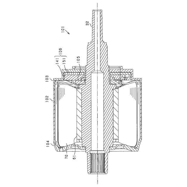
ロータの縦断面図。
ロータ主部において巻線ユニットを分解して示す斜視図。
ロータ主部の一部の断面構造を示す横断面図。
バスバモジュールの斜視図。
バスバモジュールの内部の構成を示す図。
回路モジュールの分解斜視図。
部品ホルダの内部の構成を示す図。
回路モジュールの縦断面構造を示す図。
回転電機を模式的に示す縦断面図。
コイルエンドカバーをカバー外側から見た斜視図。
コイルエンドカバーをカバー内側から見た斜視図。
コイルエンドカバーの断面構造を示す縦断面図。
コイルエンドカバーをロータコイルエンドに装着した状態を示す縦断面図。
モータ主部を軸方向から見た平面図。
コイルエンドカバーの平面図。
コイルエンドカバーにおいて貯留部に設けられた突起部を示す図。
ロータの径方向外側にステータが組み付けられた状態を示す斜視図。
ロータの径方向外側にステータが組み付けられた状態を示す縦断面図。
コイルエンドカバーをカバー外側から見た斜視図。
コイルエンドカバーをカバー内側から見た斜視図。
コイルエンドカバーの断面構造を示す縦断面図。
コイルエンドカバーをロータコイルエンドに装着した状態を示す縦断面図。
コイルエンドカバーの流出口と放熱板の溝部との位置関係を示す平面図。
ロータの径方向外側にステータが組み付けられた状態を示す斜視図。
ロータの径方向外側にステータが組み付けられた状態を示す縦断面図。
ステータ電流と界磁巻線温度との関係を示す図。
回転電機と制御装置とを含む制御システムの概略構成を示す図。
冷媒温度とステータ温度と界磁巻線温度との関係を示す図。
ステータ及びロータよりなるアセンブリを軸方向から見た平面図。
ステータの正面図。
ロータコイルエンド側からステータコイルエンド側への冷媒の流れを示す図。
コイルエンドカバーをロータコイルエンドに装着した状態を示す縦断面図。
ロータコイルエンド側からステータコイルエンド側への冷媒の流れを示す図。
コイルエンドカバーの斜視図。
ステータ及びロータよりなるアセンブリを軸方向から見た平面図。
【発明を実施するための形態】
【0009】
以下、本開示に係る巻線界磁型回転電機を具体化した実施形態について、図面を参照しつつ説明する。回転電機は、例えば、電気自動車やハイブリッド自動車等の電動車両において走行動力源として用いられる。
【0010】
まず、図1を用いて、回転電機を備える制御システムについて説明する。制御システムは、直流電源10、インバータ20、制御装置30及び回転電機40を備えている。回転電機40は、自励式巻線界磁型の同期機である。例えば、回転電機40、インバータ20及び制御装置30は機電一体型駆動装置として構成されていてもよいし、回転電機40、インバータ20及び制御装置30それぞれが各コンポーネントで構成されていてもよい。
(【0011】以降は省略されています)
この特許をJ-PlatPat(特許庁公式サイト)で参照する
関連特許
株式会社デンソー
接合体
13日前
株式会社デンソー
駆動装置
29日前
株式会社デンソー
平滑回路
23日前
株式会社デンソー
電子装置
1か月前
株式会社デンソーエレクトロニクス
発音装置
3日前
株式会社デンソー
電子装置
3日前
株式会社デンソー
測距装置
1か月前
株式会社デンソー
通信装置
29日前
株式会社デンソー
光学部材
24日前
株式会社デンソー
書込装置
1か月前
株式会社デンソー
太陽電池
15日前
株式会社デンソー
ステータ
14日前
株式会社デンソー
ステータ
14日前
株式会社デンソーエレクトロニクス
発音装置
21日前
株式会社デンソー
レーダ装置
3日前
株式会社デンソー
ガスセンサ
1か月前
株式会社デンソー
回転体装置
27日前
株式会社デンソー
センサ素子
29日前
株式会社デンソー
電圧変換回路
14日前
株式会社デンソー
電子制御装置
3日前
株式会社デンソー
通信システム
3日前
株式会社デンソー
光位相変調器
13日前
株式会社デンソー
小型電動車両
15日前
株式会社デンソー
電力変換装置
7日前
株式会社デンソー
電力変換装置
28日前
株式会社デンソー
フィルタ回路
7日前
株式会社デンソー
温度検出装置
27日前
株式会社デンソーウェーブ
光学読取装置
15日前
株式会社デンソー
電気化学セル
3日前
株式会社デンソー
ステータコア
6日前
株式会社デンソー
装置及び方法
22日前
株式会社デンソー
制御システム
6日前
株式会社デンソー
通信システム
22日前
株式会社デンソー
電子制御装置
27日前
株式会社デンソー
電子制御装置
14日前
株式会社デンソー
電力変換装置
1か月前
続きを見る
他の特許を見る