TOP
|
特許
|
意匠
|
商標
特許ウォッチ
Twitter
他の特許を見る
10個以上の画像は省略されています。
公開番号
2025140082
公報種別
公開特許公報(A)
公開日
2025-09-29
出願番号
2024039252
出願日
2024-03-13
発明の名称
配線基板および配線基板の製造方法
出願人
イビデン株式会社
代理人
弁理士法人朝日奈特許事務所
主分類
H05K
3/46 20060101AFI20250919BHJP(他に分類されない電気技術)
要約
【課題】ビア導体における不良が抑制された配線基板の提供。
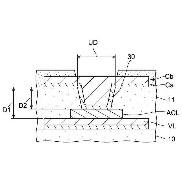
【解決手段】実施形態の配線基板1は、ビアランドVLを含む導体層20と、ビアランドVL上に形成される導体膜ACLと、導体層20および導体膜ACLを被覆する絶縁層11と、絶縁層11を貫通し導体膜ACLを介してビアランドVLに接続するビア導体30と、を含んでいる。ビアランドVLの上面とビア導体30の導体膜ACLと接続する端面とは反対側の端面との最短距離に対する、導体膜ACLの上面とビア導体30の導体膜ACLと接続する端面とは反対側の端面との最短距離の比は、0.4以上、且つ、0.7以下である。
【選択図】図1
特許請求の範囲
【請求項1】
ビアランドを含む導体層と、
前記ビアランド上に形成される導体膜と、
前記導体層および前記導体膜を被覆する絶縁層と、
前記絶縁層を貫通し前記導体膜を介して前記ビアランドに接続するビア導体と、
を含む配線基板であって、
前記ビアランドの上面と前記ビア導体の前記導体膜と接続する端面とは反対側の端面との最短距離に対する、
前記導体膜の上面と前記ビア導体の前記導体膜と接続する端面とは反対側の端面との最短距離の比は、0.4以上、且つ、0.7以下である。
続きを表示(約 640 文字)
【請求項2】
請求項1記載の配線基板であって、前記導体膜の上面と前記ビア導体の前記導体膜と接続する端面とは反対側の端面との最短距離が20μm以上、且つ、35μm以下である。
【請求項3】
請求項1記載の配線基板であって、前記ビア導体の径は50μm以上、且つ、70μm以下である。
【請求項4】
請求項1記載の配線基板であって、前記ビア導体のアスペクト比は1.4以上、且つ、2.5以下である。
【請求項5】
請求項1記載の配線基板であって、前記ビア導体の底部の全域は前記導体膜の上面と直接接続している。
【請求項6】
請求項1記載の配線基板であって、前記ビア導体の底部は前記導体膜の上面および前記ビアランドの上面と直接接続している。
【請求項7】
請求項1記載の配線基板であって、前記ビアランドは金属膜層およびめっき膜層で構成され、前記導体膜はめっき膜層で構成されている。
【請求項8】
請求項1記載の配線基板であって、前記導体膜が前記ビアランド上のみに形成されている。
【請求項9】
請求項1記載の配線基板であって、前記導体層は金属膜層およびめっき膜層を備え、前記導体膜は前記めっき膜層を構成する導体材料と同じ導体材料で形成されている。
【請求項10】
請求項9記載の配線基板であって、前記導体材料が銅である。
(【請求項11】以降は省略されています)
発明の詳細な説明
【技術分野】
【0001】
本発明は配線基板および配線基板の製造方法に関する。
続きを表示(約 1,800 文字)
【背景技術】
【0002】
特許文献1には、配線基板および配線基板の製造方法が開示されている。導体層上に絶縁層が形成され、絶縁層には絶縁層を貫通する貫通孔が形成され、貫通孔内に導体が充填されることで導体層に接続するビア導体が形成される。
【先行技術文献】
【特許文献】
【0003】
特開2016-58472号公報
【発明の概要】
【発明が解決しようとする課題】
【0004】
特許文献1の配線板の製造方法においては、絶縁層の厚さが大きい場合に貫通孔の深さが増大し導体が充填され難い場合があると考えられる。形成されるビア導体にボイドが含まれる不良が発生する場合があると考えられる。
【課題を解決するための手段】
【0005】
本発明の配線基板は、ビアランドを含む導体層と、前記ビアランド上に形成される導体膜と、前記導体層および前記導体膜を被覆する絶縁層と、前記絶縁層を貫通し前記導体膜を介して前記ビアランドに接続するビア導体と、を含んでいる。前記ビアランドの上面と前記ビア導体の前記導体膜と接続する端面とは反対側の端面との最短距離に対する、前記導体膜の上面と前記ビア導体の前記導体膜と接続する端面とは反対側の端面との最短距離の比は、0.4以上、且つ、0.7以下である。
【0006】
本発明の配線基板の製造方法は、ビアランドを含む導体層を形成することと、前記ビアランドの上面を露出させる開口を含むレジスト層を形成することと、電解めっきにより前記開口内に導体膜を形成することと、前記レジスト層を除去することと、前記導体層および前記導体膜を被覆する絶縁層を形成することと、前記絶縁層を貫通し前記導体膜の上面を露出させる貫通孔を形成することと、前記貫通孔内を導体により充填することでビア導体を形成することと、を含んでいる。前記導体膜および前記絶縁層を形成することは、前記ビアランドの上面から前記絶縁層の上面までの最短距離に対する、前記導体膜の上面から前記絶縁層の上面までの最短距離の比を0.4以上、且つ、0.7以下にすることを含んでいる。
【0007】
本発明の実施形態によれば、ビア導体における不良が抑制された、高品質の配線基板が提供され得る。
【図面の簡単な説明】
【0008】
本発明の一実施形態の配線基板の一例を示す断面図。
図1における領域IIの部分拡大図。
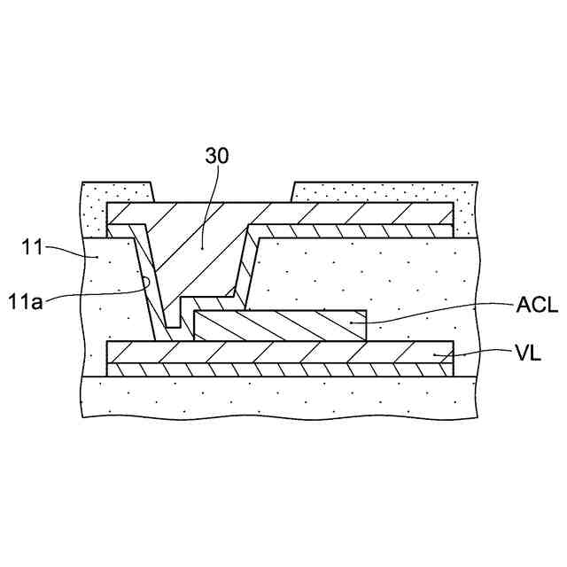
本発明の一実施形態の配線基板の他の例を示す断面図。
本発明の一実施形態の配線基板の他の例を示す断面図。
本発明の一実施形態の配線基板の他の例を示す断面図。
本発明の一実施形態の配線基板の製造方法の一例を示す断面図。
本発明の一実施形態の配線基板の製造方法の一例を示す断面図。
本発明の一実施形態の配線基板の製造方法の一例を示す断面図。
本発明の一実施形態の配線基板の製造方法の一例を示す断面図。
本発明の一実施形態の配線基板の製造方法の一例を示す断面図。
本発明の一実施形態の配線基板の製造方法の一例を示す断面図。
【発明を実施するための形態】
【0009】
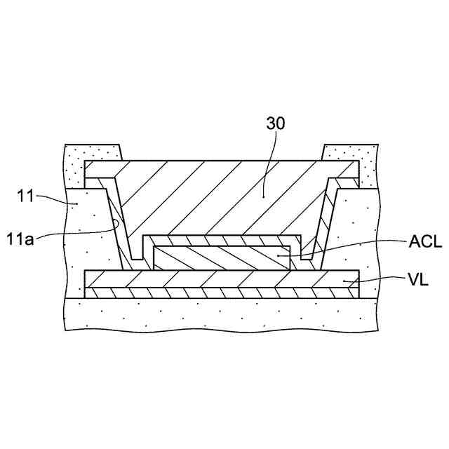
以下、図面を参照しながら本発明の配線基板について説明される。なお、以下、参照される図面においては、各構成要素の正確な比率を示すことは意図されておらず、本発明の特徴が理解され易いように描かれている。図1には、実施形態の配線基板の一例である配線基板1の断面が部分的に示されている。配線基板1は、交互に積層される絶縁層および導体層で形成されており、図1にはその一部の絶縁層および導体層が示されている。
【0010】
図1では、配線基板1が有し得る複数の絶縁層および導体層のうち、一方の面F側の、2層の絶縁層10、11、2層の導体層20、21、および、ソルダーレジスト層SRが示されている。導体層20と導体層21とは、絶縁層11を厚さ方向に貫通するビア導体30によって接続されている。配線基板1の一方の面Fを構成するソルダーレジスト層SRには、開口SRaが形成され、開口SRaからは、導体層21に含まれる導体パッド21pの表面が露出している。
(【0011】以降は省略されています)
この特許をJ-PlatPat(特許庁公式サイト)で参照する
関連特許
イビデン株式会社
断熱材
1か月前
イビデン株式会社
断熱材
1か月前
イビデン株式会社
断熱材
1か月前
イビデン株式会社
断熱材
1か月前
イビデン株式会社
配線基板
1か月前
イビデン株式会社
配線基板
1か月前
イビデン株式会社
配線基板
1か月前
イビデン株式会社
ハニカムフィルタ
1か月前
イビデン株式会社
ワークの加工方法
23日前
イビデン株式会社
ハニカムフィルタ
1か月前
イビデン株式会社
電子部品内蔵基板
21日前
イビデン株式会社
配線基板の製造方法
1か月前
イビデン株式会社
配線基板の製造方法
1か月前
イビデン株式会社
配線基板の製造方法
1か月前
イビデン株式会社
配線基板の製造方法
14日前
イビデン株式会社
配線基板の製造方法
1か月前
イビデン株式会社
配線基板の製造方法
1か月前
イビデン株式会社
配線基板の製造方法
1か月前
イビデン株式会社
配線基板の製造方法
1か月前
イビデン株式会社
配線基板の製造方法
1か月前
イビデン株式会社
配線基板の製造方法
1か月前
イビデン株式会社
部品内蔵基板の製造方法
1か月前
イビデン株式会社
プリント配線板の製造方法
1か月前
イビデン株式会社
プリント配線板の製造方法
1か月前
イビデン株式会社
プリント配線板の製造方法
1か月前
イビデン株式会社
コア基板及びその製造方法
29日前
イビデン株式会社
マット材及び保持シール材
1か月前
イビデン株式会社
プリント配線板の製造方法
1か月前
イビデン株式会社
熱伝達抑制シート及び組電池
1か月前
イビデン株式会社
光導波路及び導波路搭載基板
1か月前
イビデン株式会社
熱伝達抑制シート及び組電池
1か月前
イビデン株式会社
電池パック用断熱材及び電池パック
1か月前
イビデン株式会社
電池パック用断熱材及び電池パック
1か月前
イビデン株式会社
配線基板および配線基板の製造方法
1か月前
イビデン株式会社
海藻の成長促進剤および海藻の養殖方法
1か月前
イビデン株式会社
部品内蔵基板及び部品内蔵基板の製造方法
1か月前
続きを見る
他の特許を見る