TOP
|
特許
|
意匠
|
商標
特許ウォッチ
Twitter
他の特許を見る
10個以上の画像は省略されています。
公開番号
2025139936
公報種別
公開特許公報(A)
公開日
2025-09-29
出願番号
2024039035
出願日
2024-03-13
発明の名称
衣類処理装置
出願人
東芝ライフスタイル株式会社
代理人
弁理士法人サトー
主分類
D06F
33/65 20200101AFI20250919BHJP(繊維または類似のものの処理;洗濯;他に分類されない可とう性材料)
要約
【課題】省エネルギーに配慮しつつ衣類のしわ付きを改善できる衣類処理装置を提供する。
【解決手段】衣類処理装置は、外箱と、外箱内に設けられ、空気入口を有し、内部に衣類を収容する衣類収容槽と、外箱内に設けられて空気入口に接続される風路と、風路内に配置され表面から水分を気化する加湿促進部材と、衣類収容槽に送風する送風装置と、加湿促進部材に外箱外部の給水源からの水を供給する給水経路と、給水経路を開閉する給水弁と、送風装置の動作と、加湿促進部材の温度と、給水弁の開閉とを制御して衣類に対して加湿してしわを軽減するしわ取り運転を実行する制御装置と、を備える。制御装置は、しわ取り運転において、給水弁を開放して加湿促進部材に水を供給する準備工程と、衣類収容槽に送風せずに加湿促進部材の温度を高くする気化工程と、送風装置を駆動して気化工程により発生した蒸気を衣類収容槽に送る加湿工程と、を実行する。
【選択図】図7
特許請求の範囲
【請求項1】
外箱と、
前記外箱内に設けられ、空気入口を有し、内部に衣類を収容する衣類収容槽と、
前記外箱内に設けられて前記空気入口に接続される風路と、
前記風路内に配置され表面から水分を気化する加湿促進部材と、
前記衣類収容槽に送風する送風装置と、
前記加湿促進部材に前記外箱外部の給水源からの水を供給する給水経路と、
前記給水経路を開閉する給水弁と、
前記送風装置の動作と、前記加湿促進部材の温度と、前記給水弁の開閉とを制御して前記衣類に対して加湿してしわを軽減するしわ取り運転を実行する制御装置と、を備え、
前記制御装置は、前記しわ取り運転において、前記給水弁を開放して前記加湿促進部材に前記水を供給する準備工程と、前記衣類収容槽に送風せずに前記加湿促進部材の温度を高くする気化工程と、前記送風装置を駆動して前記気化工程により発生した蒸気を前記衣類収容槽に送る加湿工程と、を実行する、
衣類処理装置。
続きを表示(約 850 文字)
【請求項2】
圧縮機と凝縮器と蒸発器とを有するヒートポンプ機構を備え、
前記加湿促進部材は、前記凝縮器及び又は前記蒸発器であって、
前記制御装置は、前記気化工程において前記圧縮機を駆動する、
請求項1に記載の衣類処理装置。
【請求項3】
前記凝縮器は、前記蒸発器に隣接して前記風路内における空気の流れる方向に関して前記蒸発器の下流側に配置され、
前記給水経路は、前記蒸発器に対して上方から臨んで設けられた給水部を有し、
前記制御装置は、前記準備工程において前記送風装置を駆動する、
請求項2に記載の衣類処理装置。
【請求項4】
前記制御装置は、前記加湿工程において前記圧縮機の駆動を停止する、
請求項3に記載の衣類処理装置。
【請求項5】
前記制御装置は、前記しわ取り運転において、前記準備工程、前記気化工程、及び前記加湿工程を1セットとして繰り返し複数セット実行する、
請求項1に記載の衣類処理装置。
【請求項6】
前記凝縮器の温度を検知する凝縮器温度検知部を備え、
前記制御装置は、前記凝縮器温度検知部の検知温度が所定の閾値以上となったことに基づいて前記気化工程を終了する、
請求項2又は3に記載の衣類処理装置。
【請求項7】
前記圧縮機の温度を検知する圧縮機温度検知部を備え、
前記制御装置は、前記圧縮機温度検知部の検知温度が所定の閾値以上となったことに基づいて前記気化工程を終了する、
請求項2又は3に記載の衣類処理装置。
【請求項8】
前記衣類収容槽の内部に向けて紫外線を照射する紫外線照射装置を備え、
前記制御装置は、前記準備工程、前記気化工程、及び前記加湿工程のうち少なくともいずれか一工程の実行中に、前記紫外線照射装置を駆動する、
請求項1に記載の衣類処理装置。
発明の詳細な説明
【技術分野】
【0001】
本発明の実施形態は、衣類処理装置に関する。
続きを表示(約 2,100 文字)
【背景技術】
【0002】
従来、洗濯機能と乾燥機能とを備えた洗濯乾燥機が知られている。また、そのような洗濯乾燥機の中には、衣類のしわを伸ばして取り除く機能を有する洗濯乾燥機が開発されている。
【0003】
例えば、特許文献1には、内槽であるドラムの底部と外槽との間に、ヒータである加熱部と、加熱部の周囲に水を一時的に溜めておくための水受け部と、が設けられており、ドラムに衣類を入れた状態で加熱部においてスチームを発生させ衣類を湿らせ、その後送風ファンでドラムの内部に空気を送り衣類を乾燥させることで、衣類のしわをとりのぞくことができる洗濯乾燥機が開示されている。
【先行技術文献】
【特許文献】
【0004】
特開2021-069529号公報
【発明の概要】
【発明が解決しようとする課題】
【0005】
ヒータを用いてしわを取り除くのに十分な量の蒸気を発生させるためには、例えば1000Wの程度電力が必要となることがある。また、加熱部の周囲に一定程度の水量をためる必要がある。したがって、しわ取り機能を備える洗濯乾燥機について省エネルギーの観点から検討の余地があった。
【0006】
そこで、本発明の本実施形態は、省エネルギーに配慮しつつ衣類のしわ付きを改善できる衣類処理装置を提供する。
【課題を解決するための手段】
【0007】
実施形態の衣類処理装置は、外箱と、前記外箱内に設けられ、空気入口を有し、内部に衣類を収容する衣類収容槽と、前記外箱内に設けられて前記空気入口に接続される風路と、前記風路内に配置され表面から水分を気化する加湿促進部材と、前記衣類収容槽に送風する送風装置と、前記加湿促進部材に前記外箱外部の給水源からの水を供給する給水経路と、前記給水経路を開閉する給水弁と、前記送風装置の動作と、前記加湿促進部材の温度と、前記給水弁の開閉とを制御して前記衣類に対して加湿してしわを軽減するしわ取り運転を実行する制御装置と、を備える。前記制御装置は、前記しわ取り運転において、前記給水弁を開放して前記加湿促進部材に前記水を供給する準備工程と、前記衣類収容槽に送風せずに前記加湿促進部材の温度を高くする気化工程と、前記送風装置を駆動して前記気化工程により発生した蒸気を前記衣類収容槽に送る加湿工程と、を実行する。
【図面の簡単な説明】
【0008】
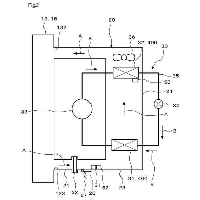
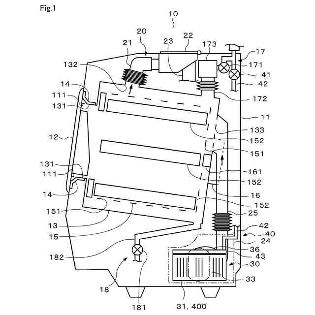
第1実施形態による衣類処理装置を洗濯乾燥機に適用した一例について概略構成を示す縦断側面図
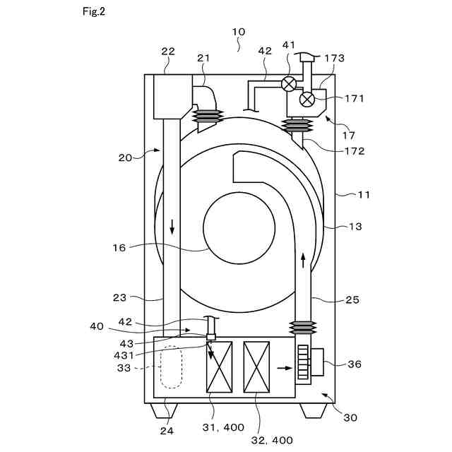
第1実施形態による衣類処理装置を洗濯乾燥機に適用した一例について概略構成を示す縦断背面図
第1実施形態による衣類処理装置を洗濯乾燥機に適用した一例について風路と乾燥ユニットと送風装置の概略構成を示す図
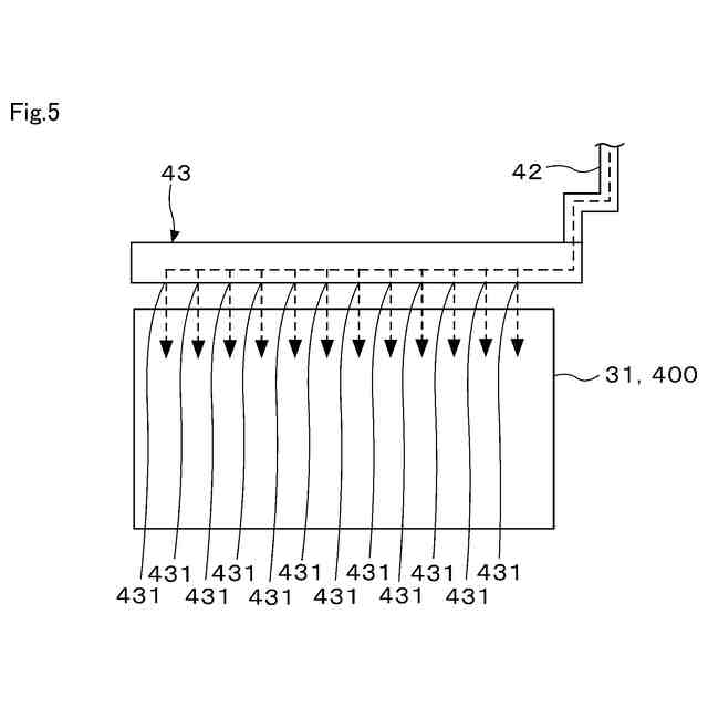
第1実施形態による衣類処理装置を洗濯乾燥機に適用した一例について加湿促進部材としての熱交換器周辺の構成を示す斜視図
第1実施形態による衣類処理装置を洗濯乾燥機に適用した一例について加湿促進部材としての熱交換器周辺の構成を図4の矢印Vの方向から示す概略図
第1実施形態による衣類処理装置を洗濯乾燥機に適用した一例について電気的構成を概略的に示すブロック図
第1実施形態のしわ取り運転における制御装置による各構成の動作の制御内容を示すタイミングチャート
第1実施形態の洗濯乾燥機の準備工程における制御装置による処理を示すフローチャート
第1実施形態の洗濯乾燥機の気化工程における制御装置による処理を示すフローチャート
第1実施形態の洗濯乾燥機の制御装置によるしわ取り運転の処理を示すフローチャート
第2実施形態による衣類処理装置を洗濯乾燥機に適用した一例について電気的構成を概略的に示すブロック図
第2実施形態の洗濯乾燥機の気化工程における制御装置による処理を示すフローチャート
第3実施形態のしわ取り運転の内容を示すチャート
第3実施形態の洗濯乾燥機の準備工程における制御装置による処理を示すフローチャート
第4実施形態による衣類処理装置を洗濯乾燥機に適用した一例について概略構成を示す縦断側面図
第4実施形態による衣類処理装置を洗濯乾燥機に適用した一例について電気的構成を概略的に示すブロック図
【発明を実施するための形態】
【0009】
以下、衣類処理装置を洗濯乾燥機に適用した複数の実施形態について図面を参照しながら説明する。なお、複数の実施形態について実質的に同一の要素には同一の符号を付してその説明を省略する。
【0010】
(第1実施形態)
図1から図10を参照して、第1実施形態について説明する。図1及び図2に示す洗濯乾燥機10は、乾燥機能を備えた横軸または斜め軸型のドラム式洗濯機である。
(【0011】以降は省略されています)
この特許をJ-PlatPat(特許庁公式サイト)で参照する
関連特許
個人
洗濯装置
2か月前
株式会社青柳
染め加工方法
1か月前
東レ株式会社
繊維断面の検査方法
1か月前
株式会社槌屋
加飾用表皮材
25日前
東レ株式会社
炭素繊維シートの製造方法
2か月前
有限会社高田紙器製作所
紙製洗濯バサミ
2か月前
東レ株式会社
樹脂含浸繊維束の製造方法
3か月前
花王株式会社
洗浄剤組成物
3か月前
東レ株式会社
ゴム補強用合成繊維コード
1か月前
株式会社創和
ボックス状洗濯ネット
1か月前
株式会社大阪ソーダ
撥水撥油性繊維処理剤
2か月前
個人
ポリエステル染色物の製造方法
20日前
リンナイ株式会社
衣類乾燥機
19日前
リンテック株式会社
耐水性基材
24日前
個人
洗濯用洗剤容器の蓋
2か月前
シャープ株式会社
洗濯機
2か月前
大阪瓦斯株式会社
衣類乾燥機
2か月前
大阪瓦斯株式会社
衣類乾燥機
2か月前
松本油脂製薬株式会社
繊維用処理剤及びその利用
2か月前
大阪瓦斯株式会社
衣類乾燥機
2か月前
ダイニック株式会社
ターポリン、及びその製造方法
20日前
個人
開閉角度調整可能な角型折畳みピンチハンガー
2か月前
シャープ株式会社
洗濯機
2か月前
シャープ株式会社
洗濯機
2か月前
東芝ライフスタイル株式会社
洗濯機
1か月前
シャープ株式会社
洗濯機
3か月前
東レ株式会社
抗菌性アクリル系繊維およびその製造方法
1か月前
株式会社コーワ
乾燥機のフィルター清掃装置及び乾燥機
24日前
東芝ライフスタイル株式会社
洗濯機
1か月前
東レ株式会社
人工皮革およびその製造方法ならびに雑貨
1か月前
シャープ株式会社
洗濯機
3か月前
個人
パイプ用係止、固定装置及び洗濯バサミ取り付け具
2か月前
シャープ株式会社
衣類処理システム
2か月前
個人
柿渋とその他色材を二種類以上掛け合わせた染色表現
3か月前
住友金属鉱山株式会社
赤外線遮蔽繊維構造物
25日前
パナソニックIPマネジメント株式会社
洗濯機
27日前
続きを見る
他の特許を見る