TOP
|
特許
|
意匠
|
商標
特許ウォッチ
Twitter
他の特許を見る
10個以上の画像は省略されています。
公開番号
2025139823
公報種別
公開特許公報(A)
公開日
2025-09-29
出願番号
2024038868
出願日
2024-03-13
発明の名称
X線撮影装置
出願人
株式会社島津製作所
代理人
個人
,
個人
,
個人
,
個人
,
個人
主分類
A61B
6/00 20240101AFI20250919BHJP(医学または獣医学;衛生学)
要約
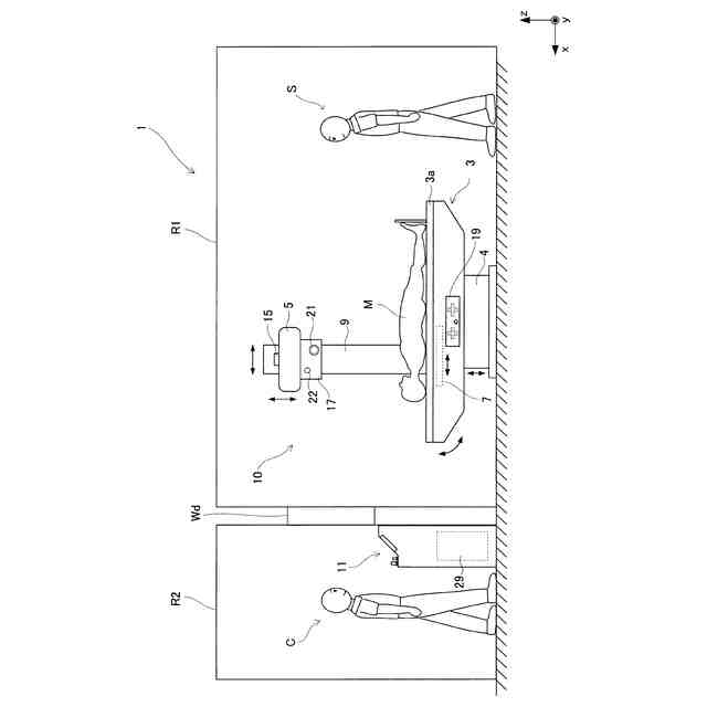
【課題】術者の負担を軽減できるとともに、検査に要する時間を短縮できるX線撮影装置を提供する。
【解決手段】
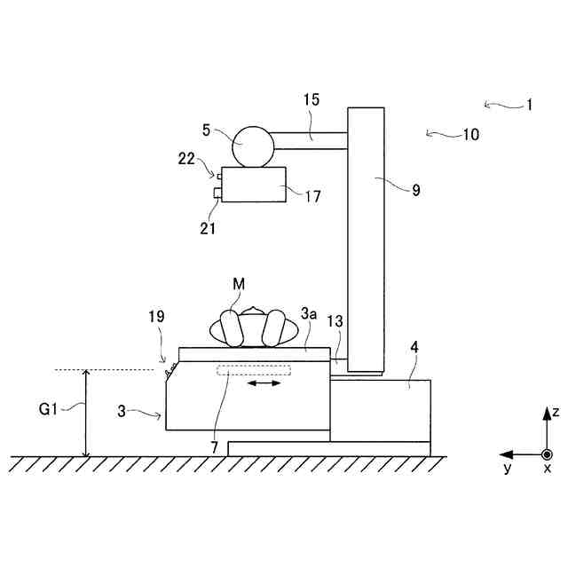
被検体MにX線を照射するX線管5と、被検体Mを透過したX線を検出するX線検出器7と、X線管5およびX線検出器7からなる撮像系のうち少なくとも一方の高さとともに高さが変化する位置に配設されており、術者Sによる入力操作を受け付ける操作部19と、術者Sの体格に関する情報を取得する光学カメラ21と、当該体格に関する情報に基づいて、術者Sの入力操作に適する高さF1となるように操作部19の高さを制御する高さ制御部45と、を備える。
【選択図】図2
特許請求の範囲
【請求項1】
被検体にX線を照射するX線管と、
前記被検体を透過したX線を検出するX線検出器と、
前記X線管および前記X線検出器からなる撮像系のうち少なくとも一方の高さとともに高さが変化する位置に配設されており、術者による入力操作を受け付ける操作部と、
前記術者の体格に関する情報を取得する体格情報取得部と、
前記体格に関する情報に基づいて、前記術者の入力操作に適する高さとなるように前記操作部の高さを制御する高さ制御部と
を備えるX線撮影装置。
続きを表示(約 520 文字)
【請求項2】
請求項1に記載のX線撮影装置において、
前記X線管と前記X線検出器との距離であるSIDの値を設定するSID設定部と、
前記高さ制御部によって前記操作部の高さが変更されることにより、予め設定された前記SIDの値を維持するように前記X線管または前記X線検出器の高さを制御する撮像系制御部と、
を備えるX線撮影装置。
【請求項3】
請求項1に記載のX線撮影装置において、
操作部は、前記撮像系の一方の高さとともに高さが変化する位置に配設される第1操作部と、前記撮像系の他方の高さとともに高さが変化する位置に配設される第2操作部とを有しており、
前記被検体に対する撮影の種別に応じて前記第1操作部と前記第2操作部とのうち前記高さ制御部による制御の対象を選択する制御対象選択部と、
を備えるX線撮影装置。
【請求項4】
請求項1に記載のX線撮影装置において、
前記体格情報取得部は、前記術者の画像を撮影する撮影部を備え、
前記撮影部が撮影した前記術者の画像に基づいて前記術者の入力操作に適する高さを算出する高さ算出部を備えるX線撮影装置。
発明の詳細な説明
【技術分野】
【0001】
本発明は、X線撮影装置に関する。
続きを表示(約 1,700 文字)
【0002】
従来のX線撮影装置として、被検体を載置させる天板と、天板を支持する基台と、基台を昇降させる昇降駆動部とを備える、昇降式の撮影装置が知られている。このような撮影装置では、天板または撮像系の駆動に関する入力操作を受け付ける操作卓を装置本体に備える。操作卓は天板または基台の前面部などに配設され、主にX線の撮影範囲を調整するための入力操作を受け付ける(例えば、特許文献1)。
【0003】
一例として、X線撮影装置を用いて穿刺または内視鏡検査などの施術を行う場合、術者は被検体の近傍において各種動作を行う必要がある。すなわち術者は、操作卓を用いてX線の撮影範囲を調整しつつ、天板に載置されている被検体に対して穿刺などの施術を行う。
【先行技術文献】
【特許文献】
【0004】
特開2021-23545号公報
【発明の概要】
【発明が解決しようとする課題】
【0005】
しかしながら、このような構成を有する従来例の場合には、次のような問題がある。
【0006】
従来のX線撮影装置において、操作卓の位置は天板または基台などとともに移動する。そのため、装置本体を動作させた結果、術者にとって操作しにくい位置に操作卓が移動して術者の負担が増大することが懸念される。具体的な例として、被検体を天板に載置させた後、操作卓を操作して天板を適切な高さに調整する工程が挙げられる。この場合、被検体が天板に載り易くするため、被検体を天板に載置させる時点において、操作卓は天板と共に低い位置に移動している。従って、天板を適切な高さに調整するために、術者は低い位置にある操作卓に向けて腰を屈める動作または腕を大きく伸ばす動作が必要となる。これらの動作は術者にとって負担が大きく、また施術が長期化する原因にもなる。
【0007】
従来のX線撮影装置において、装置本体に配設されている操作卓の高さを調整するための他の構成として、術者とは別の操作者が遠隔操作によって操作卓を昇降させる構成が挙げられる。遠隔操作を行う場合、術者は負担が大きい動作を行うことを回避できる。しかし遠隔操作を行う構成では、操作者は術者とコミュニケーションをとりつつ、遠くから術者および操作卓を目視することで、術者にとって適切な高さへと操作卓を昇降移動させる必要がある。当該方法では、術者にとって適切な高さを操作者が精度よく把握することは困難である。その結果、操作卓の高さを微調整する動作を繰りかえす頻度が高くなるので、操作者および術者の負担が大きくなることが懸念される。また、検査に要する時間の長期化も懸念される。
【0008】
本発明はこのような事情に鑑みてなされたものであって、術者の負担を軽減できるとともに、検査に要する時間を短縮できるX線撮影装置を提供することを目的とする。
【課題を解決するための手段】
【0009】
本発明は、このような目的を達成するために、次のような構成をとる。
すなわち本発明の態様は、被検体にX線を照射するX線管と、前記被検体を透過したX線を検出するX線検出器と、前記X線管および前記X線検出器からなる撮像系のうち少なくとも一方の高さとともに高さが変化する位置に配設されており、術者による入力操作を受け付ける操作部と、前記術者の体格に関する情報を取得する体格情報取得部と、前記体格に関する情報に基づいて、前記術者の入力操作に適する高さとなるように前記操作部の高さを制御する高さ制御部と、を備えるX線撮影装置に関する。
【発明の効果】
【0010】
本発明の態様におけるX線撮影装置では、術者による入力操作を受け付ける操作部と、術者の体格に関する情報を取得する体格情報取得部と、高さ制御部とを備えている。高さ制御部は、体格情報取得部が取得した術者の体格に関する情報に基づいて、術者の入力操作に適する高さとなるように、操作部の高さを制御する。
(【0011】以降は省略されています)
この特許をJ-PlatPat(特許庁公式サイト)で参照する
関連特許
株式会社島津製作所
X線撮影装置
5日前
株式会社島津製作所
ピッキング装置
4日前
株式会社島津製作所
データ管理装置およびデータ管理方法
11日前
株式会社島津製作所
データ管理装置およびデータ管理方法
11日前
株式会社島津製作所
質量分析データ処理方法及び質量分析装置
11日前
株式会社島津製作所
信号処理装置、信号処理システムおよび信号処理方法
11日前
パーソルテンプスタッフ株式会社
分析方法、管理システム、および管理装置
3日前
国立医薬品食品衛生研究所長
遠心フィールドフローフラクショネーションを使用する粒子の検出方法
5日前
個人
貼付剤
1か月前
個人
簡易担架
17日前
個人
足踏み器具
24日前
個人
短下肢装具
4か月前
個人
腋臭防止剤
17日前
個人
排尿補助器具
1か月前
個人
前腕誘導装置
4か月前
個人
嚥下鍛錬装置
4か月前
個人
歯の修復用材料
5か月前
個人
バッグ式オムツ
5か月前
個人
矯正椅子
6か月前
個人
汚れ防止シート
2か月前
個人
腰ベルト
1か月前
個人
胸骨圧迫補助具
2か月前
個人
ウォート指圧法
1か月前
個人
アイマスク装置
3か月前
個人
湿布連続貼り機。
3か月前
個人
哺乳瓶冷まし容器
4か月前
個人
排尿排便補助器具
19日前
個人
美容セット
26日前
個人
歯の保護用シール
6か月前
個人
陣痛緩和具
4か月前
個人
性行為補助具
4か月前
株式会社大野
骨壷
5か月前
株式会社コーセー
化粧料
1か月前
個人
エア誘導コルセット
3か月前
株式会社八光
剥離吸引管
6か月前
個人
治療用酸化防御装置
2か月前
続きを見る
他の特許を見る