TOP
|
特許
|
意匠
|
商標
特許ウォッチ
Twitter
他の特許を見る
10個以上の画像は省略されています。
公開番号
2025139420
公報種別
公開特許公報(A)
公開日
2025-09-26
出願番号
2024038340
出願日
2024-03-12
発明の名称
回転電気機械
出願人
ダイキン工業株式会社
代理人
弁理士法人前田特許事務所
主分類
H02K
1/18 20060101AFI20250918BHJP(電力の発電,変換,配電)
要約
【課題】磁気特性の低下を抑制すると共に、流体が通過する流路の流路抵抗を抑制する回転電気機械を提供する。
【解決手段】回転電気機械のステータコア(32)における径方向の外側の面である外側面(36,37)には、軸方向に延びる溝(36)が形成され、軸方向に直交する断面視において、溝(36)には、径方向の外側に向かって湾曲する第1凸部(61)と、径方向の内側に向かって湾曲する凹部(63)とが形成され、スロット(41)の周壁面と第1凸部(61)との間で最短となる長さは、溝(36)における第1凸部(61)を除いた部分とスロット(41)の周壁面との間の長さよりも短い。
【選択図】図4
特許請求の範囲
【請求項1】
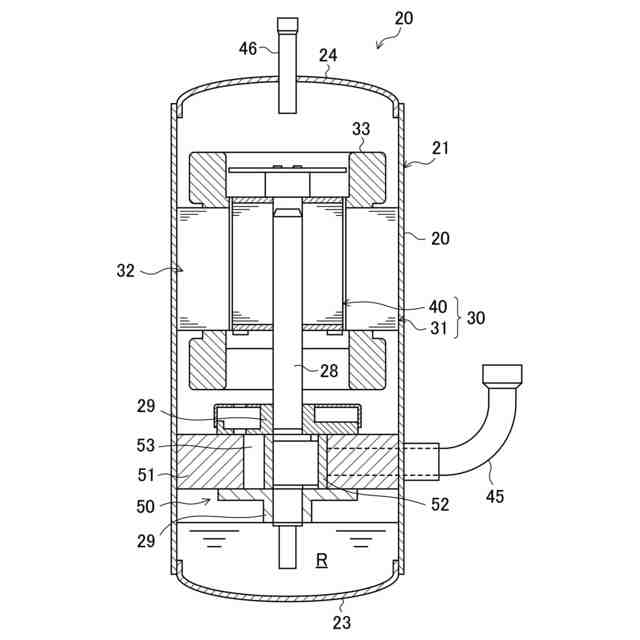
筒状の胴部(22)を有するケーシング(21)の内側に配置される回転電気機械であって、
筒状のヨーク部(34)と、該ヨーク部(34)から該ヨーク部(34)の径方向の内側に向かって延びると共に、該ヨーク部(34)の周方向に並ぶ(35)とを有するステータコア(32)と、前記周方向に隣り合う2つの前記ティース部(35)の間に形成されたスロット(41)に配置されたコイル(33)とを有し、前記胴部(22)の内側に配置されるステータ(31)と、
前記ステータコア(32)の内側に配置され、回転軸心を中心に回転するロータ(40)とを備え、
前記ステータコア(32)における前記径方向の外側の面である外側面(36,37)には、前記ヨーク部(34)の軸方向に延びる溝(36)が形成され、
前記軸方向に直交する断面視において、
前記溝(36)には、前記径方向の外側に向かって湾曲する第1凸部(61)と、前記径方向の内側に向かって湾曲する凹部(63)とが形成され、
前記スロット(41)の周壁面と前記第1凸部(61)との間で最短となる長さは、前記溝(36)における前記第1凸部(61)を除いた部分と前記スロット(41)の周壁面との間の長さよりも短い
回転電気機械。
続きを表示(約 780 文字)
【請求項2】
前記軸方向に直交する断面視において、
前記溝(36)には、前記外側面(36,37)において前記溝(36)を除いた部分に連続すると共に前記径方向の外側に向かって湾曲する第2凸部(62)が形成される
請求項1に記載の回転電気機械。
【請求項3】
前記軸方向に直交する断面視において、
前記第1凸部(61)と前記凹部(63)とは、滑らかな曲線によって互いに接続される
請求項1または2に記載の回転電気機械。
【請求項4】
前記軸方向に直交する断面視において、
前記溝(36)と、前記胴部(22)の内面との間における前記径方向の最大長さをDとし、
前記溝(36)の前記径方向に直交する方向の長さをWとしたときに、
2.5×D≦W≦5.0×D
を満たす
請求項1または2に記載の回転電気機械。
【請求項5】
前記軸方向に直交する断面視において、
前記ティース部(35)の前記径方向に直交する方向の長さをTとし、
前記スロット(41)の周壁面と、前記外側面(36,37)との間で最短となる長さをd1としたときに、
T≦1.7×d1
を満たす
請求項1または2に記載の回転電気機械。
【請求項6】
前記溝(36)は、前記外側面(36,37)のうち前記ティース部(35)の前記径方向の外側に形成される
請求項1または2に記載の回転電気機械。
【請求項7】
請求項1または2に記載の回転電気機械と、
前記回転電気機械に駆動される圧縮機構(50)とを備えた圧縮機。
【請求項8】
請求項1または2に記載の回転電気機械を備えた冷凍装置。
発明の詳細な説明
【技術分野】
【0001】
本開示は、回転電気機械に関するものである。
続きを表示(約 2,000 文字)
【背景技術】
【0002】
特許文献1に開示の回転電気機械では、ステータコアの径方向の外側面には冷媒の流路としての切り欠き部が形成される。この回転電気機械では、切り欠き部とティースの根元との間の距離を短くすることによって熱抵抗を増大させ、ステータコアとケーシングとを溶接により固定するに際して溶接点からティースへ伝達する熱を低減させている。
【先行技術文献】
【特許文献】
【0003】
特開2008-278673号公報
【発明の概要】
【発明が解決しようとする課題】
【0004】
ところで、冷凍サイクルを行う冷凍装置において圧縮機の動作時における圧縮機内の圧力が高い場合、冷凍機油は粘度の高い方が好ましい。圧縮機内での冷凍機油の流動性が抑えられ、油溜まりの油量を確保できるからである。
【0005】
ここで、圧縮機内の冷凍機油は切り欠き部を通過して再び油溜まりに貯留されるが、冷凍機油の粘度が高いほど切り欠き部を通過する際の流路抵抗が大きくなる。そのため、切り欠き部の流路面積(切り欠き部の延伸方向に直交する断面積)を大きくすることで、流路抵抗を抑えることができる。しかし、流路面積を大きくすると、ステータコアに肉薄部分が生じ、このような肉薄部分では磁路幅が狭くなって磁気飽和しやすくなる。磁気飽和すると、鉄損が増加し回転電気機械の効率の低下を招くおそれがある。
【0006】
本開示の目的は、磁気特性の低下を抑制すると共に、流体が通過する流路の流路抵抗を抑制する回転電気機械を提供することにある。
【課題を解決するための手段】
【0007】
本開示の第1の態様は、
筒状の胴部(22)を有するケーシング(21)の内側に配置される回転電気機械であって、
筒状のヨーク部(34)と、該ヨーク部(34)から該ヨーク部(34)の径方向の内側に向かって延びると共に、該ヨーク部(34)の周方向に並ぶ複数のティース部(35)とを有するステータコア(32)と、前記周方向に隣り合う2つの前記ティース部(35)の間に形成されたスロット(41)に配置されたコイル(33)とを有し、前記胴部(22)の内側に配置されるステータ(31)と、
前記ステータコア(32)の内側に配置され、回転軸心を中心に回転するロータ(40)とを備え、
前記ステータコア(32)における前記径方向の外側の面である外側面(36,37)には、前記ヨーク部(34)の軸方向に延びる溝(36)が形成され、
前記軸方向に直交する断面視において、
前記溝(36)には、前記径方向の外側に向かって湾曲する第1凸部(61)と、前記径方向の内側に向かって湾曲する凹部(63)とが形成され、
前記スロット(41)の周壁面と前記第1凸部(61)との間で最短となる長さは、前記溝(36)における前記第1凸部(61)を除いた部分と前記スロット(41)の周壁面との間の長さよりも短い。
【0008】
第1の態様では、溝(36)と胴部(22)の内面との間には軸方向に延びる流路が形成される。ここで、例えば、粘度の比較的高い冷凍機油がこの流路を流れる場合、冷凍機油の流路抵抗を抑えるために該流路の水力直径を大きくした方が好ましい。水力直径を大きくすると、流路の延伸方向に直交する断面積である流路面積が大きくなって、その分ステータコア(32)の外側面(36,37)が削られるため、ステータコア(32)には筒軸方向から見て比較的肉薄となる部分(すなわち、溝(36)とスロット(41)の周壁面と間の長さが比較的短くなる部分)が生じる。このような肉薄部分では磁束が形成される磁路幅が狭くなり、磁気飽和を生じる結果、鉄損が増大し回転電気機械の効率が低減する。
【0009】
そこで第1の態様では、溝(36)に第1凸部(61)が形成される。第1凸部(61)は、軸方向に直交する断面視において溝(36)から径方向の外側へ出っ張るように形成される。そのため、ステータコア(32)に磁路幅が狭くなる部分が形成されることを抑制できる。また、凹部(63)は径方向の内側に向かって凹むように形成されるため、流路面積の減少を抑制できる。これにより、回転電気機械の効率の低下を抑制すると共に、流体の流路抵抗を抑制できる。
【0010】
第2の態様は、第1の態様において、
前記軸方向に直交する断面視において、
前記溝(36)には、前記外側面(36,37)において前記溝(36)を除いた部分に連続すると共に前記径方向の外側に向かって湾曲する第2凸部(62)が形成される。
(【0011】以降は省略されています)
この特許をJ-PlatPat(特許庁公式サイト)で参照する
関連特許
ダイキン工業株式会社
冷凍装置
8日前
ダイキン工業株式会社
冷凍装置
4日前
ダイキン工業株式会社
冷凍装置
4日前
ダイキン工業株式会社
発電システム
4日前
ダイキン工業株式会社
固体冷凍装置
今日
ダイキン工業株式会社
空気調和装置
今日
ダイキン工業株式会社
回転電気機械
7日前
ダイキン工業株式会社
熱交換器及び冷凍装置
2日前
ダイキン工業株式会社
フルオロポリマーの製造方法
14日前
ダイキン工業株式会社
スクロール圧縮機、及び冷凍装置
今日
ダイキン工業株式会社
冷凍サイクル装置および冷凍機油
7日前
ダイキン工業株式会社
冷凍サイクル装置および冷凍機油
7日前
ダイキン工業株式会社
フルオロポリマー水性分散液の製造方法
14日前
ダイキン工業株式会社
金属カーバイドおよび炭化水素の製造方法
4日前
ダイキン工業株式会社
フルオロポリマーの製造方法および水性分散液
14日前
ダイキン工業株式会社
固定子コア、回転電機、圧縮機、および、冷凍装置
4日前
ダイキン工業株式会社
アルキレン鎖含有シラン化合物
14日前
ダイキン工業株式会社
冷媒を含む組成物、その使用、並びにそれを有する冷凍機及びその冷凍機の運転方法
2日前
ダイキン工業株式会社
故障診断システム、冷凍サイクルシステム、故障診断方法、故障診断プログラム及び空調機
4日前
ダイキン工業株式会社
フルオロポリマーの製造方法、ポリテトラフルオロエチレンの製造方法および組成物
3日前
ダイキン工業株式会社
環境推定装置、表示システム、空気調和システム、環境推定方法、プログラム、環境推定システム、および学習済みモデルの製造方法
今日
ダイキン工業株式会社
フッ素系ポリマー組成物、電気化学デバイス用バインダー、電極合剤、電極、及び、二次電池
今日
ダイキン工業株式会社
フルオロポリマーの製造方法、ポリテトラフルオロエチレンの製造方法、パーフルオロエラストマーの製造方法および組成物
今日
個人
電源装置
15日前
個人
バッテリ内蔵直流電源
14日前
株式会社FUJI
制御盤
4日前
オムロン株式会社
電源回路
8日前
オムロン株式会社
電源回路
8日前
オムロン株式会社
電源回路
8日前
トヨタ自動車株式会社
回転子
15日前
トヨタ自動車株式会社
回転子
今日
ニデック株式会社
モータの制御方法
22日前
大豊工業株式会社
モータ
14日前
東京応化工業株式会社
発電装置
8日前
ミサワホーム株式会社
居住設備
4日前
株式会社リコー
拡張アンテナ装置
7日前
続きを見る
他の特許を見る