TOP
|
特許
|
意匠
|
商標
特許ウォッチ
Twitter
他の特許を見る
10個以上の画像は省略されています。
公開番号
2025139348
公報種別
公開特許公報(A)
公開日
2025-09-26
出願番号
2024038232
出願日
2024-03-12
発明の名称
洗浄消毒装置及び蓋部
出願人
富士フイルム株式会社
代理人
個人
,
個人
,
個人
,
個人
,
個人
主分類
A61B
1/12 20060101AFI20250918BHJP(医学または獣医学;衛生学)
要約
【課題】蓋部の裏面部の水切れと拭き取り作業の作業性とを向上可能な洗浄消毒装置及び蓋部を提供する。
【解決手段】医療器具を収容する洗浄槽13と、洗浄槽13の開口部(洗浄槽開口部13a)を覆う蓋部(トップカバー16)と、蓋部の蓋本体部(カバー本体部16a)に設けられた凹部50であって、底部(凹部底部50b)と、底部及び蓋部本体部をつなぐ側壁部と、を備える凹部と、底部に形成され、洗浄槽内に連通する底部開口52と、を備え、側壁部が、蓋部本体部から底部に向かってテーパ形状となる傾斜部50cである。
【選択図】図9
特許請求の範囲
【請求項1】
医療器具の洗浄消毒装置において、
前記医療器具を収容する洗浄槽と、
前記洗浄槽の開口部を覆う蓋部と、
前記蓋部の蓋本体部に設けられた凹部であって、底部と、前記底部及び前記蓋本体部をつなぐ側壁部と、を備える凹部と、
前記底部に形成され、前記洗浄槽内に連通する底部開口と、
を備え、
前記側壁部が、前記蓋本体部から前記底部に向かってテーパ形状となる傾斜部である洗浄消毒装置。
続きを表示(約 660 文字)
【請求項2】
前記底部には、前記底部開口から前記洗浄槽に向かう方向に延出した筒部が設けられている請求項1に記載の洗浄消毒装置。
【請求項3】
前記蓋部には、前記凹部を覆うカバーが設けられている請求項1に記載の洗浄消毒装置。
【請求項4】
前記カバーには、フィルタを収容するフィルタ収容部が設けられている請求項3に記載の洗浄消毒装置。
【請求項5】
前記フィルタ収容部と前記底部との間には、前記底部の少なくとも前記底部開口を覆う内蓋が設けられており、
前記内蓋には、前記フィルタ収容部と前記底部とを連通する通気空間が形成されている請求項4に記載の洗浄消毒装置。
【請求項6】
前記内蓋が天面と外側面とを有し、
前記外側面に第1通気孔が形成されている請求項5に記載の洗浄消毒装置。
【請求項7】
前記フィルタ収容部には、前記内蓋が装着される内蓋装着部が設けられている請求項5に記載の洗浄消毒装置。
【請求項8】
前記フィルタ収容部は、前記内蓋の前記底部に対向する面側とは反対面側に前記フィルタを収容する請求項5に記載の洗浄消毒装置。
【請求項9】
前記カバーには、前記フィルタ収容部を覆う外蓋が設けられている請求項4に記載の洗浄消毒装置。
【請求項10】
前記外蓋には、第2通気孔が形成されている請求項9に記載の洗浄消毒装置。
(【請求項11】以降は省略されています)
発明の詳細な説明
【技術分野】
【0001】
本発明は、医療器具の洗浄消毒装置及びこの洗浄消毒装置の蓋部に関する。
続きを表示(約 1,800 文字)
【背景技術】
【0002】
使用済みの医療器具である内視鏡を洗浄及び消毒する洗浄消毒装置が知られている。洗浄消毒装置は、使用済みの内視鏡を収容する洗浄槽を備える。洗浄消毒装置は、洗浄槽内の使用済み内視鏡に対して洗浄消毒処理(リプロセス処理ともいう)を行う。洗浄消毒装置には、洗浄消毒処理中に洗浄液及び消毒液等が洗浄槽外に飛散することを防止するため、洗浄槽の開口部を覆うトップカバー(蓋部)が設けられている。このトップカバーは、洗浄消毒装置の装置本体に対して、洗浄槽の開口部を覆う閉じ位置と、洗浄槽の開口部を開放する開き位置と、に回動自在に設けられている。
【0003】
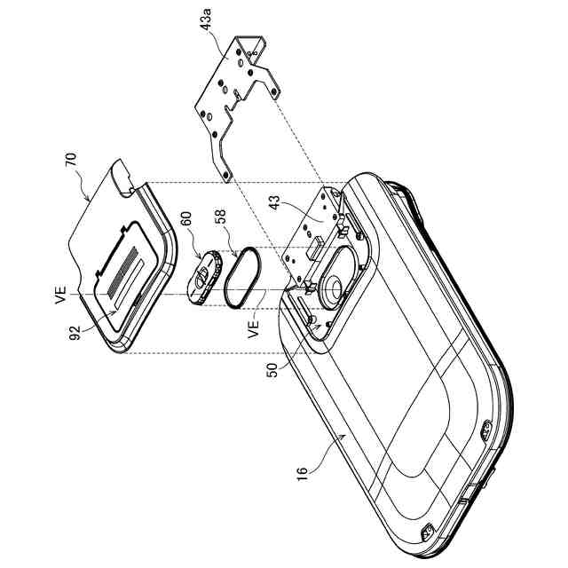
トップカバーには、洗浄槽の内部と外部とを連通して、洗浄槽の内外で気体を流通する通気路が形成されている。また、トップカバーには、フィルタ収容部(フィルタ装着部ともいう)が設けられている(特許文献1から3参照)。フィルタ収容部は、通気路の途中に配置されて洗浄槽内から外部に排出される気体を消臭する消臭フィルタを収容する。
【0004】
特許文献1及び特許文献2に記載のフィルタ収容部は、トップカバーの裏面部に凸状に設けられている。このフィルタ収容部は、トップカバーの裏面部から垂直方向に延びた垂直壁部と、この垂直壁部と連設して消臭フィルタの下面を覆う底部と、この底部に形成された通気用のスリット穴と、を備える。また、特許文献2に記載のフィルタ収容部のスリット穴は、その断面がクランク状に屈曲されている。
【0005】
特許文献3に記載のフィルタ収容部は、トップカバーの裏面部とは反対側の表面部に設けられている。ここで特許文献3に記載のトップカバーの一部にはその裏面部側から表面部側に凸状に突出した凸部が形成されており、特許文献3に記載のフィルタ収容部はこの凸部の表面部側に設けられている。このフィルタ収容部には通気口が設けられている。
【先行技術文献】
【特許文献】
【0006】
特開2022-128907公報
特開2015-070947公報
国際公開第2019/014968号
【発明の概要】
【発明が解決しようとする課題】
【0007】
使用済みの内視鏡の洗浄消毒処理後にトップカバーを閉じ位置から開き位置に回動させると、トップカバーの裏面部に付着した洗浄液及び消毒液等の液滴は、トップカバーの前端側から後端側に向かって流れ落ちた後、トップカバーの後端から洗浄槽内に落下する(上記特許文献1参照)。この際に、特許文献1及び特許文献2に記載のフィルタ収容部は、トップカバーの裏面部に凸状に設けられており、さらにこの裏面部から垂直方向に延びた垂直壁部を備えている。このため、この垂直壁部によってトップカバーの後端側に向けて流れ落ちる液滴の移動が妨げられて、トップカバーの裏面部に液滴が残る可能性がある。その結果、トップカバーの裏面部における液滴の水(液)切れが悪化してしまう。
【0008】
また、使用済みの内視鏡の洗浄消毒処理後、拭き取り用のクロス等を用いてトップカバーの裏面部に残る液滴の拭き取り(清掃)作業を行う場合に、フィルタ収容部の垂直壁部によりクロス等の移動が妨げられて拭き取り作業の作業性が悪化するおそれがある。
【0009】
特許文献3に記載の洗浄消毒装置では、トップカバーの表面部側に凸部を形成しているが、この凸部はトップカバーの裏面部側から見た場合には凹んでいる。このため、特許文献3に記載の洗浄消毒装置においても、使用済みの内視鏡の洗浄消毒処理後にトップカバーを閉じ位置から開き位置に回動させた場合に、トップカバーの前端側から後端側に向けて流れ落ちる液滴がこの凸部内に溜まるおそれがある。このため、トップカバーの裏面部における液滴の水(液)切れが悪化してしまう。
【0010】
また、特許文献3に記載の凸部は、トップカバーを開き位置に回動させた状態では、洗浄消毒装置の正面側から見た場合にこの正面側から遠ざかる方向に凹んでいる。その結果、作業者が洗浄消毒装置の正面側からトップカバーの裏面部の拭き取り作業を行う場合には、凸部(作業者から見た場合には凹部)の内部まで手を伸ばす必要があるので、拭き取り作業の作業性が悪くなる。
(【0011】以降は省略されています)
この特許をJ-PlatPat(特許庁公式サイト)で参照する
関連特許
富士フイルム株式会社
内視鏡
3日前
富士フイルム株式会社
内視鏡
3日前
富士フイルム株式会社
内視鏡
3日前
富士フイルム株式会社
内視鏡
3日前
富士フイルム株式会社
内視鏡
3日前
富士フイルム株式会社
システム
3日前
富士フイルム株式会社
塗布装置
3日前
富士フイルム株式会社
放射線撮影装置
3日前
富士フイルム株式会社
内視鏡補助具の操作装置
3日前
富士フイルム株式会社
超音波内視鏡及びシステム
3日前
富士フイルム株式会社
異方導電性部材及び接合体
4日前
富士フイルム株式会社
混合物、組成物、及び化合物
3日前
富士フイルム株式会社
感光性転写材料及びその製造方法
3日前
富士フイルム株式会社
フタロシアニン化合物の製造方法
3日前
富士フイルム株式会社
ウェブ切換装置及びウェブ切換方法
3日前
富士フイルム株式会社
医療支援装置、方法およびプログラム
3日前
富士フイルム株式会社
動作音抑制装置及びX線断層像撮影装置
4日前
富士フイルム株式会社
情報処理装置、情報処理方法、及びプログラム
3日前
富士フイルム株式会社
多層膜、光学部材、撮像機器および多層膜の製造方法
3日前
富士フイルム株式会社
医用画像撮影装置、及び医用画像撮影装置の制御方法
3日前
富士フイルム株式会社
画像表示装置、画像表示方法、及び画像表示プログラム
3日前
富士フイルム株式会社
情報処理装置、撮像装置、情報処理方法、及び情報処理プログラム
3日前
富士フイルム株式会社
情報処理装置、画像撮影システム、プログラム更新方法、及びプログラム更新プログラム
3日前
富士フイルム株式会社
不溶性担体を含む免疫学的測定試薬の製造方法、保存方法、測定対象物質の測定方法、および免疫学的測定試薬
3日前
富士フイルム株式会社
感活性光線性又は感放射線性樹脂組成物、感活性光線性又は感放射線性膜、パターン形成方法、及び電子デバイスの製造方法
4日前
富士フイルム株式会社
ポリイミド前駆体又はポリアミドイミド前駆体の製造方法、硬化性樹脂組成物の製造方法、硬化性樹脂組成物、及びポリイミド前駆体又はポリアミドイミド前駆体
3日前
個人
健康器具
7か月前
個人
鼾防止用具
7か月前
個人
短下肢装具
2か月前
個人
洗井間専家。
6か月前
個人
脈波測定方法
7か月前
個人
白内障治療法
7か月前
個人
嚥下鍛錬装置
3か月前
個人
前腕誘導装置
2か月前
個人
胸骨圧迫補助具
1か月前
個人
ホバーアイロン
6か月前
続きを見る
他の特許を見る