TOP
|
特許
|
意匠
|
商標
特許ウォッチ
Twitter
他の特許を見る
10個以上の画像は省略されています。
公開番号
2025139335
公報種別
公開特許公報(A)
公開日
2025-09-26
出願番号
2024038214
出願日
2024-03-12
発明の名称
画像処理装置、内視鏡システム、画像処理方法、及びプログラム
出願人
富士フイルム株式会社
代理人
弁理士法人太陽国際特許事務所
主分類
A61B
8/12 20060101AFI20250918BHJP(医学または獣医学;衛生学)
要約
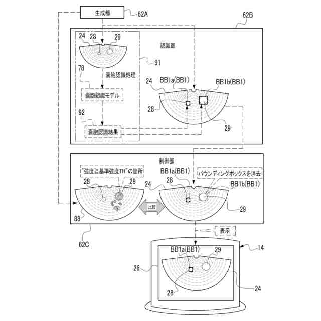
【課題】Bモード法で得られた超音波画像に対する学習済みモデルを用いた認識処理による観察対象領域の誤認識が生じた場合に、正認識結果を出力し、かつ、誤認識結果の出力を抑制することができる画像処理装置、内視鏡システム、画像処理方法、及びプログラムを提供する。
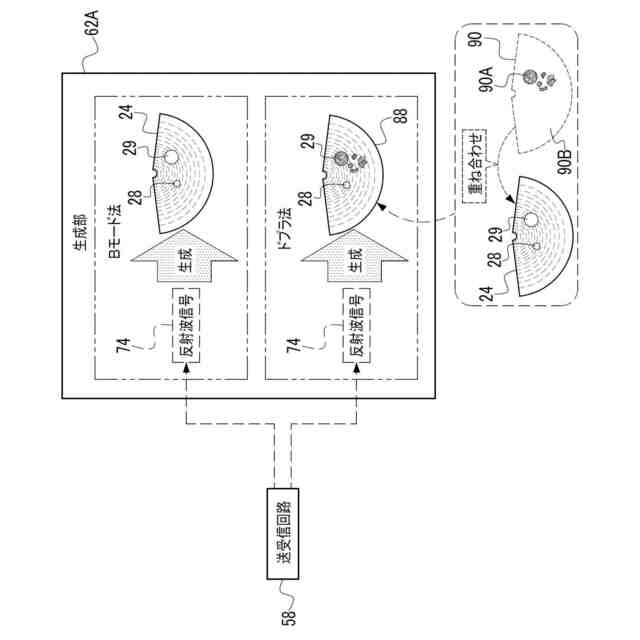
【解決手段】画像処理装置は、プロセッサを備える。プロセッサは、被検体に対する超音波診断においてBモード法 で得られ、かつ、被検体の観察対象領域が写っている超音波画像を学習済みモデルに入力することにより学習済みモデルに対して観察対象領域を認識させる認識処理が実行されることで得られた第1認識結果を取得する。プロセッサは、超音波診断においてBモード法と併用されるドプラ法で得られた血流分布情報に基づいて第1認識結果が変更された第2認識結果を出力する。
【選択図】図6
特許請求の範囲
【請求項1】
プロセッサを備え、
前記プロセッサは、
被検体に対する超音波診断においてBモード法で得られ、かつ、前記被検体の観察対象領域が写っている超音波画像を学習済みモデルに入力することにより前記学習済みモデルに対して前記観察対象領域を認識させる認識処理が実行されることで得られた第1認識結果を取得し、
前記超音波診断において前記Bモード法と併用されるドプラ法で得られた血流分布情報に基づいて前記第1認識結果が変更された第2認識結果を出力する
画像処理装置。
続きを表示(約 880 文字)
【請求項2】
前記観察対象領域は、病変であり、
前記第2認識結果は、前記病変と前記病変以外とを区別可能に前記第1認識結果が変更されることによって得られた情報である
請求項1に記載の画像処理装置。
【請求項3】
前記病変は、嚢胞である
請求項2に記載の画像処理装置。
【請求項4】
前記血流分布情報は、血流の強度を特定可能なマップであり、
前記第2認識結果は、前記マップ内の前記強度が基準強度以上の箇所に基づいて前記第1認識結果が変更された情報である
請求項2に記載の画像処理装置。
【請求項5】
前記学習済みモデルは、前記病変を認識させるための機械学習が行われることによって得られる
請求項2に記載の画像処理装置。
【請求項6】
前記第2認識結果は、前記病変と前記病変以外とを区別可能な情報である
請求項2に記載の画像処理装置。
【請求項7】
前記第2認識結果を出力することは、前記第2認識結果を前記病変と前記病変以外とを区別可能な可視情報として第1画面に表示することを含む
請求項2に記載の画像処理装置。
【請求項8】
前記観察対象領域は、血管であり、
前記血管は、前記血流分布情報から特定され、
前記第2認識結果は、前記血管と前記血管以外とを区別可能に前記第1認識結果が変更されることによって得られた情報である
請求項1に記載の画像処理装置。
【請求項9】
前記血管以外には病変が含まれており、
前記病変は、嚢胞である
請求項8に記載の画像処理装置。
【請求項10】
前記血流分布情報は、血流の強度を特定可能なマップであり、
前記第2認識結果は、前記マップ内の前記強度が基準強度未満の箇所に基づいて前記第1認識結果が変更された情報である
請求項8に記載の画像処理装置。
(【請求項11】以降は省略されています)
発明の詳細な説明
【技術分野】
【0001】
本開示は、画像処理装置、内視鏡システム、画像処理方法、及びプログラムに関する。
続きを表示(約 2,000 文字)
【背景技術】
【0002】
特許文献1には、取得部及び表示制御部を備える超音波診断装置が開示されている。特許文献1に記載の超音波診断装置において、取得部は、被検体内のスキャン領域に超音波を送信し、被検体内で反射された反射波の信号強度が輝度の明るさで表現されたBモード画像と、スキャン領域に含まれる関心領域のドプラ画像とを取得する。特許文献1に記載の超音波診断装置において、表示制御部は、取得部により取得されたBモード画像に重畳させてドプラ画像を表示部に表示させる。特許文献1に記載の超音波診断装置において、表示制御部は、取得部により取得された時系列のBモード画像およびドプラ画像の少なくとも一方に基づいて得られた特徴量を用いて、表示部に表示させるドプラ画像の表示状態を変更する。
【0003】
特許文献2には、送信制御部、検出部、評価部、及び表示画像制御部を備える超音波診断装置が開示されている。特許文献2に記載の超音波診断装置において、送信制御部は、生体組織に対し、第一の超音波を超音波プローブから送信させ、第一の超音波が送信された後に、第二の超音波を超音波プローブから送信させる。特許文献2に記載の超音波診断装置において、検出部は、第二の超音波の送信によって得られたエコー信号に基づいて、第一の超音波による生体組織内の物体の移動の有無を二次元領域内において検出する。特許文献2に記載の超音波診断装置において、評価部は、検出部による検出に基づいて、生体組織の注目部位に対する組織性状についての評価を行う。特許文献2に記載の超音波診断装置において、表示画像制御部は、評価部による評価に応じた画像を表示させる。検出部による物体の移動の有無を検出する処理は、カラードプラ処理又はBフロー処理であり、評価部は、カラードプラ処理によるドプラデータが得られた領域又はBフロー処理によるBフローデータが得られた領域の大きさに応じた評価を行う。
【0004】
特許文献3には、ゲート設定部、ドプラ処理部、表示部、及び画像拡大部を備える超音波診断装置が開示されている。特許文献3に記載の超音波診断装置において、ゲート設定部は、少なくとも血管領域が撮像されているBモード画像を画像解析することにより血管領域内にドプラゲートを設定する。特許文献3に記載の超音波診断装置において、ドプラ処理部は、プラゲート内のドプラデータに基づいてドプラ波形画像を生成する。特許文献3に記載の超音波診断装置において、表示部は、Bモード画像とドプラ波形画像とを表示する。特許文献3に記載の超音波診断装置において、画像拡大部は、ユーザによりBモード画像とドプラ波形画像の双方がフリーズされた場合に、ドプラゲートが含まれる血管領域を拡大した拡大Bモード画像を表示部に表示させる。
【先行技術文献】
【特許文献】
【0005】
特開2021-159696号公報
特開2016-047474号公報
国際公開第2020/110500号
【発明の概要】
【0006】
本開示に係る一つの実施形態は、Bモード法で得られた超音波画像に対する学習済みモデルを用いた認識処理による観察対象領域の誤認識が生じた場合に、正認識結果を出力し、かつ、誤認識結果の出力を抑制することができる画像処理装置、内視鏡システム、画像処理方法、及びプログラムを提供する。
【課題を解決するための手段】
【0007】
本開示に係る第1の態様は、プロセッサを備え、プロセッサが、被検体に対する超音波診断においてBモード法で得られ、かつ、被検体の観察対象領域が写っている超音波画像を学習済みモデルに入力することにより学習済みモデルに対して観察対象領域を認識させる認識処理が実行されることで得られた第1認識結果を取得し、超音波診断においてBモード法と併用されるドプラ法で得られた血流分布情報に基づいて第1認識結果が変更された第2認識結果を出力する、画像処理装置である。
【0008】
本開示に係る第2の態様は、観察対象領域が、病変であり、第2認識結果が、病変と病変以外とを区別可能に第1認識結果が変更されることによって得られた情報である、第1の態様に係る画像処理装置である。
【0009】
本開示に係る第3の態様は、病変が、嚢胞である、第2の態様に係る画像処理装置である。
【0010】
本開示に係る第4の態様は、血流分布情報が、血流の強度を特定可能なマップであり、第2認識結果が、マップ内の強度が基準強度以上の箇所に基づいて第1認識結果が変更された情報である、第2の態様又は第3の態様に係る画像処理装置である。
(【0011】以降は省略されています)
特許ウォッチbot のツイートを見る
この特許をJ-PlatPat(特許庁公式サイト)で参照する
関連特許
富士フイルム株式会社
内視鏡
1日前
富士フイルム株式会社
積層体
3日前
富士フイルム株式会社
内視鏡
1日前
富士フイルム株式会社
内視鏡
1日前
富士フイルム株式会社
内視鏡
1日前
富士フイルム株式会社
内視鏡
9日前
富士フイルム株式会社
内視鏡
1日前
富士フイルム株式会社
塗布装置
1日前
富士フイルム株式会社
システム
1日前
富士フイルム株式会社
情報処理装置
2日前
富士フイルム株式会社
超音波診断器
8日前
富士フイルム株式会社
超音波診断装置
8日前
富士フイルム株式会社
超音波診断装置
8日前
富士フイルム株式会社
超音波診断装置
4日前
富士フイルム株式会社
超音波診断装置
8日前
富士フイルム株式会社
超音波診断装置
8日前
富士フイルム株式会社
放射線撮影装置
1日前
富士フイルム株式会社
計測装置及び方法
4日前
富士フイルム株式会社
積層体及び包装体
2日前
富士フイルム株式会社
医療機器用カート
9日前
富士フイルム株式会社
内視鏡補助具の操作装置
1日前
富士フイルム株式会社
超音波内視鏡及びシステム
1日前
富士フイルム株式会社
異方導電性部材及び接合体
2日前
富士フイルム株式会社
マウント装置及び撮像装置
3日前
富士フイルム株式会社
X線管およびX線検査装置
9日前
富士フイルム株式会社
混合物、組成物、及び化合物
1日前
富士フイルム株式会社
回動抑制機構及びレンズ装置
2日前
富士フイルム株式会社
組成物、硬化物および光学部材
8日前
富士フイルム株式会社
導電性フィルム、タッチパネル
2日前
富士フイルム株式会社
感光性転写材料及びその製造方法
1日前
富士フイルム株式会社
フタロシアニン化合物の製造方法
1日前
富士フイルム株式会社
ウェブ切換装置及びウェブ切換方法
1日前
富士フイルム株式会社
医療支援装置、方法およびプログラム
1日前
富士フイルム株式会社
画像処理装置、方法およびプログラム
3日前
富士フイルム株式会社
画像処理装置、方法およびプログラム
8日前
富士フイルム株式会社
情報処理装置、及び情報処理プログラム
10日前
続きを見る
他の特許を見る