TOP
|
特許
|
意匠
|
商標
特許ウォッチ
Twitter
他の特許を見る
公開番号
2025144277
公報種別
公開特許公報(A)
公開日
2025-10-02
出願番号
2024043980
出願日
2024-03-19
発明の名称
内視鏡
出願人
富士フイルム株式会社
代理人
個人
,
個人
,
個人
,
個人
,
個人
主分類
A61B
1/00 20060101AFI20250925BHJP(医学または獣医学;衛生学)
要約
【課題】先端部本体と湾曲部との導通を確保しつつ先端部の細径化を図ることが可能な内視鏡を提供する。
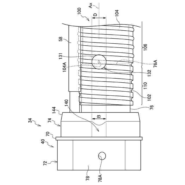
【解決手段】湾曲部32の接続リング38が接続される先端部本体40と、先端部本体40の基端部から延出され、先端部本体40の処置具挿通孔62に連通する接続パイプ76と、接続パイプ76に接続されるチューブ100と、を備え、チューブ100は、螺旋状の溝102と、コイル104が巻回された巻回部106と、コイル104が巻回されない非巻回部110と、を有し、先端部本体40には、接続リング38との接続部分に突出部140が設けられ、接続パイプ76には、チューブ100の非巻回部110が接続され、接続パイプ76の軸Ax方向と直交する方向から見た場合、コイル104の先端104Aの位置は、突出部140の領域Bを軸Ax方向に延長した仮想領域D内に形成される。
【選択図】図10
特許請求の範囲
【請求項1】
先端側に接続リングを有する湾曲部と、
処置具挿通孔を有し、前記接続リングが接続される先端部本体と、
前記先端部本体の基端部から延出され、前記処置具挿通孔に連通する接続パイプと、
前記接続パイプに接続されるチューブと、
を備え、
前記チューブは、前記チューブの外面の少なくとも一部に形成された螺旋状の溝と、前記溝にコイルが巻回された巻回部と、前記コイルが巻回されない非巻回部と、を有し、
前記先端部本体には、前記接続リングとの接続部分の一部に突出部が設けられ、
前記接続パイプには、前記チューブのうち前記非巻回部が接続され、
前記接続パイプの軸方向と直交する方向から見た場合、前記巻回部における前記コイルの先端の位置は、前記突出部の領域を前記軸方向に延長した仮想領域内に形成される、
内視鏡。
続きを表示(約 680 文字)
【請求項2】
前記コイルの先端は、前記接続パイプの基端に突き当たる位置に配置される、
請求項1に記載の内視鏡。
【請求項3】
前記突出部の外周は円弧形状である、
請求項1に記載の内視鏡。
【請求項4】
前記突出部の基端部には、前記先端部本体への前記接続リングの接続を案内可能な案内用テーパ面が設けられる、
請求項3に記載の内視鏡。
【請求項5】
前記コイルの先端を含む位置には接着剤を塗布した接着層を備え、
前記接着層は、前記仮想領域内に形成される、
請求項1から4のいずれかの1項に記載の内視鏡。
【請求項6】
前記先端部本体は、
前記接続リングの先端が突き当てられるフランジ部と、
前記フランジ部の先端側に設けられた平坦部と、
を有し、
前記突出部は、前記平坦部の形成位置の前記フランジ部より基端側に設けられる、
請求項1から4のいずれか1項に記載の内視鏡。
【請求項7】
前記接着層は、前記湾曲部の内周面に直接対面している、
請求項5に記載の内視鏡。
【請求項8】
前記チューブは、前記非巻回部の少なくとも一部に前記溝を形成しない溝非形成部を有する、
請求項1から4のいずれか1項に記載の内視鏡。
【請求項9】
前記チューブは、前記非巻回部の前記溝を接着剤で埋める接着剤塗布溝部を有する、
請求項1から4のいずれか1項に記載の内視鏡。
発明の詳細な説明
【技術分野】
【0001】
本発明は、医療分野において利用される内視鏡に関する。
続きを表示(約 1,000 文字)
【背景技術】
【0002】
医療分野において気管支鏡及び超音波内視鏡などの各種の内視鏡が利用されている。内視鏡は、術者が操作する操作部と、操作部に連設されて被検体に挿入される挿入部と、を備えている。
【0003】
このような内視鏡では、操作部に設けられた処置具導入口から各種の処置具を導入し、この処置具を、挿入部の先端部に開口した処置具導出口から外部に導出して処置に用いる。また、内視鏡の挿入部の内部には、例えば、処置具が挿通される処置具挿通チューブ(チャンネルともいう)、撮像素子に接続される信号ケーブル、及び、照明光を供給するライトガイドなどの複数の内蔵物が挿通配置されている。
【0004】
特許文献1には、先端硬質部に設けた処置具導出通路に口金を介して接続される処置具挿通チューブを有する内視鏡が開示されている。
【0005】
特許文献2には、外周に設けた螺旋状の溝内に硬質線を巻回し、先端構成部にチューブ接続金具を介して接続される処置具挿通用チャンネルを有する内視鏡が開示されている。
【0006】
特許文献3には、先端部本体の筒状内周面全体を覆う鉗子挿通用チューブを有する内視鏡が開示されている。
【0007】
特許文献4には、先端構成部の突出部の雄ねじ部に雌ねじ部を螺合させて接続される鉗子挿通用のチャンネルチューブを有する内視鏡が開示されている。
【先行技術文献】
【特許文献】
【0008】
特開2008-229067号公報
実開平05-9503号公報
特開2005-237557号公報
特開平05-49593号公報
【発明の概要】
【発明が解決しようとする課題】
【0009】
内視鏡の挿入部の先端部については、挿入性を考慮して可能な限り細径化(小径化)したいという要望がある。先端部の細径化を図り、強度的においても十分なものとするには、先端部本体を金属で構成することが効果的である。
【0010】
しかしながら、先端部本体を金属で構成した場合、先端部本体と、その基端側の金属部材との間で導通を図るために先端部本体の基端側に接続される湾曲部との間で導通を図る必要があり、その導通構成によっては先端部の細径化が困難になる場合がある。
(【0011】以降は省略されています)
この特許をJ-PlatPat(特許庁公式サイト)で参照する
関連特許
富士フイルム株式会社
内視鏡
3日前
富士フイルム株式会社
超音波探触子
4日前
富士フイルム株式会社
超音波探触子
4日前
富士フイルム株式会社
超音波診断器
2日前
富士フイルム株式会社
超音波診断装置
6日前
富士フイルム株式会社
超音波診断装置
2日前
富士フイルム株式会社
超音波診断装置
2日前
富士フイルム株式会社
超音波診断装置
2日前
富士フイルム株式会社
超音波診断装置
2日前
富士フイルム株式会社
医療機器用カート
3日前
富士フイルム株式会社
医療用X線測定装置
6日前
富士フイルム株式会社
ゼリーボトルハンガ
4日前
富士フイルム株式会社
配線基板の製造方法
6日前
富士フイルム株式会社
X線管およびX線検査装置
3日前
富士フイルム株式会社
ズームレンズおよび撮像装置
6日前
富士フイルム株式会社
組成物、硬化物および光学部材
2日前
富士フイルム株式会社
超音波診断装置の手押しハンドル
4日前
富士フイルム株式会社
磁気共鳴撮像装置及び画像処理方法
4日前
富士フイルム株式会社
画像処理装置、方法およびプログラム
2日前
富士フイルム株式会社
情報処理装置、方法およびプログラム
6日前
富士フイルム株式会社
情報処理装置、及び情報処理プログラム
4日前
富士フイルム株式会社
情報処理装置、及び情報処理プログラム
4日前
富士フイルム株式会社
情報処理装置、及び情報処理プログラム
4日前
富士フイルム株式会社
情報処理装置、及び情報処理プログラム
3日前
富士フイルム株式会社
支援装置、支援方法、及び支援プログラム
2日前
富士フイルム株式会社
磁気共鳴撮像装置及び中心周波数の補正方法
2日前
富士フイルム株式会社
超音波診断装置用カートおよび超音波診断ユニット
3日前
富士フイルム株式会社
超音波診断装置用カートおよび超音波診断ユニット
2日前
富士フイルム株式会社
超音波診断装置用カートおよび超音波診断ユニット
2日前
富士フイルム株式会社
画像処理装置、画像処理方法、及び画像処理プログラム
2日前
富士フイルム株式会社
画像処理装置、画像処理方法、及び画像処理プログラム
2日前
富士フイルム株式会社
インクジェット記録方法、メラミン化粧板の製造方法、及びメラミン化粧板
2日前
富士フイルム株式会社
画像処理装置、方法およびプログラム、並びに学習装置、方法およびプログラム
2日前
富士フイルム株式会社
焦点制御装置、焦点制御装置の作動方法、焦点制御装置の作動プログラム、並びに撮像装置
4日前
富士フイルム株式会社
転写フィルム、転写フィルムの製造方法、硬化層の製造方法、及び、半導体パッケージの製造方法
2日前
富士フイルム株式会社
露出制御装置、露出制御装置の作動方法、露出制御装置の作動プログラム、焦点制御装置、並びに撮像装置
6日前
続きを見る
他の特許を見る