TOP
|
特許
|
意匠
|
商標
特許ウォッチ
Twitter
他の特許を見る
公開番号
2025142843
公報種別
公開特許公報(A)
公開日
2025-10-01
出願番号
2024042428
出願日
2024-03-18
発明の名称
磁気共鳴撮像装置及び画像処理方法
出願人
富士フイルム株式会社
代理人
弁理士法人山王坂特許事務所
主分類
A61B
5/055 20060101AFI20250924BHJP(医学または獣医学;衛生学)
要約
【課題】体動補正によるSN比劣化を極力回避しながら、適切な体動補正を行うことを可能にする。
【解決手段】体動補正を行う演算部は、体動補正前の画像のSN比と体動補正後の画像のSN比を推定し、体動補正によるSN比の劣化を判断し、それに応じて適切な補正処理を選択する。またこのような体動補正処理を適切に行うため、体動補正に係るパラメータを表示し且つユーザ指定を受け付けるユーザインタフェイスを備える。
【選択図】図2
特許請求の範囲
【請求項1】
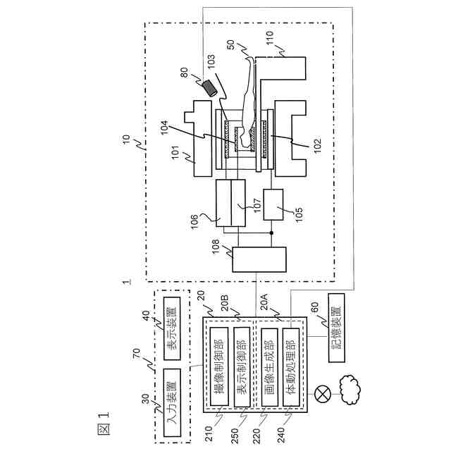
被検体から発生する核磁気共鳴信号を計測し、前記被検体の画像を生成するための計測データを収集する撮像部と、前記計測データを用いた演算を行う演算部と、前記撮像部及び前記演算部の制御を行う制御部と、を備え
前記演算部は、
前記計測データにおいて、前記被検体の体動を検出したときに収集した核磁気共鳴信号を体動影響データ(movement-affected data)として特定する体動影響データ特定部と、
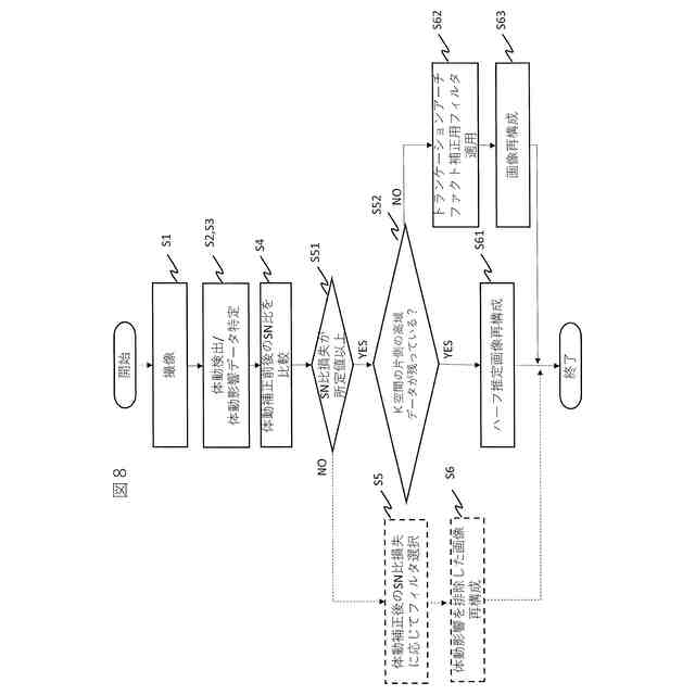
前記体動影響データを除去する前の第1の計測データから生成される第1の画像の信号ノイズ比、及び、前記体動影響データを除外した後の第2の計測データから生成される第2の画像の信号ノイズ比を比較するSNR比較部と、
前記SNR比較部の比較結果に応じて、前記第2の計測データ及び前記第2の画像の少なくとも一方に適用する補正処理を選択し、選択された補正処理を行って前記被検体の画像を生成する画像生成部と、を備えることを特徴とする磁気共鳴撮像装置。
続きを表示(約 1,100 文字)
【請求項2】
請求項1記載の磁気共鳴撮像装置であって、
前記SNR比較部は、前記第2の画像の信号ノイズ比の損失を算出し、
前記画像生成部は、前記信号ノイズ比の損失に応じて、予め設定された複数の補正処理のいずれかを選択することを特徴とする磁気共鳴撮像装置。
【請求項3】
請求項1に記載の磁気共鳴撮像装置であって、
前記SNR比較部は、前記第1の計測データの倍速率、及び、前記第2の計測データの間引き率を用いて、前記第1の画像の信号ノイズ比、及び、前記第2の画像の信号ノイズ比を推定することを特徴とする磁気共鳴撮像装置。
【請求項4】
請求項2に記載の磁気共鳴撮像装置であって、
前記予め設定された複数の補正処理は、フィルタを用いた処理及び欠損データの推定処理を含むことを特徴とする磁気共鳴撮像装置。
【請求項5】
請求項2に記載の磁気共鳴撮像装置であって、
前記予め設定された複数の補正処理は、強度または種類の異なる複数のフィルタを用いた処理であることを特徴とする磁気共鳴撮像装置。
【請求項6】
請求項5に記載の磁気共鳴撮像装置であって、
前記フィルタは、ハニング、ハミング、ガウス、カイザー・ブラックマン、及びフェルミのいずれかの窓関数、または、いずれか2以上を組み合わせた窓関数を有するフィルタであることを特徴とする磁気共鳴撮像装置。
【請求項7】
請求項1に記載の磁気共鳴撮像装置であって、
前記画像生成部は、前記SNR比較部の比較結果、及び、前記体動影響データのk空間上の配置に応じて、補正処理を選択することを特徴とする磁気共鳴撮像装置。
【請求項8】
請求項7に記載の磁気共鳴撮像装置であって、
前記画像生成部は、前記体動影響データの、k空間の高域に存在する割合が予め定めた値以上の時に、前記補正処理としてトランケーションフィルタの処理を選択することを特徴とする磁気共鳴撮像装置。
【請求項9】
請求項7に記載の磁気共鳴撮像装置であって、
前記画像生成部は、前記体動影響データの、k空間の高域に存在する割合が予め定めた値以上の時に、前記補正処理として計測データのハーフ推定処理を選択することを特徴とする磁気共鳴撮像装置。
【請求項10】
請求項1に記載の磁気共鳴撮像装置であって、
計測データに対し行う体動補正に関するパラメータを表示するとともに、ユーザによる前記パラメータの設定を受け付けるUI部をさらに備えることを特徴とする磁気共鳴撮像装置。
(【請求項11】以降は省略されています)
発明の詳細な説明
【技術分野】
【0001】
本発明は、磁気共鳴撮像装置(以下、MRI装置という)及びMRI装置で収集した計測データの処理方法に係り、特に体動の影響を低減するための体動補正を伴う画像処理方法に関する。
続きを表示(約 1,800 文字)
【背景技術】
【0002】
MRI装置における撮像では、撮像中の検査対象(被検体)の体動によって、アーチファクトが発生し画質が低下する。体動には、呼吸動や心拍などの被検体の周期的な動きのほかに突発的な被検体の動きなども含まれ、体動の種類に応じて、体動アーチファクトを低減する技術が種々提案されている。
【0003】
従来の体動補正技術として、MRI装置とは別に設置されたカメラなどの体動検知装置から得た体動情報、或いは、MRI装置でナビゲータ或いはナビゲータエコーと呼ばれる体動検知用の核磁気共鳴信号又は計測データから検出した体動情報を用いて、被検体の画像生成用の計測データのうち、体動が検知されたときに収集したデータ(以下、体動影響データという)を特定し、体動影響データを除去或いは補正して画像を再構成する技術が提案されている(特許文献1)。
【0004】
体動影響データの処理についても種々の手法が知られており、例えば、体動影響データを計測データから除去し、除去後に残った計測データを用いて圧縮センシングやパラレルイメージングによる画像再構成法を適用して画像を生成する手法、体動影響データ(除去されるデータ)の周囲に体動の影響を受けていないデータがある場合に、その周囲のデータを用いて、或いは別途取得した参照データなどを用いて、体動影響データを補正する手法(特許文献2)などがある。
【0005】
また特許文献3には、体動のうち、眼球や皮膚の動きなどの非剛性運動について、計測データから動きのある部分を検出して、動きのある部分のデータを除去し、除去されずに残った計測データの部分と、除去前の計測データから再構成した画像とを用いて、体動補正された画像を再構成することが記載されている。
【先行技術文献】
【特許文献】
【0006】
特開2023-22669号公報
特開2020-130867号公報
特表2015-536746号公報
【発明の概要】
【発明が解決しようとする課題】
【0007】
体動影響データを除去して画像を再構成した場合には、信号ノイズ比(以下、SN比もしくはSNRと略す)が低下するという課題がある。SN比の劣化は、受信コイルの構成や除去するデータの量などによっても異なるが、従来、体動補正後のSN比劣化については十分検討されていない。例えば特許文献1では、体動の種類(周期的な体動か突発的な体動かなど)に応じて、再構成の手法を異ならせたり、再計測の要否を判断したりする手法が開示されているが、体動補正後のSN比の劣化を考慮した体動補正手法については記載されていない。
【0008】
特許文献3には、体動アーチファクトを含むが高SN比である画像(即ち体動のあるデータを除去前の計測データから再構成した画像)と、体動のあるデータを除去した後のデータとを用いて画像を再構成し、高SN比を保ちながら体動アーチファクトを低減することが提案されているが、この技術は非剛性運動のような特定の局所的体動を前提としており、被検体の突発的な動きのような剛性運動の補正には向いていない。
また体動補正は、撮像の状況やどのような体動が生じているかに応じて、柔軟に対応することが望まれるが、従来技術では、撮像の状況等に合わせて、柔軟にSN比劣化を抑制するための手段は提供されていない。
【0009】
本発明は、体動補正によるSN比劣化を極力回避しながら、適切な体動補正を行うことを可能にする技術を提供することを課題とする。またSN比劣化に対し状況に合わせた柔軟な対応が可能な技術を提供することを課題とする。
【課題を解決するための手段】
【0010】
本発明は、MRI装置において、体動補正を行う演算部が、体動補正前の画像のSN比と体動補正後の画像のSN比を推定し、体動補正によるSN比の劣化を判断し、それに応じて適切な補正処理を選択する。またこのような体動補正処理を適切に行うため、体動補正に係るパラメータを表示し且つユーザ指定を受け付けるユーザインタフェイスを備える。
(【0011】以降は省略されています)
この特許をJ-PlatPat(特許庁公式サイト)で参照する
関連特許
富士フイルム株式会社
内視鏡
1日前
富士フイルム株式会社
レンズ装置
4日前
富士フイルム株式会社
超音波探触子
2日前
富士フイルム株式会社
超音波探触子
2日前
富士フイルム株式会社
超音波診断器
今日
富士フイルム株式会社
超音波診断装置
4日前
富士フイルム株式会社
超音波診断装置
今日
富士フイルム株式会社
超音波診断装置
今日
富士フイルム株式会社
超音波診断装置
今日
富士フイルム株式会社
超音波診断装置
今日
富士フイルム株式会社
医療機器用カート
1日前
富士フイルム株式会社
ゼリーボトルハンガ
2日前
富士フイルム株式会社
配線基板の製造方法
4日前
富士フイルム株式会社
医療用X線測定装置
4日前
富士フイルム株式会社
洗浄消毒装置及び蓋部
7日前
富士フイルム株式会社
X線管およびX線検査装置
1日前
富士フイルム株式会社
内視鏡の操作部及び内視鏡
7日前
富士フイルム株式会社
ズームレンズおよび撮像装置
4日前
富士フイルム株式会社
内視鏡の操作部、及び内視鏡
7日前
富士フイルム株式会社
組成物、硬化物および光学部材
今日
富士フイルム株式会社
超音波診断装置の手押しハンドル
2日前
富士フイルム株式会社
磁気共鳴撮像装置及び画像処理方法
2日前
富士フイルム株式会社
画像処理装置、方法及びプログラム
8日前
富士フイルム株式会社
画像処理装置、方法およびプログラム
今日
富士フイルム株式会社
情報処理装置、方法およびプログラム
4日前
富士フイルム株式会社
撮影制御装置、方法およびプログラム
7日前
富士フイルム株式会社
医用画像取得装置及び画像生成システム
8日前
富士フイルム株式会社
情報処理装置、及び情報処理プログラム
2日前
富士フイルム株式会社
情報処理装置、及び情報処理プログラム
2日前
富士フイルム株式会社
情報処理装置、及び情報処理プログラム
1日前
富士フイルム株式会社
情報処理装置、及び情報処理プログラム
2日前
富士フイルム株式会社
支援装置、支援方法、及び支援プログラム
今日
富士フイルム株式会社
放射線画像処理装置、方法およびプログラム
7日前
富士フイルム株式会社
放射線画像処理装置、方法およびプログラム
7日前
富士フイルム株式会社
磁気共鳴撮像装置及び中心周波数の補正方法
今日
富士フイルム株式会社
超音波診断装置用カートおよび超音波診断ユニット
今日
続きを見る
他の特許を見る