TOP
|
特許
|
意匠
|
商標
特許ウォッチ
Twitter
他の特許を見る
10個以上の画像は省略されています。
公開番号
2025139652
公報種別
公開特許公報(A)
公開日
2025-09-29
出願番号
2024038598
出願日
2024-03-13
発明の名称
レンズ装置
出願人
富士フイルム株式会社
代理人
弁理士法人小林国際特許事務所
主分類
G02B
7/02 20210101AFI20250919BHJP(光学)
要約
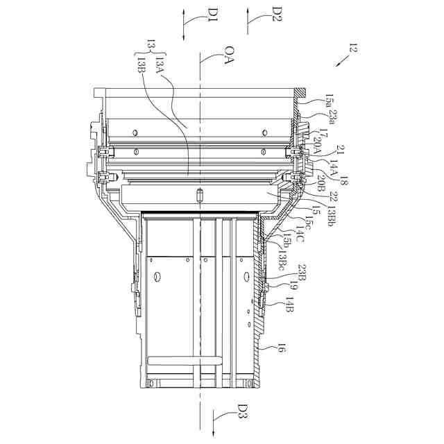
【課題】操作リングを外部から駆動するときに、操作リングに設けられている第1歯車部と第2歯車部との何れを使用した場合においても摺動面に無理な力がかかるのを防止するレンズ装置を提供する。
【解決手段】レンズ部13と、第1歯車部18と第2歯車部19を有しレンズ部13の移動を操作する操作リング14と、レンズ鏡胴16に固定され、レンズ部13の光軸方向D1の移動を支持する固定部材15とを有している。固定部材15と操作リング14とは互いに摺動しながら相対移動し、摺動する摺動部23は、固定部材15又は操作リング14の少なくとも何れかに形成された凸部24で摺動する構成である。
【選択図】図3
特許請求の範囲
【請求項1】
レンズ部と、
第1歯車部と第2歯車部を有し前記レンズ部の移動を操作する操作リングと、
レンズ鏡胴に固定され、前記レンズ部の光軸方向の移動を支持する固定部材とを有し、
前記固定部材と前記操作リングとは互いに摺動しながら相対移動し、
前記摺動する摺動部は、前記固定部材又は前記操作リングの少なくとも何れかに形成された凸部で摺動する、
レンズ装置。
続きを表示(約 1,100 文字)
【請求項2】
前記操作リングは、前記第1歯車部を有する第1操作リングと、前記第2歯車部を有する第2操作リングと、前記第1操作リングと前記第2操作リングとを連結し、前記第1操作リング及び前記第2操作リングの回転を、前記レンズ部の光軸方向の移動に変換させる連結部材とを有し、
前記摺動部は、前記固定部材又は前記連結部材の少なくとも何れかに形成された凸部で摺動する、
請求項1記載のレンズ装置。
【請求項3】
前記固定部材は、前記操作リングの回転に伴う前記レンズ部の回転を抑制して前記レンズ部の移動をガイドするガイド溝を有する、
請求項1又は2に記載のレンズ装置。
【請求項4】
前記摺動部は、第1摺動部と、第2摺動部とを有し、
前記レンズ部の光軸に交差する方向視において、
前記第1摺動部は、前記第1歯車部に対向する位置から被写体側に向かう領域に配置され、
前記第2摺動部は、前記第2歯車部に対向する位置から結像側に向かう領域に配置される、
請求項1記載のレンズ装置。
【請求項5】
前記摺動部は、第1摺動部と、第2摺動部とを有し、
前記第1歯車部及び前記第2歯車部の少なくとも何れかに外力が加わった時に発生する前記第1摺動部での第1反力と前記第2摺動部での第2反力とが同じ方向となるように、前記第1摺動部及び前記第2摺動部が配置される、
請求項1記載のレンズ装置。
【請求項6】
前記レンズ部の光軸に交差する方向視において、
前記第1摺動部は、前記第1歯車部よりも被写体側に配置され、
前記第2摺動部は、前記第2歯車部と重複領域を持って配置される、
請求項4又は5に記載のレンズ装置。
【請求項7】
前記第1歯車部の第1モジュールと前記第2歯車部の第2モジュールとは大きさが異なる、
請求項1に記載のレンズ装置。
【請求項8】
前記第1モジュールは、前記第2モジュールよりも大きい、
請求項7に記載のレンズ装置。
【請求項9】
光軸に交差する方向視において、
前記第1歯車部は、前記ガイド溝の内側に配置される、
請求項3に記載のレンズ装置。
【請求項10】
前記第1歯車部及び前記第2歯車部は、前記操作リングの周方向に形成され、
前記第1歯車部は、前記第2歯車部よりも直径が大きく、
前記第1摺動部は、前記第2摺動部よりも幅が小さい、
請求項4に記載のレンズ装置。
発明の詳細な説明
【技術分野】
【0001】
本発明は、レンズ装置に関する。
続きを表示(約 1,900 文字)
【背景技術】
【0002】
特許文献1には、光学素子群を有する固定鏡筒と、固定鏡筒の外周に設けられ、光軸を中心とした回転方向に回転されることで、レンズ鏡筒の操作を行う第1の操作環と、を備えたレンズ鏡筒において、第1の操作環と連動して回転する第2の操作環と、第1の操作環に設けられ、固定鏡筒と摺動することによって第1の操作環の回転時の抵抗力となる摩擦力を発生させる摩擦部材と、をさらに備え、第1の操作環と第2の操作環との相対的な回転方向位置のずれ量を変化させることによって、摩擦部材と固定鏡筒との間で発生する摩擦力を変化させるものについて記載されている。外部接続の駆動ユニットを使用する場合において、駆動ユニットでの電動駆動時における負荷抑制と、手動操作時における操作負荷発生の両立を可能にする。
【0003】
特許文献2には、光学レンズの駆動を手動駆動と電動駆動の何れか一方に切換えて撮影を行う撮影装置において、光学レンズの駆動時に回転可能な回転部材と、光学レンズの外側に位置する固定部材と、回転部材と固定部材の双方に接触する摺動トルク発生部材と、手動駆動と電動駆動との切換えに応じて駆動伝達系を切換える切換機構とを有し、切換機構は、摺動トルク発生部材を回転部材と共に回転させずに摺動トルク発生部材と回転部材との間の第1の摺動面を摺動させるか、又は摺動トルク発生部材を回転部材と共に回転させて摺動トルク発生部材と固定部材との間の第1の摺動面と摺動トルクが異なる第2の摺動面を摺動させるかを切換えることについて記載されている。手動時と電動時における操作トルクの負荷を別個に設定し、かつ手動駆動時の操作トルクを電動駆動時よりも高負荷とする。
【0004】
特許文献3には、可動光学部材と、鏡筒の外周に配置され、光軸回りの回転操作によって可動光学部材を駆動する操作リングと、操作リングを電動で駆動するための電動操作ユニットと、を有し、操作リングは、光軸回りの外周面に形成され、光軸方向において互いに離間した複数のギアを有し、複数のギアは互いに異なる部材上に構成され、複数のギアは運用時には常に一体的に光軸回りで回転し、電動操作ユニットのギアは、複数のギアの一つと係合し、複数のギアの他のギアは、電動操作ユニットとは光軸方向において干渉しない位置に配置されるレンズ装置について記載されている。電動操作ユニットを備えたレンズ装置において、外付けの回転操作アクセサリーを装着した場合でも、他の操作リングの操作性を損なわず、また電動操作ユニットと異なるギア仕様の種々の回転操作アクセサリーに対応可能とする。
【先行技術文献】
【特許文献】
【0005】
特開2018-77363号公報
特開2000-321479号公報
特許第6204761号公報
【発明の概要】
【発明が解決しようとする課題】
【0006】
操作リングを外部から駆動するときに、操作リングに設けられている第1歯車部と第2歯車部との何れを使用した場合においても摺動面に無理な力がかからないレンズ装置を提供する。
【課題を解決するための手段】
【0007】
本開示に技術に係る一つの態様のレンズ装置は、レンズ部と、第1歯車部と第2歯車部を有しレンズ部の移動を操作する操作リングと、レンズ鏡胴に固定され、レンズ部の光軸方向の移動を支持する固定部材とを有し、固定部材と操作リングとは互いに摺動しながら相対移動し、摺動する摺動部は、固定部材又は操作リングの少なくとも何れかに形成された凸部で摺動する構成である。
【0008】
また、操作リングは、第1歯車部を有する第1操作リングと、第2歯車部を有する第2操作リングと、第1操作リングと第2操作リングとを連結し、第1操作リング及び第2操作リングの回転を、レンズ部の光軸方向の移動に変換させる連結部材とを有し、摺動部は、固定部材又は連結部材の少なくとも何れかに形成された凸部で摺動することが好ましい。
【0009】
また、固定部材は、操作リングの回転に伴うレンズ部の回転を抑制してレンズ部の移動をガイドするガイド溝を有することが好ましい。
【0010】
また、摺動部は、第1摺動部と、第2摺動部とを有し、レンズ部の光軸に交差する方向視において、第1摺動部は、第1歯車部に対向する位置から被写体側に向かう領域に配置され、第2摺動部は、第2歯車部に対向する位置から結像側に向かう領域に配置されることが好ましい。
(【0011】以降は省略されています)
この特許をJ-PlatPat(特許庁公式サイト)で参照する
関連特許
富士フイルム株式会社
レンズ装置
3日前
富士フイルム株式会社
超音波探触子
1日前
富士フイルム株式会社
超音波探触子
1日前
富士フイルム株式会社
超音波診断装置
3日前
富士フイルム株式会社
医療用X線測定装置
3日前
富士フイルム株式会社
配線基板の製造方法
3日前
富士フイルム株式会社
ゼリーボトルハンガ
1日前
富士フイルム株式会社
洗浄消毒装置及び蓋部
6日前
富士フイルム株式会社
内視鏡の操作部及び内視鏡
6日前
富士フイルム株式会社
ズームレンズおよび撮像装置
3日前
富士フイルム株式会社
内視鏡の操作部、及び内視鏡
6日前
富士フイルム株式会社
超音波診断装置の手押しハンドル
1日前
富士フイルム株式会社
磁気共鳴撮像装置及び画像処理方法
1日前
富士フイルム株式会社
情報処理装置、方法およびプログラム
3日前
富士フイルム株式会社
情報処理装置、及び情報処理プログラム
1日前
富士フイルム株式会社
情報処理装置、及び情報処理プログラム
1日前
富士フイルム株式会社
情報処理装置、及び情報処理プログラム
1日前
富士フイルム株式会社
画像処理装置、内視鏡システム、画像処理方法、及びプログラム
6日前
富士フイルム株式会社
焦点制御装置、焦点制御装置の作動方法、焦点制御装置の作動プログラム、並びに撮像装置
1日前
富士フイルム株式会社
光硬化性組成物、画素の製造方法、膜、光学フィルタ、固体撮像素子、画像表示装置および光重合開始剤
3日前
富士フイルム株式会社
露出制御装置、露出制御装置の作動方法、露出制御装置の作動プログラム、焦点制御装置、並びに撮像装置
3日前
富士フイルム株式会社
組成物、磁性粒子含有硬化物、磁性粒子導入基板、電子材料
3日前
富士フイルム株式会社
組成物、磁性粒子含有硬化物、磁性粒子導入基板、電子材料
3日前
富士フイルム株式会社
組成物、磁性粒子含有硬化物、磁性粒子導入基板、電子材料
3日前
富士フイルム株式会社
組成物、磁性粒子含有硬化物、磁性粒子導入基板、電子材料
3日前
富士フイルム株式会社
組成物、磁性粒子含有硬化物、磁性粒子導入基板、電子材料
3日前
富士フイルム株式会社
組成物、磁性粒子含有硬化物、磁性粒子導入基板、電子材料
3日前
富士フイルム株式会社
組成物、磁性粒子含有硬化物、磁性粒子導入基板、電子材料
3日前
富士フイルム株式会社
組成物、磁性粒子含有硬化物、磁性粒子導入基板、電子材料
3日前
カンタツ株式会社
光学系
24日前
日本精機株式会社
表示装置
29日前
日本精機株式会社
表示装置
29日前
日本精機株式会社
表示装置
1か月前
株式会社シグマ
高倍率ズームレンズ
1か月前
キヤノン株式会社
映像表示装置
13日前
住友化学株式会社
偏光板
1か月前
続きを見る
他の特許を見る