TOP
|
特許
|
意匠
|
商標
特許ウォッチ
Twitter
他の特許を見る
公開番号
2025144148
公報種別
公開特許公報(A)
公開日
2025-10-02
出願番号
2024043787
出願日
2024-03-19
発明の名称
X線管およびX線検査装置
出願人
富士フイルム株式会社
代理人
個人
,
個人
,
個人
,
個人
,
個人
主分類
H01J
35/18 20060101AFI20250925BHJP(基本的電気素子)
要約
【課題】X線の照射範囲を広げることができるX線管及びX線検査装置を提供する。
【解決手段】X線管は、側面に開口部を有し、陽極と陰極を収容するセンター外囲器と、センター外囲器の前記開口部の外側に接合された窓枠であって、開口部とは反対側に窓枠開口部を有する窓枠と、窓枠に接合される窓板リングであって、X線透過窓が接合された窓板リングと、を有し、開口部より窓枠開口部が大きい。
【選択図】 図4
特許請求の範囲
【請求項1】
側面に開口部を有し、陽極と陰極を収容するセンター外囲器と、
前記センター外囲器の前記開口部の外側に接合された窓枠であって、前記開口部とは反対側に窓枠開口部を有する窓枠と、
前記窓枠に接合される窓板リングであって、X線透過窓が接合された窓板リングと、を有し、
前記開口部より前記窓枠開口部が大きい、X線管。
続きを表示(約 700 文字)
【請求項2】
前記陽極のX線焦点が前記X線透過窓の側へオフセットされる、請求項1に記載のX線管。
【請求項3】
フランジ開口部を有するフランジ部が前記窓枠に取り付けられる、請求項1又は2に記載のX線管。
【請求項4】
前記フランジ開口部が前記窓枠開口部より大きい、請求項3に記載のX線管。
【請求項5】
前記窓枠と前記フランジ部とが一体で構成される、請求項3に記載のX線管。
【請求項6】
前記窓枠が前記センター外囲器の前記開口部の外周側に接合され、前記窓板リングが前記窓枠の内周側に接合される、請求項1又は2に記載のX線管。
【請求項7】
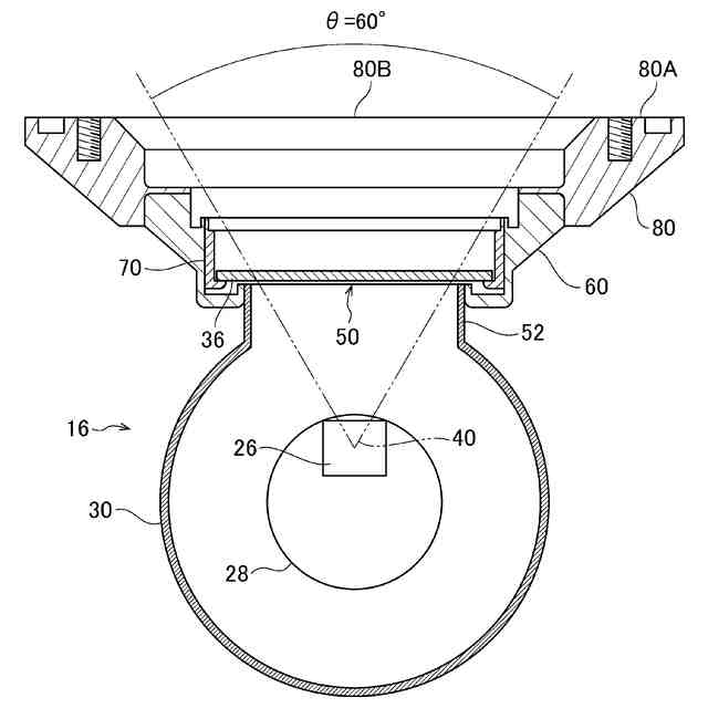
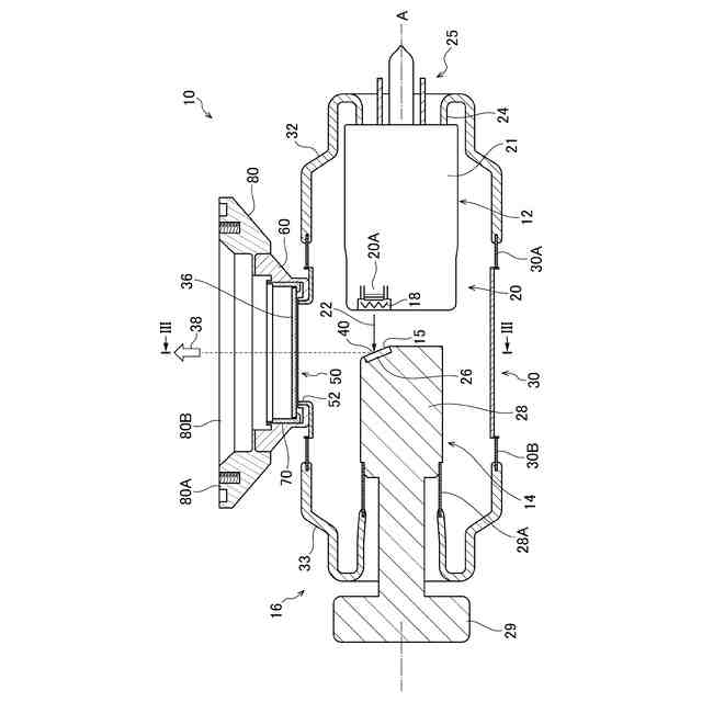
X線の照射角度が60°以上である、請求項1又は2に記載のX線管。
【請求項8】
前記センター外囲器と前記窓枠との接合位置と、前記X線透過窓と前記窓板リングとの接合位置と、前記窓枠と前記窓板リングとの接合位置が、この順で前記開口部の側から順に遠ざかる、請求項1又は2に記載のX線管。
【請求項9】
搬送される被検査品にX線を照射し、前記被検査品を透過するX線を検出することで、前記被検査品を検査するX線検査装置であって、
請求項1又は2に記載のX線管を有するX線発生源と、前記被検査品に対して前記X線発生源と反対側に対向配置されるX線検出器と、を有するX線検査装置。
【請求項10】
前記X線検出器は、前記X線管の管軸に対して交差する方向に配置されるラインセンサで構成される、請求項9に記載のX線検査装置。
発明の詳細な説明
【技術分野】
【0001】
本発明は、X線管とそれを用いたX線検査装置に係り、特にX線管のX線照射角を広角度化するための技術に関する。
続きを表示(約 1,000 文字)
【背景技術】
【0002】
X線管は、非破壊検査、医療の分野など多岐の分野で用いられている。非破壊検査の分野において、X線管は、食品の異物を検査するためのX線検査装置などに搭載される。
【0003】
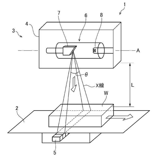
食品異物検査では検査対象物がベルトコンベア等で搬送されるため、X線検査装置では、搬送方向に直交する位置に配置されたラインセンサが使用される。すなわち、管軸に直交方向する方向のX線のみが使用される。
【0004】
例えば、特許文献1のX線検査装置に使用されるX線管は、真空外囲器と、陰極と、ターゲット面を有する陽極と、X線透過アセンブリと、を備えている。このX線管では、X線透過アセンブリは、第1接合部材と、窓枠と、ベリリウムで形成されたX線透過窓と、第1接合部材と窓枠とを接続する第2接合部材とを有している。ターゲット面とX線透過窓との相対的な位置ずれを抑制するため、第2接合部材を第1接合部材と窓枠より可とう性を高くしている。
【先行技術文献】
【特許文献】
【0005】
特開2020-087727号公報
【発明の概要】
【発明が解決しようとする課題】
【0006】
ところで、食品異物検査等の非破壊検査では、施設内の設置スペースが限られているためX線検査装置の小型化、X線管を含むX線発生源の小型化が望まれている。そのため、X線管のX線の照射範囲を拡大することが望まれているが、特許文献1の構造では、照射範囲を拡大することは困難であった。
【0007】
本発明は、このような事情に鑑みてなされたもので、X線の照射範囲を広げることができるX線管及びX線検査装置を提供することを目的とする。
【課題を解決するための手段】
【0008】
第1態様のX線管は、側面に開口部を有し、陽極と陰極を収容するセンター外囲器と、センター外囲器の開口部の外側に接合された窓枠であって、開口部とは反対側に窓枠開口部を有する窓枠と、窓枠に接合される窓板リングであって、X線透過窓が接合された窓板リングと、を有し、開口部より窓枠開口部が大きい。
【0009】
第2態様のX線管は、第1態様において、陽極のX線焦点がX線透過窓の側へオフセットされる。
【0010】
第3態様のX線管は、第1態様又は第2態様において、フランジ開口部を有するフランジ部が窓枠に取り付けられる。
(【0011】以降は省略されています)
この特許をJ-PlatPat(特許庁公式サイト)で参照する
関連特許
富士フイルム株式会社
内視鏡
6日前
富士フイルム株式会社
積層体
今日
富士フイルム株式会社
レンズ装置
9日前
富士フイルム株式会社
超音波診断器
5日前
富士フイルム株式会社
超音波探触子
7日前
富士フイルム株式会社
超音波探触子
7日前
富士フイルム株式会社
X線CT装置
19日前
富士フイルム株式会社
超音波診断装置
5日前
富士フイルム株式会社
超音波診断装置
5日前
富士フイルム株式会社
超音波診断装置
5日前
富士フイルム株式会社
超音波診断装置
5日前
富士フイルム株式会社
超音波診断装置
1日前
富士フイルム株式会社
超音波診断装置
20日前
富士フイルム株式会社
超音波診断装置
9日前
富士フイルム株式会社
医療機器用カート
6日前
富士フイルム株式会社
計測装置及び方法
1日前
富士フイルム株式会社
医療用X線測定装置
9日前
富士フイルム株式会社
配線基板の製造方法
9日前
富士フイルム株式会社
ゼリーボトルハンガ
7日前
富士フイルム株式会社
洗浄消毒装置及び蓋部
12日前
富士フイルム株式会社
内視鏡の操作部及び内視鏡
12日前
富士フイルム株式会社
X線管およびX線検査装置
6日前
富士フイルム株式会社
マウント装置及び撮像装置
今日
富士フイルム株式会社
ズームレンズおよび撮像装置
9日前
富士フイルム株式会社
PCCT装置とその制御方法
20日前
富士フイルム株式会社
内視鏡の操作部、及び内視鏡
12日前
富士フイルム株式会社
組成物、硬化物および光学部材
5日前
富士フイルム株式会社
超音波診断装置の手押しハンドル
7日前
富士フイルム株式会社
画像処理装置、方法及びプログラム
13日前
富士フイルム株式会社
磁気共鳴撮像装置及び画像処理方法
7日前
富士フイルム株式会社
画像処理装置、方法およびプログラム
5日前
富士フイルム株式会社
撮影制御装置、方法およびプログラム
12日前
富士フイルム株式会社
データ処理装置、方法及びプログラム
13日前
富士フイルム株式会社
画像処理装置、方法およびプログラム
今日
富士フイルム株式会社
情報処理装置、方法およびプログラム
9日前
富士フイルム株式会社
情報処理装置、及び情報処理プログラム
7日前
続きを見る
他の特許を見る