TOP
|
特許
|
意匠
|
商標
特許ウォッチ
Twitter
他の特許を見る
公開番号
2025139334
公報種別
公開特許公報(A)
公開日
2025-09-26
出願番号
2024038211
出願日
2024-03-12
発明の名称
半導体装置とその製造方法
出願人
株式会社デンソー
代理人
弁理士法人 快友国際特許事務所
主分類
H10D
12/00 20250101AFI20250918BHJP()
要約
【課題】ダイオードの良好な特性を得る。
【解決手段】
半導体装置は、半導体基板、下部電極、ゲート電極、を有する。半導体基板は、バッファ領域と半導体基板の下面との間に配置されている、p型のコレクタ領域、n型のカソード領域、n型の特定領域、を有する。半導体装置は、トランジスタ部と、ダイオード部と、を備えている。トランジスタ部は、ゲート電圧に応じて電流が流れる。ダイオード部は、順バイアス電圧に応じて電流が流れる。コレクタ領域は、トランジスタ部の少なくとも一部に配置され、少なくとも一部が半導体基板の下面に表出している。カソード領域は、ダイオード部の少なくとも一部に配置され、半導体基板の下面に表出している。特定領域は、ダイオード部の少なくとも一部に配置されているとともに、カソード領域とバッファ領域との間に配置されている。特定領域のp型不純物濃度は、コレクタ領域のp型不純物濃度よりも低い。
【選択図】図1
特許請求の範囲
【請求項1】
半導体装置(10)であって、
半導体基板(12)と、
前記半導体基板の下面(12b)に接する下部電極(14)と、
ゲート電極(20)と、
を有し、
前記半導体基板が、
n型のバッファ領域(44)と、
前記バッファ領域よりもn型不純物濃度が低いn型領域であり、前記バッファ領域に対して上側から接しているドリフト領域(46)と、
前記ドリフト領域に接するp型の第1領域(48、50)と、
前記第1領域によって前記ドリフト領域から分離されているn型の第2領域(52、54)と、
前記バッファ領域と前記半導体基板の下面との間に配置されている、p型のコレクタ領域(40)と、n型のカソード領域(42)と、前記カソード領域よりもn型不純物濃度が低いn型の特定領域(41)と、
を有し、
前記ゲート電極が、前記第1領域に対してゲート絶縁膜を介して対向しており、
前記半導体基板の上面に垂直な方向から見たときに、前記半導体装置は、トランジスタ部(30)と、ダイオード部(32)と、を備えており、
前記トランジスタ部は、前記ゲート電極に印加されるゲート電圧に応じて電流が流れる部位であり、
前記ダイオード部は、前記第1領域と前記下部電極との間に印加される順バイアス電圧に応じて電流が流れる部位であり、
前記コレクタ領域(40)は、前記トランジスタ部の少なくとも一部に配置されているとともに、その少なくとも一部が前記半導体基板の下面に表出しており、
前記カソード領域(42)は、前記ダイオード部の少なくとも一部に配置されているとともに、前記半導体基板の下面に表出しており、
前記特定領域(41)は、前記ダイオード部の少なくとも一部に配置されているとともに、前記カソード領域と前記バッファ領域との間に配置されており、
前記特定領域のp型不純物濃度は、前記コレクタ領域のp型不純物濃度よりも低い、
半導体装置。
続きを表示(約 2,300 文字)
【請求項2】
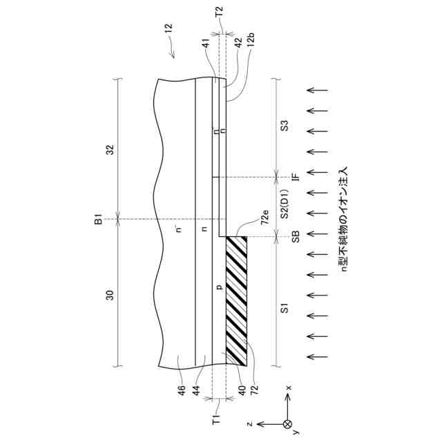
前記半導体基板の下面に平行な平面方向において、前記コレクタ領域は、前記半導体基板の下面に表出している第1区間(S1)と、前記バッファ領域と前記カソード領域との間に配置されている第2区間(S2)と、を備えており、
前記第1区間と前記第2区間とは連続しており、
前記第2区間の前記平面方向における端部は、前記特定領域に接している、請求項1に記載の半導体装置。
【請求項3】
前記第2区間の前記端部と前記特定領域とが接している界面(IF)は、前記ダイオード部内に位置している、請求項2に記載の半導体装置。
【請求項4】
前記第1区間と前記第2区間との境界(B1)から、前記界面までの距離(D1)は、前記コレクタ領域の前記半導体基板の下面に垂直な方向の厚さ(T1)よりも大きい、請求項3に記載の半導体装置。
【請求項5】
前記カソード領域は、互いに間隔をおいて前記ダイオード部に複数配置されており、
互いに隣接する前記カソード領域の間の前記半導体基板の下面には、前記特定領域が表出している、請求項1-4の何れか1項に記載の半導体装置。
【請求項6】
前記半導体基板の下面から内部へ向かう深さ方向における、前記コレクタ領域のp型不純物の濃度分布曲線は、深さ中心位置(DP)と、積分中心位置(IP)と、を備えており、
前記深さ中心位置は、前記下面から前記濃度分布曲線の深さ方向の端部までの距離の半分の深さ位置であり、
前記積分中心位置は、前記濃度分布曲線の全区間の積分値が半分になる深さ位置であり、
前記積分中心位置は前記深さ中心位置よりも内部側に位置している、
請求項1に記載の半導体装置。
【請求項7】
半導体装置の製造方法であって、
前記半導体装置は、
半導体基板(12)と、
前記半導体基板の下面に接する下部電極(14)と、
ゲート電極(20)と、
を有し、
前記半導体基板が、
n型のバッファ領域(44)と、
前記バッファ領域よりもn型不純物濃度が低いn型領域であり、前記バッファ領域に対して上側から接しているドリフト領域(46)と、
前記ドリフト領域に接するp型の第1領域(48、50)と、
前記第1領域によって前記ドリフト領域から分離されているn型の第2領域(52、54)と、
前記バッファ領域と前記半導体基板の下面との間に配置されている、p型のコレクタ領域(40)と、n型のカソード領域(42)と、前記カソード領域よりもn型不純物濃度が低いn型の特定領域(41)と、
を有し、
前記ゲート電極が、前記第1領域に対してゲート絶縁膜を介して対向しており、
前記半導体基板の上面に垂直な方向から見たときに、前記半導体装置は、トランジスタ部(30)と、ダイオード部(32)と、を備えており、
前記トランジスタ部は、前記ゲート電極に印加されるゲート電圧に応じて電流が流れる部位であり、
前記ダイオード部は、前記第1領域と前記下部電極との間に印加される順バイアス電圧に応じて電流が流れる部位であり、
前記コレクタ領域(40)は、前記トランジスタ部の少なくとも一部に配置されているとともに、その少なくとも一部が前記半導体基板の下面に表出しており、
前記カソード領域(42)は、前記ダイオード部の少なくとも一部に配置されているとともに、前記半導体基板の下面に表出しており、
前記特定領域(41)は、前記ダイオード部の少なくとも一部に配置されているとともに、前記カソード領域と前記バッファ領域との間に配置されており、
前記製造方法は、
前記半導体基板の下面の前記コレクタ領域に対応する範囲に、p型不純物を選択的に注入する第1注入工程と、
前記半導体基板の下面の前記カソード領域に対応する範囲に、n型不純物を選択的に注入する第2注入工程と、
を有し、
前記第2注入工程で注入される前記n型不純物の前記半導体基板の下面からの深さは、前記第1注入工程で注入される前記p型不純物の前記半導体基板の下面からの深さよりも小さい、
製造方法。
【請求項8】
前記第1注入工程は、
前記半導体基板の下面に、前記ダイオード部の少なくとも一部を覆う第1マスクを形成する工程と、
前記第1マスクを介して前記p型不純物を注入する工程と、
を備えており、
前記第2注入工程は、
前記半導体基板の下面に、前記トランジスタ部の少なくとも一部を覆う第2マスクを形成する工程と、
前記第2マスクを介して前記n型不純物を注入する工程と、
を備えており、
前記第1マスクの開口領域と前記第2マスクの開口領域とは、一部が互いに重複している、請求項7に記載の製造方法。
【請求項9】
前記第1マスクの端部位置は、前記ダイオード部内に位置している、請求項8に記載の製造方法。
【請求項10】
前記第1マスクの端部位置と前記第2マスクの端部位置との距離(D1)は、前記第1注入工程で注入される前記p型不純物の注入深さ(T1)よりも大きい、請求項9に記載の製造方法。
(【請求項11】以降は省略されています)
発明の詳細な説明
【技術分野】
【0001】
本明細書に開示の技術は、半導体装置とその製造方法に関する。
続きを表示(約 3,000 文字)
【0002】
特許文献1に開示のIGBT(insulated gate bipolar transistor)は、p型のコレクタ領域とn型のバッファ領域(フィールドストップ層)を有している。コレクタ領域は、半導体基板の下面を含む範囲に配置されており、下部電極に接している。バッファ領域は、コレクタ領域に対して上側から接している。特許文献1では、バッファ領域の近傍の位置においてコレクタ領域内のp型不純物濃度を高くすることにより、IGBTの短絡耐量の向上を図っている。
【先行技術文献】
【特許文献】
【0003】
特開2020-043301号公報
【発明の概要】
【発明が解決しようとする課題】
【0004】
IGBTに隣接してダイオードが設けられた半導体素子が知られている。この種の半導体装置は、RC-IGBT(reverse conducting IGBT)と呼ばれる場合がある。RC-IGBTでは、IGBTのコレクタ領域に隣接して、ダイオードのカソード領域(すなわち、n型領域)が設けられている。RC-IGBTにおいて上述したコレクタ領域を形成する場合、例えば、以下のような工程が実施される。まず、コレクタ領域とカソード領域に相当する範囲に、p型不純物を注入する。次に、カソード領域に相当する範囲に対して、p型不純物よりも高濃度にn型不純物を注入する。これにより、n型のカソード領域を形成する。しかしながら、この方法では、カソード領域とバッファ領域の間にp型領域が残存する場合がある。このようにカソード領域とバッファ領域の間にp型領域が残存すると、ダイオードにおいて所望の特性を得ることができない。本明細書では、RC-IGBTにおいて、ダイオードの良好な特性を得る技術を提案する。
【課題を解決するための手段】
【0005】
本明細書が開示する半導体装置(10)は、半導体基板(12)と、半導体基板の下面(12b)に接する下部電極(14)と、ゲート電極(20)と、を有する。半導体基板が、n型のバッファ領域(44)と、バッファ領域よりもn型不純物濃度が低いn型領域であり、バッファ領域に対して上側から接しているドリフト領域(46)と、ドリフト領域に接するp型の第1領域(48、50)と、第1領域によってドリフト領域から分離されているn型の第2領域(52、54)と、バッファ領域と半導体基板の下面との間に配置されている、p型のコレクタ領域(40)と、n型のカソード領域(42)と、カソード領域よりもn型不純物濃度が低いn型の特定領域(41)と、を有する。ゲート電極が、第1領域に対してゲート絶縁膜を介して対向している。半導体基板の上面に垂直な方向から見たときに、半導体装置は、トランジスタ部(30)と、ダイオード部(32)と、を備えている。トランジスタ部は、ゲート電極に印加されるゲート電圧に応じて電流が流れる部位である。ダイオード部は、第1領域と下部電極との間に印加される順バイアス電圧に応じて電流が流れる部位である。コレクタ領域(40)は、トランジスタ部の少なくとも一部に配置されているとともに、その少なくとも一部が半導体基板の下面に表出している。カソード領域(42)は、ダイオード部の少なくとも一部に配置されているとともに、半導体基板の下面に表出している。特定領域(41)は、ダイオード部の少なくとも一部に配置されているとともに、カソード領域とバッファ領域との間に配置されている。特定領域のp型不純物濃度は、コレクタ領域のp型不純物濃度よりも低い。
【0006】
この構成によれば、特定領域を、ダイオード部の少なくとも一部において、カソード領域とバッファ領域との間に配置することができる。特定領域は、そのp型不純物濃度が、コレクタ領域のp型不純物濃度よりも低い領域である。そして特定領域は、n型の領域である。したがって、下部電極からバッファ領域までの深さ範囲に、n型の特定領域を配置することができる。これにより、ダイオード部の少なくとも一部において、カソード領域とバッファ領域の間にp型領域が存在していない構造を実現することができる。よって、ダイオードの良好な特性を得ることが可能となる。
【0007】
また、本明細書は、半導体装置の製造方法を提案する。この製造方法で製造される半導体装置は、半導体基板(12)と、半導体基板の下面に接する下部電極(14)と、ゲート電極(20)と、を有する。半導体基板が、n型のバッファ領域(44)と、バッファ領域よりもn型不純物濃度が低いn型領域であり、バッファ領域に対して上側から接しているドリフト領域(46)と、ドリフト領域に接するp型の第1領域(48、50)と、第1領域によってドリフト領域から分離されているn型の第2領域(52、54)と、バッファ領域と半導体基板の下面との間に配置されている、p型のコレクタ領域(40)と、n型のカソード領域(42)と、カソード領域よりもn型不純物濃度が低いn型の特定領域(41)と、を有する。ゲート電極が、第1領域に対してゲート絶縁膜を介して対向している。半導体基板の上面に垂直な方向から見たときに、半導体装置は、トランジスタ部(30)と、ダイオード部(32)と、を備えている。トランジスタ部は、ゲート電極に印加されるゲート電圧に応じて電流が流れる部位である。ダイオード部は、第1領域と下部電極との間に印加される順バイアス電圧に応じて電流が流れる部位である。コレクタ領域(40)は、トランジスタ部の少なくとも一部に配置されているとともに、その少なくとも一部が半導体基板の下面に表出している。カソード領域(42)は、ダイオード部の少なくとも一部に配置されているとともに、半導体基板の下面に表出している。特定領域(41)は、ダイオード部の少なくとも一部に配置されているとともに、カソード領域とバッファ領域との間に配置されている。製造方法は、半導体基板の下面のコレクタ領域に対応する範囲に、p型不純物を選択的に注入する第1注入工程と、半導体基板の下面のカソード領域に対応する範囲に、n型不純物を選択的に注入する第2注入工程と、を有する。第2注入工程で注入されるn型不純物の半導体基板の下面からの深さは、第1注入工程で注入されるp型不純物の半導体基板の下面からの深さよりも小さい。
【0008】
なお、第1注入工程および第2注入工程は、どのような順序で実施してもよい。
【0009】
この構成によれば、良好なダイオード特性を有する半導体装置を製造できる。
【図面の簡単な説明】
【0010】
実施例1の半導体装置の断面図。
半導体基板12の下面12bの平面図。
図1のIII-III線における濃度分布曲線。
図1のIV-IV線における濃度分布曲線
図1のV-V線における濃度分布曲線。
実施例1の半導体装置の製造方法の説明図。
実施例1の半導体装置の製造方法の説明図。
実施例2のダイオード部32の平面図。
図8のIX-IX線における断面図。
【発明を実施するための形態】
【実施例】
(【0011】以降は省略されています)
この特許をJ-PlatPat(特許庁公式サイト)で参照する
関連特許
株式会社デンソー
接合体
12日前
株式会社デンソー
ステータ
13日前
株式会社デンソー
ステータ
13日前
株式会社デンソーエレクトロニクス
発音装置
2日前
株式会社デンソー
電子装置
2日前
株式会社デンソー
レーダ装置
2日前
株式会社デンソー
電圧変換回路
13日前
株式会社デンソー
電子制御装置
2日前
株式会社デンソー
制御システム
5日前
株式会社デンソー
ステータコア
5日前
株式会社デンソー
フィルタ回路
6日前
株式会社デンソー
電力変換装置
6日前
株式会社デンソー
電波吸収装置
2日前
株式会社デンソー
光位相変調器
12日前
株式会社デンソー
通信システム
2日前
株式会社デンソー
電子制御装置
13日前
株式会社デンソー
電気化学セル
2日前
株式会社デンソー
画像符号化装置
今日
株式会社デンソー
ゲート駆動装置
12日前
株式会社デンソー
インバータ装置
14日前
株式会社デンソーエレクトロニクス
車両用音出力装置
今日
株式会社デンソーテン
電源制御システム
5日前
株式会社デンソーウェーブ
ロボットの操作装置
2日前
株式会社デンソーウェーブ
ロボットの操作装置
2日前
株式会社デンソーウェーブ
ロボットの操作装置
2日前
株式会社デンソー
巻線界磁型回転電機
2日前
株式会社デンソー
巻線界磁型回転電機
2日前
株式会社デンソーウェーブ
ロボットの操作装置
2日前
株式会社デンソー
巻線界磁型回転電機
2日前
株式会社デンソーウェーブ
ロボットの操作装置
2日前
株式会社デンソーウェーブ
ロボットの操作装置
2日前
株式会社デンソーウェーブ
ロボットの操作装置
今日
株式会社デンソーウェーブ
ロボットの操作装置
今日
株式会社デンソーウェーブ
ロボットの操作装置
今日
株式会社デンソー
電力変換モジュール
12日前
株式会社デンソーウェーブ
ロボットの操作装置
2日前
続きを見る
他の特許を見る