TOP
|
特許
|
意匠
|
商標
特許ウォッチ
Twitter
他の特許を見る
10個以上の画像は省略されています。
公開番号
2025139073
公報種別
公開特許公報(A)
公開日
2025-09-26
出願番号
2024037810
出願日
2024-03-12
発明の名称
コントローラ、及び、監視システム
出願人
株式会社東京精密
代理人
スプリング弁理士法人
主分類
G01D
21/00 20060101AFI20250918BHJP(測定;試験)
要約
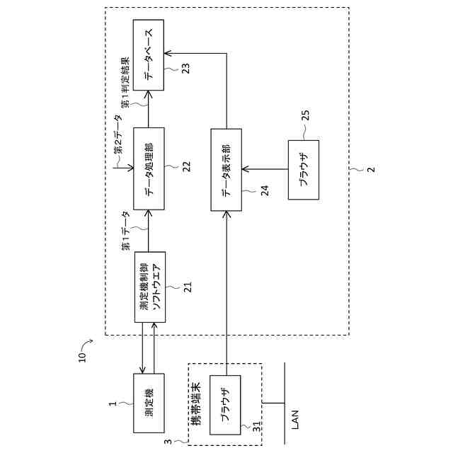
【課題】接続された測定機の状態をより正確に把握可能なコントローラの提供。
【解決手段】 測定機1に接続され、前記測定機1の制御を行うコントローラ10であって、前記測定機の稼働状態を反映する第1データを、共通する時刻情報により関連付けられた前記コントローラの状態を表す情報により分類して、第1判定結果を得る、データ処理部22を備える、コントローラ。
【選択図】図1
特許請求の範囲
【請求項1】
測定機に接続され、前記測定機の制御を行うコントローラであって、
前記測定機の稼働状態を反映する第1データを、共通する時刻情報により関連付けられた前記コントローラの状態を表す情報により分類して、第1判定結果を得る、データ処理部を備える、コントローラ。
続きを表示(約 540 文字)
【請求項2】
前記コントローラの状態を表す情報は、前記コントローラが操作中であるか否かの第2判定結果である、請求項1に記載のコントローラ。
【請求項3】
前記データ処理部は、前記コントローラのグラフィカルユーザインタフェースへの入力イベントの検出を表す情報に基づき、前記第2判定結果を得る、請求項2に記載のコントローラ。
【請求項4】
前記第1データは、前記測定機の稼働状態を予め定められた基準に従い分類したものである、請求項1に記載のコントローラ。
【請求項5】
前記第1データの分類には、少なくとも前記測定機が待機中であることを反映する分類が含まれる、請求項4に記載のコントローラ。
【請求項6】
前記第1判定結果には、前記測定機が待機中であることを反映する分類を、前記コントローラの状態を表す情報により、更に分類したものが含まれる、請求項5に記載のコントローラ。
【請求項7】
更に、前記第1判定結果を出力する、データ表示部を備える、請求項1に記載のコントローラ。
【請求項8】
請求項1乃至7のいずれか1項に記載のコントローラと、前記測定機とを備える、監視システム。
発明の詳細な説明
【技術分野】
【0001】
本開示は、コントローラ、及び、監視システムに関する。
続きを表示(約 1,400 文字)
【背景技術】
【0002】
製造機に設けられたセンサの検出結果に基づいて、製造機が稼働中であるか否かを判定する製造機の稼働監視システムが知られている(例えば、特許文献1参照)。
【先行技術文献】
【特許文献】
【0003】
特開2022-76660号公報
【発明の概要】
【発明が解決しようとする課題】
【0004】
一般に、製造機は、コントローラ(制御コンピュータ)により自動制御されることがある。しかし、特許文献1に記載された製造機の稼働監視システムでは、製造機が稼働中であるか否かのみが判定されている。言い換えれば、製造機を制御するコントローラの状態は、判定結果には、反映されない。コントローラの状態とは、例えば、オペレータ(作業者)による操作中であるか否か等である。自動制御の製造機は、コントローラと一体として運用される以上、より効率的な製造機の運用には、製造機の状態のみの監視では不十分だった。
【0005】
コンピュータ制御の測定機についても同様である。測定機は、コントローラ(制御コンピュータ)のメモリに記憶されたプログラムをプロセッサが実行することで、所定の測定を実施したり、結果を解析したりする。従来技術を適用して、測定機が稼働しているかを判断するには、例えば、測定機において測定プログラムが実行されているかを検知すればよい。測定プログラムが実行されていなければ、単純に考えれば、新たな測定を実行可能であるといえる。しかし、実際には、測定プログラムが実行されていなくても(測定機が稼働していなくても)、オペレータによるコントローラの操作中であったりして、実際には、(新たな)測定プログラムを直ちには実行できない状態であることもある。すなわち、コンピュータ制御の測定機においては、測定機の状態だけを監視しても、正確な状態を把握することはできなかった。測定機の状態を正確に把握できないことは、測定機の遠隔操作等の効率向上を阻害する要因の一つにもなっていた。
【0006】
本開示は、従来技術が有する課題のいずれかを解決し得る。本開示は、接続された測定機の状態をより正確に把握可能なコントローラを提供し得る。
【課題を解決するための手段】
【0007】
本開示の第1のコントローラは、測定機に接続され、前記測定機の制御を行うコントローラであって、前記測定機の稼働状態を反映する第1データを、共通する時刻情報により関連付けられた前記コントローラの状態を表す情報により分類して、第1判定結果を得る、データ処理部を備える、コントローラである。
【0008】
本開示の第2のコントローラは、第1のコントローラにおいて、前記コントローラの状態を表す情報は、前記コントローラが操作中であるか否かの第2判定結果である、コントローラである。
【0009】
本開示の第3のコントローラは、第2のコントローラにおいて、前記データ処理部は、前記コントローラのグラフィカルユーザインタフェースへの入力イベントの検出を表す情報に基づき、前記第2判定結果を得る、コントローラである。
【0010】
本開示の第4のコントローラは、第1のコントローラにおいて、前記第1データは、前記測定機の稼働状態を予め定められた基準に従い分類したものである、コントローラである。
(【0011】以降は省略されています)
この特許をJ-PlatPat(特許庁公式サイト)で参照する
関連特許
株式会社東京精密
加工装置
15日前
株式会社東京精密
加工装置
1日前
株式会社東京精密
プローバ
1日前
株式会社東京精密
プローバ
2日前
株式会社東京精密
プローバ
5日前
株式会社東京精密
加工装置
15日前
株式会社東京精密
電池検査装置
5日前
株式会社東京精密
校正方法及び校正装置
1日前
株式会社東京精密
内径測定装置及びそのシステム
1日前
株式会社東京精密
測定装置及び移動体の制御方法
5日前
株式会社東京精密
測定装置及び移動体の制御方法
5日前
株式会社東京精密
測定装置及び移動体の制御方法
5日前
株式会社東京精密
測定装置及び移動体の制御方法
5日前
株式会社東京精密
測定機の管理方法及び管理装置
5日前
株式会社東京精密
コントローラ、及び、監視システム
8日前
株式会社東京精密
自己位置推定装置及び自己位置推定方法
1日前
株式会社東京精密
自己位置推定装置及び自己位置推定方法
1日前
株式会社東京精密
レーザー加工装置及びレーザー加工方法
1日前
株式会社東京精密
CMP装置およびその研磨温度制御方法
1日前
株式会社東京精密
基板加工装置及び加工済基板の製造方法
1日前
株式会社東京精密
診断装置及び診断方法並びに針跡検査装置
1日前
株式会社東京精密
エッチングシステム、及び、エッチング方法
8日前
株式会社東京精密
CMP装置及びCMP装置を用いた研磨済ワークの製造方法
3日前
株式会社東京精密
自己位置推定装置及び自己位置推定方法並びにカメラ相対位置調整方法
1日前
株式会社東京精密
ウェーハ試験装置のチャックの表面処理方法及びウェーハ試験装置のチャック
5日前
株式会社東京精密
ワーク加工装置及びワーク加工方法
4日前
個人
計量スプーン
25日前
個人
微小振動検出装置
1か月前
株式会社イシダ
X線検査装置
1か月前
日本精機株式会社
位置検出装置
3日前
日本精機株式会社
位置検出装置
3日前
日本精機株式会社
位置検出装置
3日前
大和製衡株式会社
組合せ秤
8日前
大和製衡株式会社
組合せ秤
8日前
アズビル株式会社
圧力センサ
2日前
株式会社東芝
センサ
1か月前
続きを見る
他の特許を見る