TOP
|
特許
|
意匠
|
商標
特許ウォッチ
Twitter
他の特許を見る
10個以上の画像は省略されています。
公開番号
2025145430
公報種別
公開特許公報(A)
公開日
2025-10-03
出願番号
2024045606
出願日
2024-03-21
発明の名称
自己位置推定装置及び自己位置推定方法並びにカメラ相対位置調整方法
出願人
株式会社東京精密
代理人
個人
,
個人
,
個人
,
個人
主分類
G01C
15/00 20060101AFI20250926BHJP(測定;試験)
要約
【課題】広角レンズを使用することなく自己位置推定の精度を向上させることが可能な自己位置推定装置及び自己位置推定方法を提供する。
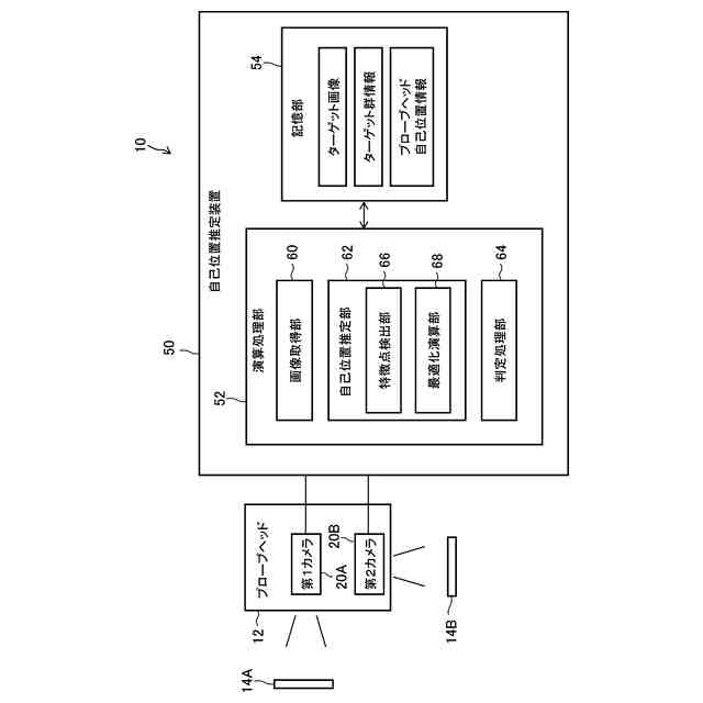
【解決手段】自己位置推定装置50は、プローブヘッド12に搭載され互いに異なる方向を撮影方向とする複数のカメラ20A、20Bを用いて、それぞれターゲット群14A、14Bを撮影した複数の画像を取得する画像取得部60と、複数の画像に基づき、プローブヘッド12の位置及び姿勢を検出する自己位置推定部62と、を備える。
【選択図】図1
特許請求の範囲
【請求項1】
プローブヘッドに搭載され互いに異なる方向を撮影方向とする複数のカメラを用いて、それぞれターゲット群を撮影した複数の画像を取得する画像取得部と、
前記複数の画像に基づき、前記プローブヘッドの位置及び姿勢を検出する自己位置推定部と、
を備える自己位置推定装置。
続きを表示(約 690 文字)
【請求項2】
前記自己位置推定部は、
前記複数の画像から前記ターゲット群の各ターゲットの位置を示す特徴点を検出する特徴点検出部と、
前記特徴点検出部で検出された各前記特徴点を用いて、前記ターゲット群における前記各ターゲットの再投影誤差が最小となる前記プローブヘッドの位置及び姿勢を最適化演算により求める最適化演算部と、
を有する請求項1に記載の自己位置推定装置。
【請求項3】
前記複数のカメラの撮影方向は互いに直交している、
請求項1又は2に記載の自己位置推定装置。
【請求項4】
前記カメラの数は2つである、
請求項3に記載の自己位置推定装置。
【請求項5】
プローブヘッドに搭載され互いに異なる方向を撮影方向とする複数のカメラを用いて、それぞれターゲット群を撮影した複数の画像を取得する画像取得ステップと、
前記複数の画像に基づき、前記プローブヘッドの位置及び姿勢を検出する自己位置推定ステップと、
を含む自己位置推定方法。
【請求項6】
プローブヘッドに搭載され互いに異なる方向を撮影方向とする複数のカメラを用いて、それぞれターゲット群を撮影した複数の画像を取得する画像取得ステップと、
前記複数の画像に基づき、前記複数のカメラの相対位置を検出する相対位置検出ステップと、
前記相対位置検出ステップで検出した前記相対位置に基づき、前記複数のカメラの位置及び姿勢を調整する調整ステップと、
を含むカメラ相対位置調整方法。
発明の詳細な説明
【技術分野】
【0001】
本発明は、プローブヘッドの自己位置を推定可能な自己位置推定装置及び自己位置推定方法並びにカメラ相対位置調整方法に関する。
続きを表示(約 1,600 文字)
【背景技術】
【0002】
従来より、ポータブル型の三次元座標測定機(CMM:Coordinate Measuring Machine)をロボットに持たせて、大物ワークの測定を自動で行うことが行われている。数十μm程度の精度要求に対しては、ポータブル型の三次元座標測定機にて要求を満足しつつあるが、十μm以下の高精度要求においてはブリッジ型の三次元座標測定機で対応しているのが現状である。
【0003】
また、数十μm程度の精度を実現するための技術として、レーザトラッカやマーカを利用した測定方法が知られている(例えば、特許文献1参照)。これらは、ベースステーションに仰角と方位角の首振り機能を備えており、さらに距離センサ又はカメラを備えて測定ヘッドの距離や姿勢を計算する。この測定方法によれば、首振り機構の可動範囲や距離センサの測長範囲が長いため、広範囲での測定が可能となる。
【0004】
しかしながら、レーザトラッカやマーカなどを利用した測定方法では、主に首振り機構の角度精度の限界により、ベースステーションと測定ヘッドの距離が大きくなるに従い測定精度が悪化する傾向になる。
【0005】
一方、三次元空間上の位置が既知のターゲットをカメラで撮影した画像からカメラの自己位置(位置及び姿勢)を検出する方法が知られている(例えば、特許文献2参照)。この方法によれば、各ターゲットの三次元空間上の位置と、撮影された画像上の各ターゲットの位置とを関連付けて計算を行うことにより、比較的単純な機構で高精度(5μm以下)を得やすいメリットがある。
【先行技術文献】
【特許文献】
【0006】
特開2020-148515号公報
特開2022-30807号公報
【発明の概要】
【発明が解決しようとする課題】
【0007】
ところで、カメラを用いてターゲットを撮影した画像から自己位置を検出する方法においては、以下に説明するように、カメラにより撮影された画像上のターゲットの位置を示す座標(ターゲット座標)に誤差が存在すると、その誤差の影響により、カメラの主点(カメラ座標系の原点)にばらつきが生じ、自己位置の推定精度を招く要因となる。
【0008】
図9から図11は、三次元空間上のターゲット100がカメラの画像平面102に投影される様子を示した図である。図9は、画像平面102上のターゲット座標(画像平面102に投影されたターゲット104の位置を示す座標)に誤差がない場合を示している。図10は、画像平面102上のターゲット座標に誤差がある場合を示している。図11は、広角レンズを用いると画像平面102上のターゲット座標の誤差が低減される様子を示している。
【0009】
上記方法では、三次元空間上のターゲット100の位置を示す座標(三次元座標)と、画像平面102上のターゲット座標との対応関係から、カメラ主点106を求めることができる。この場合、図9に示すように、画像平面102上のターゲット座標に誤差がない場合は、カメラ主点106の位置を示す三次元座標も誤差なく一点に定まる。
【0010】
しかしながら、図10に示すように、画像平面102上のターゲット座標に誤差がある場合は、その誤差を取りうる範囲に応じて、上記対応関係から求められるカメラ主点106の位置がばらつくことになる。すなわち、画像平面102上のターゲット座標の誤差の影響により、カメラ主点106の位置は、図9においてハッチングで示した領域に示す主点誤差範囲108においてばらつくことになる。特にカメラの撮影方向(光軸方向)が顕著に影響を受ける。
(【0011】以降は省略されています)
この特許をJ-PlatPat(特許庁公式サイト)で参照する
関連特許
株式会社東京精密
プローバ
15日前
株式会社東京精密
プローバ
1日前
株式会社東京精密
加工装置
15日前
株式会社東京精密
加工装置
1日前
株式会社東京精密
加工装置
15日前
株式会社東京精密
ロッカー
26日前
株式会社東京精密
プローバ
2日前
株式会社東京精密
プローバ
5日前
株式会社東京精密
研削装置
1か月前
株式会社東京精密
電池検査装置
5日前
株式会社東京精密
レーザ加工装置
1か月前
株式会社東京精密
スラリー供給装置
16日前
株式会社東京精密
校正方法及び校正装置
1日前
株式会社東京精密
検査装置、及び、検査方法
1か月前
株式会社東京精密
測定機の管理方法及び管理装置
5日前
株式会社東京精密
測定装置及び移動体の制御方法
5日前
株式会社東京精密
測定装置及び移動体の制御方法
5日前
株式会社東京精密
測定装置及び移動体の制御方法
5日前
株式会社東京精密
測定装置及び移動体の制御方法
5日前
株式会社東京精密
CMP装置、及び、CMP方法
1か月前
株式会社東京精密
内径測定装置及びそのシステム
1日前
株式会社東京精密
プローバ、及び、プローブ検査方法
25日前
株式会社東京精密
コントローラ、及び、監視システム
8日前
株式会社東京精密
CMP装置およびその研磨温度制御方法
1日前
株式会社東京精密
基板加工装置及び加工済基板の製造方法
1日前
株式会社東京精密
レーザー加工装置及びレーザー加工方法
1日前
株式会社東京精密
自己位置推定装置及び自己位置推定方法
1日前
株式会社東京精密
自己位置推定装置及び自己位置推定方法
1日前
株式会社東京精密
ダイシング方法およびダイシングシステム
26日前
株式会社東京精密
診断装置及び診断方法並びに針跡検査装置
1日前
株式会社東京精密
エッチングシステム、及び、エッチング方法
8日前
株式会社東京精密
スタイラス姿勢決定方法及びスタイラス姿勢決定装置
1か月前
株式会社東京精密
加工装置
1か月前
株式会社東京精密
プローバ
1か月前
株式会社東京精密
研削装置
1か月前
株式会社東京精密
光変調装置
1か月前
続きを見る
他の特許を見る