TOP
|
特許
|
意匠
|
商標
特許ウォッチ
Twitter
他の特許を見る
10個以上の画像は省略されています。
公開番号
2025142272
公報種別
公開特許公報(A)
公開日
2025-09-30
出願番号
2025125494,2024022495
出願日
2025-07-28,2019-11-20
発明の名称
ワーク加工装置及びワーク加工方法
出願人
株式会社東京精密
代理人
個人
,
個人
,
個人
,
個人
主分類
B24B
27/06 20060101AFI20250919BHJP(研削;研磨)
要約
【課題】フランジの端面の修正に伴うスループットの低下を抑えることができるワーク加工装置及びワーク加工方法を提供する。
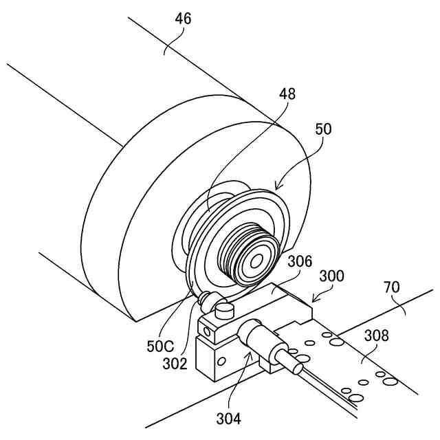
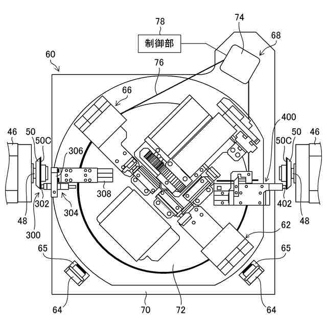
【解決手段】フランジ50の端面50Cの状態を検出するセンサ300と、フランジ50の端面50Cに砥石402を当接して端面を研削する端面修正装置400と、スピンドル48に対してブレード22を着脱するブレード着脱部62と、を有するブレード自動交換装置60と、ブレード自動交換装置60を制御する制御部78と、を有し、制御部78は、センサ300で検出した端面50Cの状態を示す振れ幅データに基づいて端面修正装置400による端面の研削を実行する、
【選択図】図5
特許請求の範囲
【請求項1】
スピンドルの先端に設けられたフランジの端面にブレードを支持し、前記スピンドルにより前記ブレードを回転させてワークに当接させることにより前記ワークを切削加工するワーク加工装置において、
前記フランジの前記端面の状態を検出する検出手段と、前記フランジの前記端面に砥石を当接して前記端面を研削する端面修正手段と、前記スピンドルに対して前記ブレードを着脱するブレード着脱手段と、を有するブレード自動交換装置と、
前記ブレード自動交換装置を制御する制御手段と、を有し、
前記制御手段は、前記検出手段で検出した前記端面の状態を示す振れ幅データに基づいて前記端面修正手段による前記端面の研削を実行する、
ワーク加工装置。
続きを表示(約 1,000 文字)
【請求項2】
前記制御手段は、前記振れ幅データが許容値を超えない場合、前記ブレード着脱手段により前記端面に研削を行うことなく前記スピンドルに新たなブレードを装着し、前記振れ幅データが前記許容値を超えた場合、前記端面修正手段により前記端面の研削を行う、
請求項1に記載のワーク加工装置。
【請求項3】
前記制御手段は、前記端面修正手段による前記端面の研削が実行された後に、前記検出手段により前記端面の状態を再検出し、前記再検出した振れ幅データが前記許容値を超えない場合、前記ブレード着脱手段により前記スピンドルに新たなブレードを装着し、前記再検出した振れ幅データが前記許容値を超えた場合、前記ブレードによる切削加工を停止する、
請求項2に記載のワーク加工装置。
【請求項4】
スピンドルの先端に設けられたフランジの端面にブレードを支持し、前記スピンドルにより前記ブレードを回転させてワークに当接させることにより前記ワークを切削加工するワーク加工装置において、前記フランジの前記端面の状態を検出する検出手段と、前記フランジの前記端面に砥石を当接して前記端面を研削する端面修正手段と、前記スピンドルに対して前記ブレードを着脱するブレード着脱手段と、を有するブレード自動交換装置と、前記ブレード自動交換装置を制御する制御手段と、を備えるワーク加工装置に適用されるワーク加工方法であって、
前記検出手段で検出した前記端面の状態を示す振れ幅データに基づいて前記端面修正手段による前記端面の研削を実行する、
ワーク加工方法。
【請求項5】
前記振れ幅データが許容値を超えない場合、前記ブレード着脱手段により前記端面に研削を行うことなく前記スピンドルに新たなブレードを装着し、
前記振れ幅データが前記許容値を超えた場合、前記端面修正手段により前記端面の研削を行う、
請求項4に記載のワーク加工方法。
【請求項6】
前記端面修正手段による前記端面の研削が実行された後に、前記検出手段により前記端面の状態を再検出し、
前記再検出した振れ幅データが前記許容値を超えない場合、前記ブレード着脱手段により前記スピンドルに新たなブレードを装着し、
前記再検出した振れ幅データが前記許容値を超えた場合、前記ブレードによる切削加工を停止する、
請求項5に記載のワーク加工方法。
発明の詳細な説明
【技術分野】
【0001】
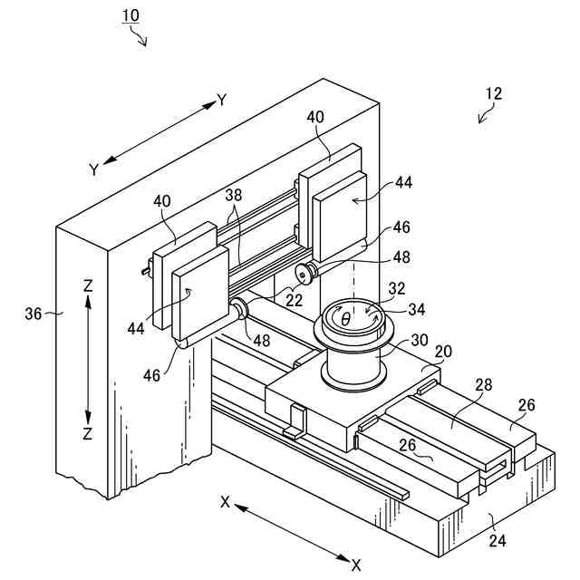
本発明はワーク加工装置に係り、特にスピンドルによってブレードを回転させて半導体ウェーハ等のワークを切削加工するワーク加工装置及びワーク加工方法に関する。
続きを表示(約 1,400 文字)
【背景技術】
【0002】
従来、半導体ウェーハ等のワークをブレードによって切削加工する装置としてダイシング装置(例えば、特許文献1参照)が知られている。このダイシング装置は、スピンドルの先端に設けられたフランジの端面にブレードを支持し、スピンドルによりブレードを回転させてワークに当接させることによりワークを切削加工する。
【0003】
ダイシング装置では、ブレードはフランジの端面に接触した状態でワークの切削が行われるため、ブレードに接触するフランジの端面が平坦ではない場合、及びスピンドルの軸線とフランジの端面とのなす角度が直角ではない場合には、ブレードの回転時にブレードがばたついて精密な加工ができなくなるという問題がある。
【0004】
そこで、特許文献2には、フランジの端面を研削砥石によって研削することにより端面修正を行う切削装置が開示されている。この切削装置は、フランジと研削砥石とのY方向の相対的移動によるフランジの端面と研削砥石との接触を検出する検出部と、フランジの端面と研削砥石との少なくともX方向及びZ方向の位置関係を調整した後に、フランジの端面と研削砥石とを互いにY方向に接近させてフランジの端面と研削砥石とが接触したことを検出部が検出することによってY方向の端面修正開始位置を決定する制御部と、を有している。
【先行技術文献】
【特許文献】
【0005】
特開2019-22936号公報
特開2011-224666号公報
【発明の概要】
【発明が解決しようとする課題】
【0006】
しかしながら、特許文献2に開示された切削装置では、フランジの端面の状態によっては端面修正が不要であるにもかかわらず端面修正が行われてしまう場合があるので、その場合にはワーク加工装置のスループットを低下させる原因になるという問題がある。
【0007】
本発明はこのような問題に鑑みて成されたものであり、フランジの端面の修正に伴うスループットの低下を抑えることができるワーク加工装置及びワーク加工方法を提供することを目的とする。
【課題を解決するための手段】
【0008】
本発明のワーク加工装置は、本発明の目的を達成するために、スピンドルの先端に設けられたフランジの端面にブレードを支持し、スピンドルによりブレードを回転させてワークに当接させることによりワークを切削加工するワーク加工装置において、フランジの端面の状態を検出する検出手段と、フランジの端面に砥石を当接して端面を研削する端面修正手段と、検出手段の検出結果に基づいて端面修正手段を制御する制御手段と、を有する。
【0009】
本発明のワーク加工装置の一形態は、検出手段は、スピンドルの軸線と端面とのなす角度、及び端面に発生した疵の状態のうち少なくとも1つの端面の状態を検出し、制御手段は、検出手段によって検出された端面の状態に基づいて端面修正手段を制御することが好ましい。
【0010】
本発明のワーク加工装置の一形態は、検出手段が端面の状態として角度を検出する場合には、制御手段は、砥石によって角度が直角となるように端面修正手段を制御することが好ましい。
(【0011】以降は省略されています)
この特許をJ-PlatPat(特許庁公式サイト)で参照する
関連特許
株式会社東京精密
ロッカー
25日前
株式会社東京精密
加工装置
14日前
株式会社東京精密
プローバ
4日前
株式会社東京精密
プローバ
1日前
株式会社東京精密
研削装置
1か月前
株式会社東京精密
加工装置
14日前
株式会社東京精密
加工装置
今日
株式会社東京精密
プローバ
今日
株式会社東京精密
プローバ
14日前
株式会社東京精密
電池検査装置
4日前
株式会社東京精密
カーフ洗浄装置
1か月前
株式会社東京精密
レーザ加工装置
1か月前
株式会社東京精密
スラリー供給装置
15日前
株式会社東京精密
校正方法及び校正装置
今日
株式会社東京精密
検査装置、及び、検査方法
1か月前
株式会社東京精密
CMP装置、及び、CMP方法
1か月前
株式会社東京精密
測定機の管理方法及び管理装置
4日前
株式会社東京精密
測定装置及び移動体の制御方法
4日前
株式会社東京精密
測定装置及び移動体の制御方法
4日前
株式会社東京精密
測定装置及び移動体の制御方法
4日前
株式会社東京精密
測定装置及び移動体の制御方法
4日前
株式会社東京精密
内径測定装置及びそのシステム
今日
株式会社東京精密
プローバ、及び、プローブ検査方法
24日前
株式会社東京精密
コントローラ、及び、監視システム
7日前
株式会社東京精密
CMP装置およびその研磨温度制御方法
今日
株式会社東京精密
基板加工装置及び加工済基板の製造方法
今日
株式会社東京精密
レーザー加工装置及びレーザー加工方法
今日
株式会社東京精密
自己位置推定装置及び自己位置推定方法
今日
株式会社東京精密
自己位置推定装置及び自己位置推定方法
今日
株式会社東京精密
診断装置及び診断方法並びに針跡検査装置
今日
株式会社東京精密
ダイシング方法およびダイシングシステム
25日前
株式会社東京精密
エッチングシステム、及び、エッチング方法
7日前
株式会社東京精密
非接触温度測定装置及び非接触温度測定方法
2か月前
株式会社東京精密
スタイラス姿勢決定方法及びスタイラス姿勢決定装置
1か月前
株式会社東京精密
加工装置
1か月前
株式会社東京精密
プローバ
1か月前
続きを見る
他の特許を見る